Electrolux EMBS2411AB 24 Inch Built-In Side Swing Microwave Oven Instruction

Installation Instructions
BEFORE YOU BEGIN
- IMPORTANT – Save these instructions for local inspector’s use.
- IMPORTANT – Observe all governing codes and ordinaces.
- Note to Installer – Be sure to leave these instructions with the Consumer.
- Note to Consumer – Keep these instructions for future reference.
- Skill level – Installation of this appliance requires basic mechanical and electrical skills.
Built-in Trim Kit
Rea d these instructions completely and carefully.
- Proper installation is the responsibility of the installer.
- Product failure due to improper installation is not covered under the Warranty.
- Unplug the microwave oven before attempting installation of this kit.
- Because the kit includes metal parts, caution should be used in handling and installation to avoid the possibility of injury.
- Do not remove permanently affixed labels, warnings, or plates from the product. This may void the warranty.
FOR YOUR SAFETY
WARNING – Before beginning the installation, switch power off at service panel and lock out to prevent being switched on accidentally. When the service cannot b e locked, securely faste n a prominent warning device, such as a tag, to the service panel.
IMPORTANT: Before installing the exhaust duct, confirm the floor is level. The level bubble should be equal distance from level guide lines.
IMPORTANT – PLEASE READ AND FOLLOW
THIS BUILT-IN KIT IS DESIGNED FOR USE ONLY WITH ELECTROLUX MICROWAVE OVENS SPECIFYING BUILT-IN KIT
QUESTIONS?
For customers in the United States call:1-800-374-4432 For customers in Canada call: 1-800-265-8352
Visit our Website at: www.electroluxappliances.com READ CAREFULLY. KEEP THESE INSTRUCTIONS.
PARTS INCLUDED IN THE KIT

- Front Frame Assembly- QTY 1
- Exhaust Duct – QTY 1
- Rail – QTY 2
- Screw A – Short Screws – QTY 11 + 3 extra
- Screw B – Long Screws – QTY 4 + 2 extra
- Rear Duct
CHOOSING A LOCATION FOR YOUR MICROWAVE OVEN IF BUILT-IN
Built-In Trim Kit allows for the installation of microwaves listed below to be built into a cabinet or wall by itself or over an electric wall oven*.
Microwave Model: EMBS2411AB
See Illustration 1 for proper location and when building in above a wall oven. Carefully follow both the wall oven installation instructions and Electrolux’s Built-in Kit instructions. If building over a wall oven, be sure the clearance between the wall oven and the microwave oven is a minimum of 3 inches.See illustration 2.
*NOTE: Trim Kit and microwave can only be built-inover an electric self-clean or non self-clean single cavity wall oven. 
CABINET OR WALL CUTOUT
Cutout Dimensions (See illustration 3)
| Height (A) Minimum 17-1/64″(432 mm) Maximum 17-1/4″ (438 mm) |
| Width (B) Minimum 24- 49/64 ” (629 mm) Maximum 25″ (635 mm) |
| 23-1/2″ (597mm) Depth (C) Min.depth with receptacle Minimum outside cutout – 22” (559mm) Min.depth with receptacle inside cutout – 23-1/2”(597mm) |
IMPORTANT: Before installing the exhaust duct, confirm the floor is level. The level bubble should be equal distance from level guide lines.
| Trim Kit Overall Dimensions | |
| 30″ | |
| Height | 18-7/64” (460mm) |
| Width | 29-55/64” (758mm) |
| Depth | 1- 5/8” (41.6mm) |
ELECTRICAL OUTLET LOCATION
Outlet should NOT be in the shaded area as indicated on Illustration 3
NOTE 1:
The floor of the opening should be constructed of plywood strong enough to support the weight of the oven and floor load (approximately 100 pounds). The floor should be level for proper operation of the oven. Be sure to check the local building code as it may require that the opening be enclosed with side, ceiling and rear partition. The proper functioning of the oven does not require the enclosure.
EXHAUST DUCT ASSEMBLY
- Draw a Central Line on floor. Place the Exhaust Duct in the opening,When the Exhaust Duct Assembly is in the opening correctly, the Center Line is in the middle of the Exhaust Duct Assembly. See Illustration 4.
- Secure the Exhaust Duct Assembly with the three screw A – short screws.
IMPORTANT: Secure screws in outer hole. 3 pcs are needed for exhaust duct assembly
IMPORTANT: Before installing the exhaust duct, confirm the floor is level. The level bubble should be equal distance from level guide lines.
- LOCATE AND INSTALL THE EXHAUST DUCT
Set Exhaust Duct into the front cabinet microwave oven cutout and center it right and left. Push back until the front flange is against the cabinet front wall. Mount the Exhaust Duct using 3 screw A – short screws.
- INSTALL THE RAILS
Disconnect the microwave oven from the receptacle. Remove everything out of the microwave oven, including packing, Owner’s Manuals, turntable and turntable support. A protective film has been applied to some microwave oven and trim kits. If applied, remove the film. Turn over the microwave oven and secure the rails to oven Base Plate by inserting 4 screw A-short screws. See Illustration 5. Be careful not to scratch the microwave oven.
- INSTALL THE REAR DUCT
- Gently return microwave oven to its upright position.
- Remove screw A-short screw.

- Align the rear duct with the back of microwave oven, as shown.

- Slide 2 tabs into the slots on the right side of the back of microwave oven.

- Use 2 screw A -short screws to secure top of rear duct to the back of microwave oven, as shown.
- A. Screw A -short screws (2)
- B. Rear duct
- C. Back of microwave oven
- Use 3 srew A -short screws to secure back of rear duct to the back of microwave oven, as shown.

- INSTALL THE MICROWAVE OVEN
Plug the power cord into the wall receptacle. Slide the microwave oven assembly gently into the cabinet, using care not to pinch the power cord. Be sure to keep the assembly centered as it slides back to where the tongue of the rails goes through the slots on Exhaust Duct. The top edges of the Exhaust Duct should now be centered right to left in the opening. The Exhaust Duct should be tight against the cabinet.
- SECURE THE RAILS TO THE CABINET
Ensure the Exhaust Duct and Bottom Bracket front flanges are tight against the cabinet, and that the screws holes are aligned. Drive 4 screw A – short screws through the Exhaust Duct and Rails into the cabinet
- REPLACE ANY LOOSE ITEMS
- Y our microwave is now fully installed. Replace the turntable and turntable support that was removed from inside the microwave oven.
- Keep these installation instructions and extra screws for future reference and need. Do not place them in the microwave oven.
- Replace the house fuse, or close the circuit breaker to restore power at the service panel.
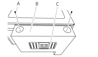
FRONT FRAME INSTALLATION
- Position the ASSEMBLY to be square with the oven. Carefully place the FRONT ASSEMBLY on the oven. See Illustration 6.
- Check that it is level and then secure with two Screws B – long screws Secure the bottom portion of the FRONT ASSEMBLY with the two remaining Screws B – long screws. See Illustration 7.





















