Electric water heater
Installation and operating manual
Manual must be kept by end user


CHAUFFEO Electric Water Heater
General Warnings
This appliance is not designed to be used by people (including children) of reduced physical, sensory or mental capacity, or those lacking previous experience or knowledge unless they have received prior instruction or supervision om someone responsible for their safety, about the use of he appliance. Children must be supervised to ensure they o not play with the appliance. This appliance may be used by children of 3 years or over, and by people with of reduced physical, sensory or metal capacity, or those lacking experience or knowledge if they are properly supervised or if they have been given instructions about the safe use of the appliance, and made aware of the associated risks. Children must not clean or maintain the appliance without supervision. Children aged from 3 to 8 years are only allowed to operate the tap connected to the water heater.
INSTALLATION
WARNING: The product is heavy, handle with care.
- Install the appliance in a frost-free location (minimum 4°C to 5°C).
- The warranty does not cover destruction of the appliance through excess pressure caused by a blockage in the safety valve.
- Ensure the room is well-ventilated. The temperature of this room should not exceed 35°C.
- When installed in a bathroom, do not install the appliance in vlumes V0 and V1 (see diagrams on page 42).
- If there is not suffi sement place, they can be installed in the volume V2 or the highest possible in the volume V1 for horizontal model.
This manual should be kept after installing the product.
- Position the appliance where it can be accessed.
- Refer to installation figures page 43.
- This device is intended for use at a maximum altitude of 3000 m.
- In the case of a vertical wall-mounted water heater, ensure that the wall is able to bear the weight of the device filled with water.
- Leave a free space underneath the ends of the tubes of at least 300 mm (100 L) – 480 mm (150 L and 200 L) so that the equipment and accessories can be accessed.
- This water heater is fitted with a thermostat with an operating temperature of more than 60°C at its maximum position, capable of reducing growth of legionella bacteria in the tank. Caution! Above 50°C, water could cause immediate scalds.Check the water temperature before taking a bath or shower.
WATER CONNECTION
- A new safety device which conforms to current standards (in Eu – rope EN 1487), pressure 0,9 MPa – 9 bar and size 3/4’’ minimum in diameter (1/2″ (15/21) minimum from the water heater slim) must be fitted. The safety valve must be protected from frost.
- A pressure reducer (not supplied) is required when the feed pressure is greater than 0.5 MPa (5 bar). It must be fitted to the cold water inlet, after the meter.
- Connect the safety unit to a drain pipe, kept in the open air, in an environment not subject to frost (4°C to 5°C min.), on a continuous downward gradient in order to drain the expansion w a t e r from the heater or if draining the water heater.
- It is compulsory to fit a sump below the water heater if mounted in a suspended ceiling, under the roof or above living area. A drain connected to the sewer is required.
ELECTRICAL CONNECTION
Before the protective cover is removed, make sure that the power supply is switched off in order to prevent any risk of injury or electrocution. The electrical installation must include a single-pole cut-off unit upstream of the water heater (fuse holder, circuit breaker with a contact opening distance of at least 3 mm, and 30 mA differential circuit breaker). Earthing is mandatory. A special terminal bearing the marking
is designed for this purpose.
MAINTENANCE
- The safety unit’s draining device must be switched on periodically (at least once a month). This operation enables any limescale deposits to be removed and to check that it is not blocked.
- To drain the appliance, turn it off, shut off the cold water supply, then drain it using the safety unit handle having already turned on a cold water valve.
- If the power cable is damaged, it must be replaced by the manufacturer, the after-sales service or similarly qualified persons in order to avoid any danger.
The instruction book of this product is available by contacting the aftersales service.
Before starting
1.1. Contents of the package
Your package consists of:


| 50 liters | unavailable |
| 75 to100 liters | 1 |
| 150 to 200 liters | 2 |

1.2. Accessories required
1.2.1. Mandatory and recommended accessories
To install your water heater, you need the following components:
| A NEW safety unit Mandatory | Wall outlet cable |
| Siphon Mandatory | Sealing tape or other |
| Temperature limiter Mandatory new and heavy repairs | Pressure reducer Mandatory if the water pressure in your house is greater than 0.5 MPa (5 bar). It must be installed at the meter outlet (see page 40) |
| Water retention tank Essential in the case of an installation on the fl oor and above a living space. | Tripod (Not compatible with 50L immersion slim water heater) For vertical wall-mounted models. Mandatory for walls not able to hold the weight for water heaters greater than 100 L. |
| Surround kit for horizontal wallmounted versions – Underside connection Mandatory for mounting on the ceiling. Can be used to replace the mountings of an older appliance. Enables the appliance to be slid a few centimetres during installation | Mounting system (Ø 10 mm min.) (Depending on support) |
1.2.2. Optional accessories
Ceiling attachment console
(Not compatible with 50L immersion slim water heater)Ideal for mounting vertical wall-mounted water heaters to the ceiling, when the wall is not load bearing.
Frees up space under the water heater.![]()
Quick mounting plates
(Not compatible with 50L immersion slim water heater)Ideal for cramped places like a cupboard, where there is no access for tightening to the wall.
Reduced fitting time. 
| Capacity | Number of plates |
| 50 to 100 litres | 1 |
| 150 to 200 litres | 2 |
Universal mounting brackets
(Not compatible with 50L immersion slim water heater)
Ideal for re-using
your old water heater’s mountings with no additional holes
Reduced fitting time
Riser
Ideal for avoiding draining modifications on vertical water heaters on a base![]()
1.3. Tooling required
1.4. Labour
2 people required for assembly![]()
Installation Manual: Overall assembly diagram
Electrical distribution board

General installation diagram
Example with a vertical wall-mounted water heater
Pressure reducer
The pressure reducer is an additional accessory which should be installed at your water meter’s outlet if the water pressure in your house is greater than 0.5 MPa (5 bar).
It prevents the safety unit’s valve from opening erratically when the water heater is not operational.
To determine the water pressure in your house.
You can fi nd out more from your water supplier
Warning: the pressure limiter must never be positioned between the safety unit and the cold water inlet


Safety unit
The safety unit is a mandatory accessory. Its role is to maintain an interior water pressure of 0.7 MPa (7 bar) to prevent explo- sion (it fulfi ls the same role as a valve on a pressure cooker).
The safety unit therefore lets water escape when the water heater is operational. This fl ow may represent up to 3% of the volume of the water heater cycle.
The safety unit therefore lets water escape when the water Caution: the safety unit must always be directly connected to the tank’s cold water tank. Nothing should be fi tted between the safety unit and the water heater. (no valve, no pressure limiter, etc.).![]()
Where to install my water heater?
3.1. Precautions
- Choose a place of installation whose temperature is always between 4°C and 35°C.
- The water heater must be positioned as close as possible to the major draw-off points (bathroom, kitchen, etc.)
- If it is positioned outside the living area (cellar, garage), the pipes and the safety units (safety unit, pressure limiter) must be insulated.
- Make provision in the room for ventilation to prevent condensation and corrosion of the water heater paint.
- Ensure that the supporting element (wall or ceiling) is suffi ciently resistant to accommodate the weight of the water heater full of water (see table page 43).
- Make provision for a space of 40 cm for the periodic maintenance of the heater element.
- In the case of installation above living rooms (suspended ceilings, attics, etc.), it is ESSENTIAL to make provision for a water collection tank connected to the drain under the water heater (shower type tank for example).

3.2. Specifi c installation in the bathroom
- Installation outside these areas (NF C 15-100 or standards in force in the country).

If bathroom dimensions do not allow the water heater to be positioned outside these areas :
Possible in Area 1 if:
- the water heater is horizontal and positioned as high as possible
- the pipes are made from conductive material
- the water heater is protected by a circuit breaker residual differential current (30m A) connected
How to install my water heater?
4.1. Vertical wall-mounted water heater
- Cut the template printed on the cardboard and use it to make the markings

- Drill then plug using (Ø) 10 mm minimum diameter mountings suitable for your wall (plasterboard, concrete, brick).
Warning: your wall must be able to bear the weight of the full water heater.
If it cannot, use a tripod (see section dedicated to fi tting on a tripod).
Approximate weight of full water heaterCapacity Weight 50 L 75 kg 75 L 100 kg 100 L 150 kg 150 L 200 kg 200 L 250 kg - Once your water heater or easyFIX is in place, fi x it


Specifi c case:
Fitting a vertical wall-mounted water heater on a tripod
The use of a compliant and compatible tripod is mandatory when fi tting a water tank with a capacity greater than 100 L on a non load-bearing wall (cannot support the weight of the full tank).
First fi t the water heater on its tripod in order to mark the mounting points.
Carry out the drilling.
Put the water heater back in place.
Must mount the upper bracket.
Fitting a vertical wall-mounted water heater Blinded 50L Slim
Fasten the wall plate to the wall using M8 studs (pre-fi xed on the wall) and M8 nuts
4.2. Vertical water heater on base
Fitting a vertical water heater on a base (fi g. 1) does not require mounting.
Make sure you fi t it on a fl at surface.
You can use a riser (fi g.2) to facilitate routing of the pipes.
4.3. Horizontal wall-mounted water heater – Underside connection
horizontal water heater can be fi tted to the wall, ceiling or fl oor.
The cold water inlet and the hot water outlet must always be at the bottom.

Leave a free space of 400 mm underneath the cover in case the heater element in case the heater element needs to be replaced.
4.4. Horizontal wall-mounted water heater- Side connection
Essential:
Align the pick-ups vertically with the hot water outlet (red) above the cold water (blue).
Mounting procedure:
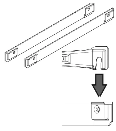
- Assemble the belts and brackets using the nuts and bolts in the package without tightening them (fi gs. 1 and 2)
- Fit the brackets with their belt on the support (wall, ceiling, fl oor), then tighten
- Position the water heater using one of the 4 mounting options.
- Complete the mounting procedure by tightening the belt nuts on the bracket

Water heater water connections
The water heater must be connected in accordance with the standards and regulations in the country in which it is installed (for France: DTU Plumbing 60-1).
5.1. Conventional connection
- Connect the NEW safety unit to the cold water inlet (blue) on your water heater.
- Place the siphon under the safety unit and connect its drain pipe to the drain.
- Tighten the dielectric connection onto the hot water outlet (red) on your water heater.
- Tighten your pipes on your water heater.
WARNING
Your pipes must be rigid (copper) or fl exible (standardised braided stainless steel hoses) and able to withstand 100°C and 1 MPa (10 bar). Otherwise, use a temperature limiter.
![]() | ![]() |
5.4. Connection with a temperature limiter
If your pipes are made from synthetic materials (plastic or PER for example), it is essential to fi t a temperature limiter (or thermostatic regulator).
The limiter must never be connected directly to the water heater.
The temperature limiter enables the risks of burning to be limited.

5.2. Connecting to a pressure reducer
The pressure reducer is mandatory if the water pressure in your home is greater than 0.5 MPa (5 bar).
Place it on the cold water inlet, to your water meter outlet, never directly to the water heater.
5.3. Filling the water heater
- Turn on the house’s HOT water taps.
- Turn on the cold water valve located on the safety unit.
- The water heater is fi lled as soon as you notice a fl ow of cold water at the hot water valve outlet. Close these.
- Check that the safety unit is operating correctly by moving the drain valve. A little water should fl ow out.
- Check the sealing at the water inlet and outlets on the water heater.
If you notice a leak, try to retighten the connections.
If the leak persists, drain the water heater (see page 48) and retighten the connections.
Start the operation again until full sealing is achieved.
Connecting the water heater to the electricity
SWITCH OFF THE ELECTRICITY!
- Check the compatibility of the water heater with the electrical installation.

- If the water heater is pre-wired, connect the water heater’s power supply cable to a cable outlet (the water heater should not be connected to a socket).
If the water heater is not pre-wired, the use of a rigid cable connection with a minimum cross-section of 3 x 2.5 mm2 in single-phase (phase, neutral, earth) or4 x 2.5 mm2 in three-phase (3 phases + earth) is essential (refer to the «wiringdiagram» section).
The use of fl exible wires is prohibited. - Check that the water heater is full by turning on a HOT water tap. COLD water should floow out.
If the water heater is switched on when it is empty, there is a risk of damage (not covered by the warranty). - Switch the electricity back on.
- direct connection to the resistors (without passing through the thermostat) is strictly forbidden as it is extremely dangerous, the water temperature would not be
limited.
Commissioning the water heater
- If your electrical distribution board is equipped with a day/night switch (reduced night tariff), move it to 1 (forced operation).
- There may be some light smoke when heating starts (NORMAL operation for Chauff eo+).
After a while, water should fl ow drop by drop through the safety unit (connected to a waste water drain pipe). During heating, and depending on the water quality, the water heater can emit a sound similar to that made by a kettle. This sound is normal and does not mean there is a fault.
- Wait for heating to fi nish before using your water heater fully (see specifi cations table to determine the estimated time depending on your model).
The thermostat is set in the factory to 65 °C (± 5 °C). It is possible to modify this setting by the thermostat knob. Reducing the regulation temprature can help reduce limescale. For 50L immersion slim water heater, indicator light is on during heating phase only.
Domestic maintenance advice
Your appliance should be checked by a professional every 2 years, in order to guarantee its long-term performance.
8.1. The safety unit
Move the safety unit valve regularly (at least once a month).
This allows deposits which could block the safety unit to be drained away.
Failure to perform maintenance on the safety unit may result in deterioration of the water heater (not covered by the warranty).![]()
8.2. Draining a water heater
If the water heater needs to remain switched off for more than a week (in a second residence for example), and it is located in a place exposed to frost, it is essential to drain the water tank in order to protect against corrosion.
Once the water heater is drained, bleed all the pipes in your house (turn on all your house’s cold and hot water taps so that the pipes are empty).
SWITCH OFF THE ELECTRICITY!![]()
- Switch off the power
- Turn off your general cold water inlet valve.
- Turn the safety valve wheel (¼ of a turn).
- Turn on the HOT water valves in order to draw in the air.
- The water heater is empty when the water stops flowing to the safety unit.
Draining can take up to one and a half hours or more. - Once completed, follow the steps in paragraph 7 “commissioning” (page 47) to return your water heater to working order.
8.3. Maintaining the tank
Check the condition of the magnesium anode every two years and replace it if its diameter is less than 10 mm (in the case of ACI versions, the anode does not require any maintenance). It is strongly recommended to have maintenance performed on the tank by a professional every 2 – 3 years depending on the quality of the water: draining and limescale removal. In areas where the water is hard, it is possible to treat the water with a softener. This should be regulated and the water hardness should remain greater than 8°f.
Using a softener does not invalidate our warranty as long as it is used in accordance with professional standards, and is checked and maintained regularly.
Do not throw your appliance away in the domestic waste, but take it to a specially designated place (collection point) where it can be recycled.
Scope of the warranty
Failures caused by the following are not covered under this warranty:
9.1. Abnormal environmental conditions
- Damage caused by impacts or falls during handling after leaving the factory.
- Placing the appliance in a place exposed to frost or adverse weather conditions (damp, aggressive or poorly ventilated environments).
- Using a water with aggressivity criteria such as defined by the Plumbing DTU 60-1 addendum 4, hot water (chlorine content, sulphates, calcium, resistivity and TAC).
- Water hardness < 8°f.
- Non-compliance with electrical mains standards (NF EN 50160) (power supply does not demonstrate min. or max. voltage, non-compliant frequencies, for example).
- Damage resulting from problems which cannot be detected due to the choice of position (difficult to access places) and which could have been avoided by immediate repair of the appliance.
9.2. An installation not compliant with the regulations, standards and good practice
- Missing or incorrect assembly of a safety unit compliant with standard EN 1487, or a change to its settings, etc.
- Fitting a hydraulic system directly onto the water system preventing operation of the safety unit (reduction in pressure, stop cock, etc.) (see page 45).
- Abnormal corrosion of pick-ups (hot or cold water) due to an incorrect water correction (incorrect sealing) or lack of dielectric sleeves (direct iron-copper contact).
- Faulty electrical connection: not compliant with standard NF C 15-100 or standards in force in the country, incorrect earthing, insufficient cable thickness, flexible cables
connected, non-compliance with the connection diagrams provided by the manufacturer. - Position of the appliance not compliant with the information in the instructions.
- External corrosion due to poor pipe sealing.
- Protective cover is missing or not correctly fitted.
- Cable sleeve is missing or incorrectly fitted.
- Appliance falls due to the use of mountings not suitable for supporting the installation.
9.3. Faulty maintenance
- Abnormal scaling of heater elements or safety units.
- Non-maintenance of the safety unit resulting in pressure surges.
- Modification of the original product without the manufacturer’s advice or using spare parts not recommended by the manufacturer.
- Non-compliance with the magnesium anode maintenance conditions (see «tank maintenance» paragraph).
These devices comply with the directive 2014/30/UE according to electromagnetic compatibility, 2014/35/UE according to low voltage, 2011/65/UE, 2017/2102/UE according to ROHS directive and Commission Delegated Regulation 2013/814/UE supplementing 2009/125/ EC regulation for ecodesign.
Warranty conditions
The water heater should be installed by a qualifi ed professional in accordance with professional practice, the standards in force and our technical instructions. It will be used normally and regularly maintained by a specialist. In these conditions, our warranty covers the exchange or free supply to our Distributor or Installer of repla- cements to parts agreed to be defective by our staff , or if necessary of the appliance. It does not cover labour costs, transport costs, or any compensation or extension of the warranty. The warranty takes eff ect on the date it is installed, the invoice for installation acting as proof. In the absence of documentary evidence, the date the warranty takes eff ect will be six months after the date of manufacture shown on the identifi cation plate of the water heater. The warranty on a part or a water heater replaced under warranty ceases at the same time as that of the part or water heater it replaced. (fi rst part invoiced). The provisions of these conditions of warranty do not exclude the benefi ts to the purchaser, or the legal warranty against faults and hidden defects which apply in all cases under the conditions of articles 1641 et seq. of the civil code. In no case does the failure of a part justify the replacement of the water heater. Atlantic holds all the spare parts at your disposal for a period of 10 years.
An appliance which is presumed to have caused a fi re must be left in place for examination by experts.The person affected should inform his insurance company.
Technical specifications
1.1. Vertical wall-mounted water heater (VW)
| 50 litres | 75 litres | 100 litres | |||||
| Voltage (V) | 220 – 240 V single-phase | ||||||
| Resistance | Shielded | Steatite | Shielded | Steatite | Shielded | Steatite | |
| Power (W) | 1,200 | 1,200 | 1,200 | 1,200 | 1,200 | 1,200 | |
| Dimensions (mm) | Ø | 505 | 505 | 513 | 513 | 513 | 513 |
| H | 575 | 575 | 705 | 705 | 835 | 835 | |
| A | 370 | 370 | 570 | 570 | 750 | 750 | |
| B | I | I | / | / | / | ||
| C | 530 | 530 | 530 | 530 | 530 | 530 | |
| Real heating time* | 2 h 26 min | 2 h 46 min | 4 h 12 min | 4h 09 min | 5 h 13 min | 5 h 12 min | |
| Qpr (Maintenance cougotion)** | 0.71 | 0.79 | 1.07 | 1.06 | 1.07 | 1.21 | |
| V40 (Amount of hot water at 40°C) | – | – | 137 | 140 | 176 | 182 | |
| Weight when empty (kg) | 23 | 22 | 22 | 23 | 26 | 27 | |
| Weight when full (kg) _ | 73 | 73 | 97 | 98 | 126 | 127 | |
*Real heating time for heating from 15° to 65°C
**Maintenance consumption in kWh for 24 hours for water at 65°C (ambiance 20°C)
| 150 litres | 200 litres | ||||
| Voltage (V) | 220 – 240 V single-phase | ||||
| Resistance | Shielded | Steatite | Shielded | Steatite | |
| Power (W) | 1,600 | 1,800 | 2,200 | 2,200 | |
| Dimensions (mm) | Ø | 513 | 513 | 513 | 513 |
| H | 1,155 | 1,155 | 1,475 | 1,475 | |
| A | 1,050 | 1,050 | 1,050 | 1,050 | |
| B | 800 | 800 | 800 | 800 | |
| C | 530 | 530 | 530 | 530 | |
| Real heating time* | 5 h 50 min | 5 h 12 min | 5 h 42 min | 6 h 11min | |
| Qpr (Maintenance consumption)** | 2. | 2. | 2. | 2. | |
| V40 (Amount of hot water at 40°C) | 279 | 275 | 375 | 373 | |
| Weight when empty (kg) | 34 | 35 | 43 | 44 | |
| Weight when full (kg) | 184 | 185 | 243 | 244 | |
*Real heating time for heating from 15° to 65°C
**Maintenance consumption in kWh for 24 hours for water at 65°C (ambiance 20°C)
| 100 litres | 150 litres | 200 litres | |||||
| compact | compact | compact | |||||
| Voltage (V) | 220-240 V— single-phase | ||||||
| Resistance | Shielded | Steatite | Shielded | Steatite | Shielded | Steatite | |
| Power (W) | 1,200 | 1,200 | 1,600 | 1,800 | 2,200 | 2,200 | |
| Dimensions (mm) | Ø | 570 | 570 | 570 | 570 | 570 | 570 |
| H | 740 | 740 | 990 | 990 | 1,245 | 1,245 | |
| A | 570 | 570 | 750 | 750 | 1,050 | 1,050 | |
| B | I | I | 500 | 500 | 800 | 800 | |
| C | 590 | 590 | 590 | 590 | 590 | 590 | |
| Real heating time* | 5 h 28 min | 5h 32 min | 6 h 00 min | 5h 21 min | 5 h 55 min | 5h 58 min | |
| Qpr (Maitenance consumption)** | 1. | 1. | 1. | 1. | 2. | 2. | |
| V40 (Amount of hot water at 40°C) | 182 | 182 | 276 | 272 | 363 | 373 | |
| Weight when empty (kg) | 29 | 30 | 38 | 39 | 44 | 45 | |
| Weight when full (kg) | 129 | 130 | 188 | 189 | 244 | 245 | |
*Real heating time for heating from 15° to 65°C
**Maintenance consumption in kWh for 24 hours for water at 65°C (ambiance 20°C)

1.2. Vertical water heater Blinded 50L Slim
Blinded 50L Slim
| Voltage (V) | 230 V single-phase | |
| Resistance | Shielded | |
| Power (W) | 2000 | |
| Dimensions (mm) | A | 918 |
| B | 338 | |
| C | 750 | |
| D | 345 | |
| E | 81 | |
| Real heating time* | 1h36 | |
| Qpr (Maintenance consumption)** | 1,11 | |
| Weight when full (kg) | 14,5 | |
The termostat is set in the factory to 65° C (± 5°C). It is possible to modify this setting by the thermostat knob. Reducing the regulation temperature can help reduce limescale. The operation indicator remains lit during heating time only.
*Real heating time for heating from 15° to 65°C
**Maintenance consumption in KWh for 24 hours for water at 65°C (ambiance 20°C)
1.3. V ertical water heater on base (VB)
| 200 litres | 250 litres | 300 litres | |||||
| Voltage (V) | 220-240 V single-phase | All currents* | |||||
| Resistance | Shielded | Steatite | Steatite | Shielded | Steatite | Shielded | |
| Power (W) | 2,200 | 2,200 | 3,000 | 3,000 | 3,000 | 3,000 | |
| Dimensions (mm) | Ø | 575 | 575 | 575 | 575 | 575 | 570 |
| H | 1,270 | 1,270 | 1,510 | 1,765 | 1,765 | 1,765 | |
| A | 280 | 280 | 280 | 280 | 280 | 300 | |
| B | 590 | 590 | 590 | 590 | 590 | 640 | |
| Real heating time** | 5 h 06 min | 5 h 22 min | 4 h 45 min | 5 h 53 min | 6 h 08 min | 5 h 51 min | |
| Qpr(Mairtenanceconsumplion)*** | 1,82 | 1,85 | 2,11 | 2,41 | 2,50 | 2,49 | |
| V40 (Amount of hot water at 40°C) | 366 | 364 | 429 | 537 | 537 | 531 | |
| Weight when empty (kg) | 47 | 47 | 53 | 60 | 60 | 68 | |
| Weight when full (kg) | 247 | 247 | 303 | 360 | 360 | 368 | |
Diagrammatic representation

*Appliances supplied with three-phase wiring 230/400V3~ can be switched to 230 V single-phase~
**Real heating time for heating from 15° to 65°C
***Maintenance consumption in kWh for 24 hours for water at 65°C (ambiance 20°C)
1.4. Horizontal water heater (HW) with underside connection
| 75 litres | 100 litres | 150 litres | 200 litres | ||
| Voltage (V) | 230 V single-phase | ||||
| Resistance | Shielded | ||||
| Power (W) | 1,600 | 1,600 | 2,200 | 2,200 | |
| Dimensions (mm) | 0 | 520 | 520 | 520 | 520 |
| H | 700 | 830 | 1,140 | 1,460 | |
| A | 370 | 500 | 800 | 800 | |
| Al | 470 | 600 | 900 | 900 | |
| B | 135 | 135 | 150 | 470 | |
| C | 145 | 275 | 575 | 575 | |
| Real heating time* | 2 h 59min | 3 h 36 min | 4 h 03 min | 5 h 06 min | |
| Qpr (Maintenance consunption)** | 1.04 | 1.16 | 2.71 | 2.94 | |
| V40 (Amount of hot water at 40°C) | 142,2 | 176,1 | 260,6 | 347,2 | |
| Weight when empty (kg) | 28 | 32 | 39 | 48 | |
| Weight when full (kg) | 103 | 132 | 189 | 248 | |
*Real heating time for heating from 15° to 65°C
**Maintenance consumption in kWh for 24 hours for water at 65°C (ambiance 20°C)

If mounting to the ceiling, it is essential to use the specifi cally designed surround kit 56(optional accessory, refer to its specifi c instructions).
1.5. Horizontal water heater (HW) side connection
| 75 litres | 100 litres | 150 litres | 200 litres | ||
| Voltage (V) | 220-240 V single-phase | ||||
| Resistance | Shielded | ||||
| Power (W) | 2,000 | 2,000 | 2,000 | 2,000 | |
| Dimensions (mm) | ∅ | 513 | 570 | 570 | 570 |
| H | 705 | 740 | 990 | 1,245 | |
| B | Variable | ||||
| C | 530 | 590 | 590 | 590 | |
| Real heating time* | 2 h 27 min | 3 h 15 min | 4 h 55 min | 6 h 14 min | |
| Qpr (Maintenance consuran)** | 1. | 2. | 2. | 2. | |
| V40 (Amount of hot water at 40°C) | 152 | 192 | 281 | 369 | |
| Weight when empty (kg) | 22 | 29 | 38 | 44 | |
| Weight when full (kg) | 97 | 129 | 188 | 244 | |
*Real heating time for heating from 15° to 65°C
**Maintenance consumption in kWh for 24 hours for water at 65°C (ambiance 20°C)

Various mounting options:
Align the take-off s vertically with the hot water outlet (red) above the cold water (blue).
Presentation of the components
2.1. Components making up the shielded vertical wall-mounted models
2.2. Components making up Steatite vertical wall-mounted models

2.3. Components making up vertical versions on shielded base

2.4. Steatite stable model components

2.5. Shielded horizontal model components

Specifi c installation procedures
3.1. Adjusting the temperature
The factory temperature setting is 65° C.
The temperature may be lowered by turning the wheel.
Specifi c maintenance conditions
4.1. Parts that can be replaced
- Thermostat
- Cover
- Heater body (only for Steatite water heaters)
- Heater element
- Seal
The seal must be replaced if the heater body is replaced or opened.
Any replacement operation must be performed by a qualifi ed person using the manufacturer’s original parts.
Troubleshooting guide
5.1. V.1 No hot water
| Action to take | Solution | Cause |
| 1. Have the electrical power supply checked by a professional (using a multimeter). pricing, 2.1. Switch to forced operation from your electric distribution board. 2.2. Check the position of the circuit breaker (should be in the ON position) | If there is no current at the water heater’s terminals: have an electrician look at it. | Electrical power supply fault. |
| If there is current at the water heater’s terminals, go to the next step. | ||
| 1. Cut-off the water heater current (the circuit breaker should be in the OFF position). 3. Switch to forced operation from your electrical distribution board. | If the thermostat regularly goes into safety mode, descale the water heater (see the chapter on maintenance) and retighten all the electrical connections (after having switched off the power). If the safety device is not triggered, move onto the next step. | Thermostat going into safe mode. NOTE: it is preferable to replace the thermostat . if it goes into safe mode numerous times. (more than 10 times) |
| 1. Cut-off the water heater power (the circuit breaker should be in the OFF position). element terminals using a multimeter (in ohm position). | Null or infi nite value. | Replace the faulty resistor. |
| Value in ohms > 0. | Replace the thermostat. |
5.2. Electric meter which breaks the circuit
| Action to take | Solution | Cause |
| 1. Check that the meter only cuts-out when the water heater starts heating. 2. If you have Peak/Off-peak hours pricing, 2.1 Switch to forced operation from your electrical distribution board. 2.2 Check the position of the circuit breaker (should be in the ON position). | 1. Check that the meter only cuts-out when the water heater starts heating. 2. If you have Peak/Off-peak hours pricing, 2.1 Switch to forced operation from your electrical distribution board. 2.2 Check the position of the circuit breaker (should be in the ON position). | |
| On a shielded product: Replace the heater element. | Faulty resistor. | |
| On a steatite product: Clean the area where the heater element is located (hollow interior) with a cloth or a bottle brush. If the problem persists: Replace the heater element. | Residue in the resistor sleeve. Faulty resistor. |
5.3. Lukewarm water
| Action to take | Solution | Cause |
| 1.1. Switch off the electrical power supply to the water heater. 1.2. Open the plastic cover. 1.3. Switch the thermostat to maximum. See Section III Setting the temperature. | Leave the thermostat setting at maximum in order to enjoy very warm water in sufficient quantity. | Incorrect thermostat setting. |
| 2.1. Shut off cold water inlet on the safety unit. | If water flows from the hot water tap, then one of the house’s taps is faulty. Replace the faulty tap or consult a plumber to find the cause of the problem. | A tap (mixer) allows cold water into the hot water circuit. |
5.6. Leak problem
| Action to take | Solution | Cause |
| Leak located on the hot and cold water take-offs | ||
| 1.Switch off the electrical power supply 2.Drain the water heater (see page 48). | Reconnect all the connections (see page 45, the section on installation). | Poor connector sealing |
| Leak coming from the nuts located under the plastic cover | ||
| 1.Switch off the electrical power supply 2.Drain the water heater (see page 48). | Replace the closing flange seal | Damaged seal or leaking heater body. |
| Lek gevonden bij de bak | ||
| 1.Switch off the electrical power supply 2.Drain the water heater (see page 48). | Replace the water heater. | Tank corrosion. |
5.5. Boiling noise
| Action to take | Solution | Cause |
| 1. Check that the noise occurs when the water heater is in the process of heating. | If the noise occurs during heating, descale the water heater (see Chapter maintenance page 48). | Water heater is scaled up. |
| If the noise does not occur during heating or it consists of clicking noises, or it occurs when the valve is turned on, consult a plumber so that they can fi nd the cause of the problem. | The water heater is not the cause. |
On a shielded product, this is a normal occurrence as the resistor is directly submerged in the water.
5.4. Water is too hot – steam
| Action to take | Solution | Cause |
| 1.1. Switch the water heater’s power supply off immediately. 1.2. Check the water heater’s electrical wiring. | Reconnect the water heater’s electrical wiring in accordance with the diagram on page 58. | Connect directly to the resistor ithout passing through the thermostat. |
| 2.1 Turn off the water heater power supply. 2.2 Open the plastic cover. 2.3 Lower the temperature setting gradually using the wheel. See page 59, Section III Setting the temperature. | Adjust the thermostat to the desired temperature. | Thermostat set at the maximum. |


WARRANTY CERTIFICATE – To be kept by the end user – Warranty period:
- 5 years for the 50 to 500 L water heater tanks and their heating element sheaths.
- 2 years for removable equipment: door seal, heating element, thermostat, etc.
WARNING: In the case of an insured event, the product must be made available to claims adjusters and the victim must inform their insurance provider. The insurance provider must approve any replacement.
NOM ET ADRESSE DU CLIENT : . . . . . . . . . . . . . . .
Client name and address / Naam-Adres
BIP
Rue Monge – BP 65
F-85002 LA ROCHE SUR YON
International : consultez votre installateur
Raadpleeg uw installateur
www.atlantic.fr


Approximate weight of full water heater





















