
CT-1559
MICROWAVE OVEN

INSTRUCTION MANUAL


DEAR CUSTOMER!
Prior to operating the appliance, please carefully read the present manual which contains important information regarding its proper and safe operation. Take care not to lose the present manual.
The manufacturer will not be responsible for any damage resulting from improper use of the appliance or from non-observance of the instructions and provisions of the present manual, as well as from attempts by unskilled persons at repairing the appliance.
Should You decide to transfer the appliance to another person, please pass the present manual over along with it.
PURPOSE OF THE APPLIANCE
For quick food heating by microwave radiation.
The microwave oven is a home appliance and is not designed for industrial applications!
IMPORTANT SAFETY INSTRUCTIONS. READ IT CAREFULLY AND SAVE IT FOR FUTURE REFERENCE.
1. SAFETY PRECAUTIONS
The following requirements should be strictly observed in order to avoid situations hazardous for human life and health, as well as premature failures of the appliance:
- Before connecting the appliance to the power supply grid, ensure that its specifications correspond to the nominal voltage of the appliance. Do not use socket adapters as these may be the cause of a fire.
- Do not use accessories and spare parts other than supplied by the Manufacturer. If such parts are used the Manufacturer’s warranty will become void.
- Do not operate the appliance if its power cable, plug and other parts are damaged.
- In case of power cable damage it should be replaced, to avoid dangerous situations, by the Manufacturer, a service centre or similar skilled personnel.
- A slight unpleasant odor may occur during the first use; it will disappear after using the appliance several times and is caused by eventual residues of lubricants and other substances on internal surfaces and on heating elements. We recommend heating up a cup of water several times before the first use.
- The appliance should be installed in such a way that there is a gap between it and other objects.
- Do not obstruct the ventilation openings to avoid overheating.
- Do not use the appliance if the door latches are not operational.
- After use disconnect the plug from the electric socket and ensure that it is not placed directly on the appliance, near sources of fire or water.
- The appliance contains a UHF wave emitter which can only be set up by a skilled technician, therefore do not open the lids or otherwise breech the integrity of the unit’s housing.
- The appliance should not be used by physically, sensory or mentally handicapped persons (including children) or by persons without sufficient experience or knowledge, unless such persons are under supervision, or have been instructed on the use of the appliance, by the persons responsible for their safety. Take precautions not to let children play with the appliance.
- Do not use the appliance outdoors.
- Do not heat fats and oils as their temperature is difficult to control
- After use wipe its surface with dry or damp cloth to remove drops of fat and food residues. Drops of fat may cause smoke to appear and even lead to ignition.
- Use large diameter vessels to boil water and do not fill them to the top to avoid splashing. Do not use narrow-necked utensils.
- Remove the peel from potatoes and sausages or pierce it with a fork.
- The light inside the chamber is provided for illuminating the food and is not designed for other purposes (room lighting, etc.).
- Do not use metal containers and utensils with metal components.
- Containers may get very hot during cooking. Use special mitts to remove containers. Be careful when opening the container, there is a risk of hot steam discharge.
- Open popcorn packets and roasting bags carefully, holding them at a distance from your face.
- The device is not designed to operate from an external timer or a separate remote control system.
- This model is intended for use as a stand-alone. Do not embed or use in the closet!
- Use only utensils designed for microwave ovens.
- Do not heat foods and liquids in tightly sealed containers as they can explode!
- The microwave oven is designed for heating food and beverages. Drying food or clothing and heating mats, slippers, sponges, wet clothes and similar things can lead to injury, ignition and fire.
- If smoke occurs, turn the appliance off and disconnect it from power supply.
- Liquids may get overheated in the microwave oven, i.e. heated above the boiling point, however without actual boiling. Sudden and violent boiling can occur after you have removed the vessel from the oven.
- Be careful when heating up baby food. Check temperature of baby food before feeding.
- Do not heat or cook eggs in shells. They can explode even after the unit has stopped heating up.
- Regularly clean the seals of doors, chambers and adjacent parts. Insufficient cleanliness of the furnace can lead to damage to the surface and to a dangerous situation.
- The oven should be cleaned regularly, any food residues should be removed.
- Untimely cleaning of the furnace may damage the surface, reduce the service life of the device, and may also lead to danger.
- Special requirements for transport (shipment) or sale: none.
WARNING! If the door or door seals are damaged, the oven must not be switched on until it has been repaired by a qualified technician.
WARNING! It is dangerous for any person, except a qualified specialist, to perform any maintenance or repair actions related to removing the cover that protects against exposure to microwave energy.
WARNING! Liquids and other food products should not be heated in sealed containers, as they may explode.
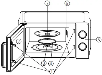
2. APPLIANCE DESCRIPTION
- Door latches
- Inspection window
- Shaft
- Roller stand
- Control panel
- Emitter cover
- Glass tray
3. SCOPE OF SUPPLY
– Microwave oven – 1 pc.
– Glass tray – 1 pc.
– Roller stand – 1 pc.
– User manual – 1 pc.
4. OPERATING PROCEDURE
PREPARATION
- Remove the microwave oven from the packaging.
- Check the appliance for damage paying particular attention to oven door functionality (in case of any damage apply to an authorized cervice centre).
- Place the microwave oven on a dry corrosion-resistant surface.
- Install the oven so that there is a gap of at least 10 cm between its rear surface and the nearest wall and at least 5 cm between sides and nearest walls. The free space above the oven should be at least 20 cm.
- Free access of air to the oven should be provided from all sides for adequate ventilation.
- The oven should be located at least 5 m away from TV sets, radios and antennae to avoid interference.
- Do not install a microwave oven in a cabinet.
- Install the oven so that its rear side faces the wall.
CONTROL PANEL
POWER SELECTOR
| Max | 100% of maximum output | Fast cooking |
| 88% of maximum output | Normal cooking | |
| 73% of maximum output | Slow cooking | |
| 52% of maximum output | Beverages, soups | |
![]() | 42% of maximum output | Defrosting |
| Min | 20% of maximum output | Warming-up |
TIMER
The maximum cooking time is 30 minutes.
Each increment is equal to 1 minute. After 10 minutes each increment will be 5 minutes.
A special tone will signal that the set time has elapsed.
OPERATION
- Connect the power cable to a power socket.
- Ensure that the timer is set to zero.
- Do not cover the appliance, provide adequate ventilation.
- Place the utensil with the food in the oven and close the door.
- Food should always be in some kind of container or utensil!
- Select the desired power level.
- Set the cooking time on the timer.
- If the desired time is less than 10 minute, set the timer to 10 minutes first and then to the desired time.
- To suspend the cooking process just open the door at any time, then close the door. The cooking process will resume.
- When the cooking time is over an audio signal will sound and the internal light will go out.
- If you have removed the food from the oven before the end of the cooking time, return the timer to the zero position!
ADVICE ON FOOD DEFROSTING
Microwaves do not penetrate most foods by more than 4 cm. Follow the guidelines below to improve the defrosting efficiency:
- Stir the food during defrosting to obtain uniform heating.
- If the weight of food exceeds 0.5 kg it should be turned over at least twice.
- Defrosted foods should be cooked as soon as possible, repeated freezing should be avoided.
| Food | Weight | Defrosting time |
| Meat | 0.1 ~ 1.0 кг | 1:30 ~ 26:00 min |
| Chicken | 0.2 ~ 1.0 кг | 2:30 ~ 22:00 min |
| Seafood | 0.1 ~ 0.9 кг | 1:30 ~ 14:00 min |
COOKING RECOMMENDATIONS
FOOD PLACEMENT IN THE OVEN
Place larger and thicker pieces near the sides of the plate and thinner pieces in the center. Try to place the pieces uniformly, so that they do not cover each other.
COOKING TIME
Start cooking by choosing a shorter time period and increase it as necessary.
UNIFORM COOKING
Turn foods such as chicken, hamburgers or steaks at least once during the cooking process. Depending on the type of food it is recommended to stir it several times from the sides to the center.
AFTER COOKING
Upon completion of the cooking leave the food inside the oven for some time to let the cooking process end and for the food to cool down a little.
CHECKING THE DONENESS OF THE FOOD
Take reference to the color and density/hardness of the food. Steam should emerge from the whole surface of the dish, not only on the sides. Fowl bones should easily separate from the flesh
Meat should be free from blood. Fish should be non-transparent and easily broken apart with a fork.
SAFE USE OF PLASTIC PACKAGING
Some types of plastic utensils are not designed for preparing food with high fat and sugar content in microwave ovens.
5. MAINTENANCE
– Disconnect the power cable from the power socket.
– Wash the microwave oven regularly, remove all food residues, fat and other contaminants.
– Use only mild non-abrasive detergents, sponges or soft cloth to clean the door, housing, door glass and inner walls of the chamber. Do not use hard sponges and brushes with metallic particles. These can scratch the surface of the appliance. Non-observance of this requirement can cause a reduction of the unit’s service life.
– Do not remove the microwave emitter shield.
6. SPECIFICATIONS
– Capacity: 20 l
– Voltage: 220-240 V ~50 Hz
– Power output: 700 W
– Power consumption: 1100 W
– Microwave frequency: 2450 MHz
– 6 power levels
– 30-minute timer
ATTENTION! Be careful: while operation appliance surface can be high.
7. DISPOSAL
Upon expiry of its service life the appliance can be disposed of separately from ordinary domestic waste. You can turn it over to a specialized electric and electronic appliance disposal and recycling centre.
8. CERTIFICATION DATA, GUARANTEE
The service life of this item is 5 years since the date of sale to the end user, provided the item will be used in strict accordance with the present manual and the applicable technical standards. Upon expiry of the service life please contact the nearest authorized service centre for suggestions as to further operation of the appliance. The manufacturing date of the appliance is integrated into the serial number (digits 2 and 3 – year, digits 4 and 5 – month of manufacture). Guarantee and post-guarantee maintenance is provided by the General Service Center OOO «Larina-Servis» (Russia, Krasnodar), phone: +7 (861) 991-05-42. The address of the facility authorized with receiving buyer claims, maintenance and repairs is shown on the website https://centek.ru/servis, otherwise refer to the store or other legal entity, where you have purchased this appliances.
The product is provided with the Certificate of Conformity: No. EA∋C RU C-CN.BE02.B.02215/20 of 28.04.2020 y.
![]()
9. MANUFACTURER AND IMPORTER INFORMATION
Imported to EAEU by: Individualniy Predprinimatel Asrumyan Karo Shurikovich. Address: Russia, 350912 Krasnodar, ul. Atamana Lysenko, 23, pgt. Pashkovskiy, phone: +7 (861) 2 600 900.
DEAR VALUED CONSUMER!
The guarantee period for all appliances amounts to 12 months since the date of sale to the end consumer. With this Warranty Card the Manufacturer confirms the proper condition of the appliance and undertakes to repair, free of charge, all defects caused by the Manufacturer’s default.
GUARANTEE MAINTENANCE TERMS
1. The guarantee shall be valid if the following documentation conditions are observed:
– The original Warranty Card shall be filled out correctly and clearly, indicating the of appliance model, serial number and sale date, the stamp of the seller company and signature of its representative shall be available, as well as the stamps on each coupon and the buyer’s signature in the Warranty Card.
The Manufacturer reserves the right to reject guarantee maintenance if the buyer fails to provide the abovementioned documents or if the information contained therein is incomplete, illegible or ambiguous.
2. The guarantee shall be valid if the following operation conditions are observed:
– the appliance is used in strict accordance with the present manual;
– the safety rules and requirements are observed.
3. The guarantee does not apply to regular maintenance, cleaning, installation and setup of the appliance at the owner’s location.
4. The guarantee does not apply in the following cases:
– mechanical damage;
– normal wear of the appliance;
– non-observance of operation requirements or erroneous actions on the part of the user;
– improper installation or transportation;
– natural disasters (lightning, fire, flood, etc.), as well as any other causes beyond the Manufacturer’s or Seller’s control;
– ingress of foreign objects, liquids or insects into the inside of the appliance;
– repairs or modifications to the appliance by unauthorized persons;
– use of the appliance for commercial purposes (loads exceeding normal domestic application), connection of the appliance to utility and telecommunication networks incompliant with national technical standards;
– failure of the following accessories, if replacement of these is allowed by design and does not involve disassembly of the appliance:
a) remote control units, rechargeable batteries, replaceable batteries (power cells), external power supply units and chargers;
b) consumables and accessories (packaging, covers, slings, carry bags, mesh screens, blades, flasks, plates, supports, grilles, spits, hoses, tubes, brushes, nozzles, dust collectors, filters, smell absorbers);
– for battery-powered appliances - operation with inappropriate or depleted batteries;
– for rechargeable battery-powered appliances - any damage caused by improper battery charging and recharging.
5. The present guarantee is provided by the Manufacturer in addition to the consumer rights determined by the applicable legislation and does not limit these rights in any way.
6. The Manufacturer shall not be made liable for possible damage, directly or indirectly inflicted by CENTEK brand products on people, domestic animals, the consumer’s or third persons’ property if such damage is inflicted as the result of non-observance of appliance installation and operation requirements, deliberate or negligent actions (omission) by the consumer or third persons, as well as of force majeure circumstances.
7. Service centers will only accept appliances in a clean state (there should be no food residues, dust and other contamination on the appliance).
The Manufacturer reserves the right to change the design and specifications of the appliance without prior notice.

Seller
Warranty Card No.
ATTENTION! Please require the Seller to completely fill in the Warranty card and tear-off coupons. The Warranty Card is only valid if completed with all stamps and records.
Product Serial Number
Model Date of Sale
Buyer’s Name(s), Surname and phone no.
TYPE OF REPAIRS DATE OF RECEIPT
DATE OF RETURN
These tear-off coupons shall be filled in by the representative of the service centre
– – – – – – – – – – – – – – – – – – – – – – – – – – – – – – – –
TYPE OF REPAIRS DATE OF RECEIPT
DATE OF RETURN
These tear-off coupons shall be filled in by the representative of the service centre



















