Whirlpool GSC309PVS 30 Inch Electric Built-In Microwave/Oven Combination

IMPORTANT: Save for local electrical inspector’s use.
BUILT-IN MICROWAVE/OVEN COMBINATION SAFETY
| Your safety and the safety of others are very important. We have provided many important safety messages in this manual and on your appliance. Always read and obey all safety messages.
|
INSTALLATION REQUIREMENTS
Tools and Parts
Gather the required tools and parts before starting installation. Read and follow the instructions provided with any tools listed here.
Tools Needed
- Phillips screwdriver
- Measuring tape
- Drill (for wall cabinet installations)
- 1” (2.5 cm) drill bit (for wall cabinet installations)
- Level
- Flat-blade screwdriver
Parts Needed
- UL listed or CSA Approved conduit connector
- UL listed wire connectors
- Warming Drawer Deflector Kit (for ovens installed above a warming drawer):
| Color | Size | Type | Warming Drawer Deflector Kit |
| White | 27” | Combo | W10510613 |
| White | 30” | Combo | W10510614 |
| Black | 27” | Combo | W10531009 |
| Black | 30” | Combo | W10531010 |
| Stainless Steel | 27” | Combo | W10536338 |
| Stainless Steel | 30” | Combo | W10536339 |
| Black Stainless Steel | 27” | Combo | W10888988 |
| Black Stainless Steel | 30” | Combo | W10727416 |
| Bronze | 30” | Combo | W11123007 |
To order, see the “Assistance or Service” section of the Use and Care Guide.
- Flush Installation Kit (for Single and Double installed at flush installation):
| Color | Size | Type | Flush Installation Kit |
| White | 27” | Combo | W11173682 |
| White | 30” | Combo | W11173684 |
| Black | 27” | Combo | W11173686 |
| Black | 30” | Combo | W11173692 |
| Stainless Steel | 27” | Combo | W11173695 |
| Stainless Steel | 30” | Combo | W11123004 |
| Black Stainless Steel | 27” | Combo | W11173701 |
| Black Stainless Steel | 30” | Combo | W11173704 |
| Bronze | 30” | Combo | W11123006 |
To order, see the “Assistance or Service” section of the Use and Care Guide.
Parts Supplied
■ Four #8–14 x 3/4” (19 mm) screws
■ Bottom vent
■ Two #8–18 x 3/8” (9.5 mm) screws — bottom vent
Check local codes. Check existing electrical supply. See the “Electrical Requirements” section.
It is required that all electrical connections be made by a licensed, qualified electrical installed.
Built-In Microwave/Oven Combination Location Requirements
IMPORTANT: Observe all governing codes and ordinances.
- Cabinet opening dimensions that are shown must be used.
Given dimensions provide minimum clearance with oven. - Recessed installation area must provide complete enclosure around the recessed portion of the oven.
- Grounded electrical supply is required. See the “Electrical Requirements” section.
- Electrical supply junction box should be located 3” (7.6 cm) above the cutout 3” (7.6 cm) maximum below the support surface when the oven is installed in a wall cabinet. A 1” (2.5 cm) minimum diameter hole should have been drilled in the right rear or left rear corner of the upper or lower support surface to pass the appliance cable through to the junction box.
- Oven support surface must be solid, level and flush with bottom of cabinet cutout. Floor must be able to support a total weight (microwave and built-in oven) of 208 lbs (95 kg) for 27” (68.6 cm) models or 249 lbs (113 kg) for 30” (76.2 cm) models.
IMPORTANT: To avoid damage to your cabinets, check with your builder or cabinet supplier to make sure that the materials used will not discolor, delaminate or sustain other damage. This oven has been designed in accordance with the requirements of UL and CSA International and complies with the maximum allowable wood cabinet temperatures of 194°F (90°C).
Product Dimensions
27” (68.6 cm) and 30” (76.2 cm) Ovens
27″ (68.6 cm) models
A. 429 ⁄16″ (108.0 cm) overall height
B. 257 ⁄16″ (64.6 cm) recessed width
C. 41″ (104.1 cm) recessed height
D. 23¹⁄4″ (59.1 cm) max. recessed depth
E. 27″ (68.6 cm) overall width
F. 48″ (121.9 cm) Flexible conduit length measured from the conduit clamp located at the rear of the oven. Do not remove the conduit clamp.
30″ (76.2 cm) models
A. 429 ⁄16″ (108.0 cm) overall height
B. 28¹⁄2″ (72.3 cm) recessed width
C. 41″ (104.1 cm) recessed height
D. 23¹⁄4″ (59.1 cm) max. recessed depth
E. 30″ (76.2 cm) overall width
F. 48″ (121.9 cm) Flexible conduit length measured from the conduit clamp located at the rear of the oven. Do not remove the conduit clamp.
Cabinet Dimensions
27” (68.6 cm) and 30” (76.2 cm) Ovens
27″ (68.6 cm) models
A. 27″ (68.6 cm) min. cabinet width
B. 1″ (2.5 cm) top of cutout to bottom of upper cabinet door
C. 19¹⁄4″ (48.9 cm) bottom of cutout to floor is recommended.
4″-19¹⁄4″ (10.2-48.9 cm) bottom of cutout to floor is acceptable.
D. 25¹⁄2″ (64.8 cm) cutout width
E. 1¹⁄2″ (3.8 cm) min. bottom of cutout to top of cabinet door
F. 415 ⁄16″ (105 cm)* recommended cutout height
G. 24″ (60.7 cm) cutout depth
30″ (76.2 cm) models
A. 30″ (76.2 cm) min. cabinet width
B. 1″ (2.5 cm) top of cutout to bottom of upper cabinet door
C. 19¹⁄4″ (48.9 cm) bottom of cutout to floor is recommended.
4″-19¹⁄4″ (10.2-48.9 cm) bottom of cutout to floor is acceptable.
D. 28¹⁄2″ (72.4 cm) cutout width
E. 1¹⁄2″ (3.8 cm) min. bottom of cutout to top of cabinet door
F. 415 ⁄16″ (105 cm)* recommended cutout height
G. 24″ (60.7 cm) cutout depth
* NOTE: The cutout height can be between 41″ (104.1 cm) and 41½” (105.6 cm) for microwave/oven combination.
Electrical Requirements
If codes permit and a separate ground wire is used, it is recommended that a qualified electrical installer determine that the ground path and wire gauge are in accordance with local codes.
Check with a qualified electrical installer if you are not sure the oven is properly grounded.
This oven must be connected to a grounded metal, permanent wiring system.
Be sure that the electrical connection and wire size are adequate and in conformance with the National Electrical Code, ANSI/ NFPA 70-latest edition or CSA Standards C22.1-94, Canadian Electrical Code, Part 1 and C22.2 No. O-M91-latest edition, and all local codes and ordinances.
A copy of the above code standards can be obtained from:
National Fire Protection Association
1 Batterymarch Park
Quincy, MA 02169-7471
CSA International
8501 East Pleasant Valley Road
Cleveland, OH 44131-5575
Electrical Connection
To properly install your oven, you must determine the type of electrical connection you will be using and follow the instructions provided for it here.
- Oven must be connected to the proper electrical voltage, amperage, and frequency as specified on the model/serial/ rating plate. See the following illustration.

- Models rated from 7.3 to 9.6 kW at 240 volts (6.3 to 8.3 kW at 208 volts) require a separate 40-amp circuit. Models rated from 4.9 to 7.2 kW at 240 volts (4.3 to 6.2 kW at 208 volts) require a separate 30-amp circuit. Models rated at 4.8 kW and below at 240 volts (4.2 kW and below at 208 volts) require a separate 20-amp circuit.
- A circuit breaker is recommended.
- Connect directly to the fused disconnect (or circuit breaker box) through flexible, armored or nonmetallic sheathed, copper cable (with grounding wire). See the “Make Electrical Connection” section.
- Flexible conduit from the oven should be connected directly to the junction box.
- Do not cut the conduit. The length of conduit provided is for serviceability of the oven.
- A UL Listed or CSA Approved conduit connector must be provided.
- If the house has aluminum wiring, follow the procedure below:
■ Connect the aluminum wiring using special connectors and/or tools designed and UL Listed for joining copper to aluminum.
Follow the electrical connector manufacturer’s recommended procedure. Aluminum/copper connection must conform with local codes and industry accepted wiring practices.
Be sure that the electrical connection and wire size are adequate and in conformance with the National Electrical Code, ANSI/ NFPA 70-latest edition or CSA Standards C22.1-94, Canadian Electrical Code, Part 1and C22.2 No.
O-M91-latest edition, and all local codes and ordinances.
A copy of the above code standards can be obtained from: National Fire Protection Association 1 Batterymarch Park Quincy, MA 02169-7471 CSA International 8501 East Pleasant Valley Road Cleveland, OH 44131-5575.
For power requirements, refer to the following table.
| Series | Voltage | Frequency | Rating |
| WOC97EC/ | 120/240 V AC | 60 Hz | 7.6 kW |
| WOCA7EC | 120/208 V AC | 60 Hz | 6.2 kW |
| WOC75EC | 120/240 V AC | 60 Hz | 7.5 kW |
| 120/208 V AC | 60 Hz | 6.1 kW | |
| WOC54EC | 120/240 V AC | 60 Hz | 7.5 kW |
| 120/208 V AC | 60 Hz | 6.1 kW |
INSTALLATION INSTRUCTIONS
Prepare Built-In Oven
- Decide on the final location for the oven. Avoid drilling or cutting into house wiring during installation.

Excessive Weight Hazard
Use two or more people to move and install oven.
Failure to do so can result in back or other injury. - To avoid floor damage, set the oven onto cardboard prior to installation. Do not use handle or any portion of the front frame for lifting.
- Remove the shipping materials and tape from the oven. Remember to keep the corner posts and other materials that may be needed for installation.
- Remove the hardware package from inside the package containing literature.
- Remove and set aside racks and other parts from inside the oven.
- Move oven and cardboard close to the oven’s final location.
Remove Oven Door(s)
IMPORTANT: Use two hands to remove oven door. For double ovens, repeat the process for each door.
- Prior to removing the oven door, prepare a surface where you will place it. This surface should be flat and covered with a soft blanket, or use the corner posts from your packaging material.
- Fully open the oven door.

- Locate the oven door hinge locks in both corners of the oven door, and rotate the hinge locks toward the oven door to the unlocked position. If the door hinge lock is not rotated fully (see illustration B), the door will not remove properly

- Gently start to close the door. The door will stop at a partially closed position.

- Using two hands, grasp the edges of the oven door. Close the oven door slightly past the stop position to take the weight off of the door hinges, and then pull the oven door up.

- Pull the oven door toward you, and then remove it. You may need to gently shift the door from side to side as you pull.

- Set the oven door aside on the prepared covered work surface with the oven door resting on its handle.
Replace Oven Door(s)
- Using two hands, grasp side edges of door at the midpoint. Face the oven cavity.
- Locate the slots on each side of the oven front frame for the door hinge locks.

- Using two hands, grasp the edges of the oven door. At a 45° angle, insert the hinges at the same time, and push the oven door into the oven cavity slot to replace. You may need to gently shift the door from side to side as you push.

- Make sure the door hinge notch is engaged on the bottom of the oven cavity slot.

IMPORTANT: Do not close the door at this step or damage may occur to the door hinge. - Lower the oven door to the fully open position. If the oven door does not open to a full 90°, repeat steps 1 through 3.
- Locate the oven door hinge locks in the corners of the oven door, and rotate the hinge locks toward the oven cavity to the locked position.

- After the door hinges have been locked, gently swing the door upward to close. The door should not be forced closed.
- When the hinges are properly installed and the door is closed, there should be an even gap between the door and the control panel. If one side of the oven door is lower than the other, the hinge on that side is not properly installed.
Make Electrical Connection
![]() ![]() |
| Electrical Shock Hazard Disconnect power before servicing. Use 8 gauge copper wire. Electrically ground oven. Failure to follow these instructions can result in death, fire, or electrical shock. |
This oven is manufactured with a neutral (white) power supply wire and a cabinet-connected green (or bare) ground wire twisted together.
- Disconnect power.
- Feed the flexible conduit from the oven through the opening in the cabinet.
- Remove junction box cover, if it is present.
- Install a UL Listed or CSA Approved conduit connector to the junction box.

- Route the flexible conduit from the oven to the junction box through a UL Listed or CSA Approved conduit connector.
- Tighten screws on conduit connector.
- See the “Electrical Connection Options Chart” to complete installation for your type of electrical connection.
Electrical Connection Options Chart
| If your home has: | Go to section: |
4-Wire![]() | 4-Wire Cable from Home Power Supply |
3-Wire![]() | 3-Wire Cable from Home Power Supply |
4-Wire Cable from Home Power Supply
IMPORTANT: Use the 4-wire cable from home power supply in the U.S. where local codes do not allow grounding through neutral, New Branch circuit installations (1996 NEC), mobile homes and recreational vehicles, new construction and in Canada.

A. Cable from home power supply
B. Black wires
C. Red wires
D. 4-wire flexible conduit from oven
E. Junction box
F. White wires
G. UL listed wire connectors
H. Green (or bare) ground wires
I. UL Listed or CSA Approved conduit connector
- Connect the two black wires (B) together using a UL Listed wire connector.
- Connect the two red wires (C) together using a UL Listed wire connector.
- Untwist white wire from green (or bare) ground wire coming from the oven.
- Connect the two white wires (F) together using a UL Listed wire connector.
- Connect the green (or bare) ground wire (H) from the oven cable to the green (or bare) ground wire (in the junction box) using a UL Listed wire connector.
- Install junction box cover.
3-Wire Cable from Home Power Supply: U.S. Only
IMPORTANT: Use the 3-wire cable from home power supply where local codes permit a 3-wire connection.

A. Cable from home power supply
B. Junction box
C. Black wires
D. White wires
E. Green (or bare) ground wire (from oven)
F. 4-wire flexible conduit from oven
G. Red wires
H. UL Listed wire connectors
I. UL Listed or CSA Approved conduit connector
- Connect the two black wires (C) together using a UL Listed wire connector.
- Connect the two white wires (D) and the green (or bare) ground wire (of the oven cable) using a UL Listed wire connector.
- Connect the two red wires (G) together using a UL Listed wire connector.
- Install junction box cover.
Install Oven
- Using two or more people, lift the oven partially into cabinet cutout. Use the oven opening as an area to grip.
NOTE: Push against seal area of oven front frame when pushing oven into cabinet. Do not push against the outside edges.
- Push against the seal area of the front frame to push the oven into the cabinet until the back surface of the front frame touches the front wall of the cabinet.

- Push the oven completely into the cabinet and center oven into cabinet cutout.
- Remove the tape from the black front trim, and remove the zip tie from the mounting spacer.
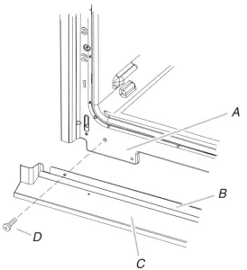
■ Securely fasten the oven to the cabinet using the #8-14 x 1″ screws provided.
■ Insert the screws through holes in black trim, aligning with the holes in oven frame and mounting spacers already in place. Do not overtighten screws.
A. 1Oven frame
B. Mounting spacer
C. Oven frame hole
D. Black trim piece - The bottom vent and bottom vent trim (required when the oven is installed with the feet in the tall position) are shipped in the foam packing at the top of the oven.
To install only the bottom vent, see the following instructions.
To install both the bottom vent and the bottom vent trim for installations with the feet in the tall position, see the instructions in Step 6.
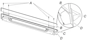
■ Align vent tab (B) with oven frame (A) as shown.
■ Using one #8-18 x 3/8″ (9.5 mm) screw (D) on each side of the vent tab (B), fasten the vent securely to the oven.
A. Oven frame
B. Vent tab
C. Oven vent
D. #8-18 x 3/8″ (9.5 mm) screws - On models with the feet installed in the tall position, the bottom vent trim must also be installed. See the following instructions to install.
■ Flex the upper vent piece (C) away from the lower vent piece (D) to slide the bottom vent trim (B) between them.
Some force may be required to flex the upper vent trim (C) away from the lower vent trim (D). Some force may also be required to flex the bottom vent trim (B) and slide it into position. Make sure screw holes are properly aligned between the two pieces. See the following illustration.
■ Install the bottom vent trim (B) to the lower vent piece (D) using two #8-18 x 1/4″ (6.4 mm) screws on each side.
A. #8-18 x 1/4″ (6.4 mm) screws
B. Bottom vent trim
C. Upper vent piece
D. Lower vent piece
■ Align vent tab (B) with oven frame (A) as shown.
■ Using one #8-18 x 3/8″ (9.5 mm) screw (E) on each side of the vent tab (B), fasten the vent securely to the oven.
A. Oven frame
B. Vent tab
C. Oven vent
D. Bottom vent trim
E. #8-18 x 3/8″ (9.5 mm) screw - Replace the oven racks.
- Replace the oven door. See the “Replace Oven Door(s)” section.
- Check that the door is free to open and close. If it is not, repeat the removal and installation procedures. See the “Prepare Built-In Oven” section.
- Repeat for lower oven door.
- Reconnect power.
- The display panel will light briefly, and “PF” should appear in the display.
- If the display panel does not light, reference the “Warranty” section of the Use and Care Guide.
Install Warming Drawer Deflector Kit (only for ovens installed above warming drawers)
On combo microwave/oven models installed above a warming drawer, a warming drawer deflector kit must be installed. See the “Tools and Parts” section for information on ordering.
Parts Supplied

A. Phillips head screws (4) only 2 screws for 27″ (68.6 cm) size
B. Warming drawer deflector (1)
Install Deflector Kit
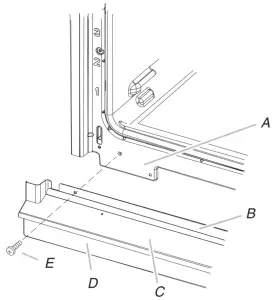
- Align the deflector (B) with the vent (C) as shown.
- Using two #8-18 x 1/4″ (6.4 mm) screws (A) on each side of the deflector (B), fasten the deflector securely to the vent.
NOTE: On 27″ (68.6 cm) models, only one #8–18 x 1/4″ (6.4 mm) screw is used on each side.
A. #8–18 x 1/4″ (6.4 mm) screws
B. Warming drawer deflector
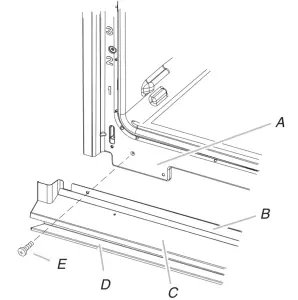
C. Vent - Align vent tab (B) with oven frame (A) as shown.
- Using one #8-18 x 3/8″ (9.5 mm) screw (E) on each side of the vent tab (B), fasten the vent securely to the oven.

A. Oven frame
B. Vent tab
C. Oven vent
D. Warming drawer deflector
E. #8–18 x 3/8″ (9.5 mm) screw
Complete Installation
- Check that all parts are now installed. If there is an extra part, go back through the steps to see which step was skipped.
- Check that you have all of your tools.
- Dispose of/recycle all packaging materials.
- For oven use and cleaning, read the Use and Care Guide.
Check Operation of Lower Oven
- At first use, set up the languages, clock, and any other preferences, if available. For more information, read the Use and Care Guide.
- Press OVEN.
- Select Cooking Method.
- Select BROIL.
- Set the temperature.
- Press START.
If oven does not operate, check the following:
■ Household fuse is intact and tight or circuit breaker has not tripped.
■ Electrical supply is connected.
■ See the “Troubleshooting” section in the Use and Care Guide. - When oven has been on for 5 minutes, check for heat.
If you do not feel heat or if an error message appears in the display, turn off the oven and contact a qualified technician. - Press OVEN on single ovens to cancel.
■ Press UPPER/LOWER on double ovens to cancel.
Check Operation of Microwave Oven
- Fill a microwave-safe container with 1 cup (250 mL) of water and place container inside microwave oven. Close door firmly.
- Press MICROWAVE.
- Select Cooking Method.
- Set microwave oven cook time to 2 minutes.
- Press START. The interior microwave oven light should be on, and the remaining cooking time should be displayed.
When display reads “1:00”, open microwave oven door.
The microwave should stop cooking. Close door firmly. The interior microwave oven light should turn off. - Press START. Microwave oven should begin cooking, and the microwave oven interior light should be on.
Let microwave oven complete cooking time. A tone will sound four times at the end of the cooking time, and the microwave oven will shut off. - Open microwave oven door and slowly remove container.
Water in container should be hot.
If you need Assistance or Service:
Please reference the “Assistance or Service” section of the Use and Care Guide or contact the dealer from whom you purchased your built-in and microwave ovens.
©2017 All rights reserved. Used under license in Canada.
This is the safety alert symbol.








































