3515301 Compact Palm Router Saw
Instructions

Please read all instructions carefully before use and retain them for future reference.
CAUTION Do not immerse in water.
Wear a dust mask
Protect your hands.
Protective clothing must be worn
Protect your eyes.
Protect your ears.
PRODUCT DISPOSAL INFORMATION
For electrical products sold within the European Community, at the end of the electrical product’s useful life, they should not be disposed of with household waste. Please recycle where facilities exist. Contact your local authority for details of collection schemes in your area.
In all circumstances:
Do not dispose of the domestic waste.
Do not incinerate.
Do not abandon the environment.
Do not dispose of WEEE as unsorted municipal waste.
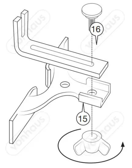
Please read all instructions carefully before use and retain them for future reference.
INTENDED USE Only operates the power tool/machine for its intended purpose and within the parameters specified in this manual.
This power tool/machine is for domestic use only. Do not use outdoors or on wet surfaces.
This power tool/machine is not intended for use by persons with reduced physical, sensory or mental capabilities, or lack of experience and knowledge unless supervised or given appropriate instruction concerning the product’s use by a person responsible for their safety.
GENERAL PRECAUTION Do not allow it to be used as a toy. Children should be supervised to ensure they do not play with the power tool/machine.
If the power tool/machine is not functioning properly, has been dropped, damaged, left outdoors, or immersed in liquid, do not use it, contact DOMU Brands Customer Services.
Do not use the power tool/machine if any parts appear to be faulty, missing or damaged.
Ensure all parts are securely attached before use.
RISK OF PERSONAL INJURY Avoids body contact with earthed or grounded surfaces such as pipes, radiators, ranges, and refrigerators. There is an increased risk of electric shock if your body is earthed or grounded.
Prevent unintentional starting. Ensure the switch is in the off position before connecting to the power source and/ or battery pack, picking up or carrying the tool. Carrying power tools with your finger on the switch, or energizing power tools that are switched on, invite accidents.
Do not operate power tools in explosive atmospheres such as in the presence of flammable liquids, gases or dust. Power tools create sparks that may ignite dust or fumes.
Always wear eye protection. Any power tool can throw foreign objects into your eyes and cause permanent eye damage. Always wear safety goggles (not glasses) that comply with ANSI safety standard Z87.1. Everyday glasses have only impact-resistant lenses.
Do not expose power tools to rain or wet conditions. Water entering the power tools will increase the risk of electric shock. Stay alert, watch what you are doing, and use common sense when operating a power tool/machine. Do not use a power tool/machine while you are tired or under the influence of drugs, alcohol, or medication. A moment of inattention while operating a power tool/machine may result in serious personal injury.
Use personal protective equipment. Always wear eye protection. Protective equipment such as dust masks, non-skid safety shoes, hard hats, or hearing protection used for appropriate conditions will reduce personal injuries.
Prevent unintentional starting. Ensure the switch is in the off-position before connecting to a power source and/or battery pack, picking up or carrying the tool.
Carrying a power tool/machine with your finger on the switch or energizing a power tool/machine that has the switch on invites accidents.
Remove any adjusting key or spanner before turning the power tool/machine on. A spanner or a key left attached to a rotating part of the power tool/machine may result in personal injury.
Do not overreach. Keep proper footing and balance at all times. This enables better control of the power tool/ machine in unexpected situations.
Dress appropriately. Do not wear loose clothing or jewelry.
Keep your hair, clothing, and gloves away from moving parts. Loose clothes, jewelry or long hair can be caught in moving parts.
If devices are provided for the connection of dust extraction and collection facilities, ensure these are connected and properly used.
The use of dust collection can reduce dust-related hazards.
WORK AREA SAFETY Keep the work area clean and well-lit. Cluttered or dark areas invite accidents.
Do not operate power tools/machines in explosive atmospheres, such as in the presence of flammable liquids, gases, or dust.
Power tools/machines create sparks that may ignite dust or fumes.
Keep children and bystanders away while operating a power tool/machine. Distractions can cause you to lose control.
GENERAL POWER TOOL USE AND CARE
Do not force the power tool/machine. Use the correct power tool/machine for your application. The correct power tool/machine will do the job better and safer at the rate at which it was designed.
Do not use the power tool/machine if the switch does not turn on and off. Any power tool/machine that cannot be controlled with the switch is dangerous and must be repaired.
Disconnect the plug from the power source and/or the battery pack from the power tool/machine before making any adjustments, changing accessories, or storing power tool/machine tools. Such preventive safety measures reduce the risk of starting the power tool/machine accidentally.
Store idle power tool/machine out of the reach of children and do not allow persons unfamiliar with the power tool/ machine or these instructions to operate the power tool/machine.
Power tools/machines are dangerous in the hands of untrained users.
Maintain power tools/machines. Check for misalignment or binding of moving parts, breakage of parts, and any other condition that may affect the power tool/machine’s operation. If damaged, have the power tool/machines repaired before use. Many accidents are caused by poorly maintained power tool/machines.
Keep cutting tools sharp and clean.
Properly maintained cutting tools with sharp cutting edges are less likely to bind and are easier to control.
Use the power tool/machine accessories and tool bits in accordance with these instructions, and take into account the working conditions and the work to be performed.
Use of the power tool/machine for operations different from those intended could result in a hazardous situation.
CLEANING & MAINTENANCE
Never soak or immerse electrical components and or a component that has a plug attached.
Disconnect the plug from the power source before making any adjustments, changing accessories, or storing. Such preventive safety measures reduce the risk of starting the power tool accidentally.
Ensure the motor has fully stopped before cleaning, clearing a blockage, checking, or carrying out any maintenance on the tool.
Maintain your power tool. Check for misalignment or binding of moving parts, breakage of parts, and any other condition that may affect the power tool’s operation. If damaged, have the power tool repaired by a qualified repair person before use. Many accidents are caused by poorly maintained power tools.
Keep cutting tools sharp and clean. Properly maintained cutting tools with sharp cutting edges are less likely to bind and are easier to control.
Regularly check external nuts and fixings to ensure vibration caused by normal use has not begun to loosen them. Store idle power tools out of reach of children and do not allow persons unfamiliar with the power tool or these instructions to operate the Breaker.
Locate the power tool out of reach of children, in a dry, locked unit.
Make sure that the cord is located so that it will not be stepped on, tripped over, or otherwise subjected to damage or stress.
Remove the plug from the main socket/battery (where applicable) before carrying out any adjustment or maintenance.
Always store the power tool/machine in a dry place.
If the power cord is damaged, it must be replaced by a qualified service technician.
Keep the ventilation slots and motor housing as free of dirt and dust as possible (where applicable).
Clean the power tool/machine by rubbing it with a clean cloth and blowing it clean using low-pressure compressed air is recommended.
Ensure you have all the pieces listed. If you are missing any components, contact our customer services department at
[email protected] (UK/EU)
[email protected] (US). DO NOT proceed with assembly if any components are missing.
HAND-HELD ROUTERS & TRIMMERS
Hold the power tool by insulated gripping surfaces when performing an operation where the cutting accessory may contact hidden wiring or its own cord. A cutting accessory contacting a “live” wire may make exposed metal parts of the power tool “live” and could give the operator an electric shock.
Keep hands away from the cutting area. Never reach underneath a workpiece for any reason. Do not insert fingers or thumb into the vicinity of the accessory/ sanding attachments. Do not force the power tool. Use the correct power tool for your application. The correct power tool will do the job better and safer at the rate at which it was designed.
Do not overreach. Keep proper footing and balance at all times. This will enable better control of the power tool in unexpected situations.
Disconnect the plug from the power source before making any adjustments, changing accessories, or storing.
Such preventative safety measures reduce the risk of starting the power tool accidentally.
The accessory will continue to move after releasing the switch. Always switch the tool off and wait for the accessory to come to a complete standstill before putting the tool down.
Do not touch the workpiece or the accessory immediately after operating the tool. They can become very hot.
TECHNICAL SPECIFICATION
Rated Voltage 220-240V ~
Rated Power 710W
Rated Frequency 50/60Hz
DECLARATION OF CONFORMITY
We
DOMU Brands Ltd
5th Floor The Tower
Deva City Office Park
Manchester
M3 7BF
Declare under our sole responsibility the product:
SKU
3515301 / 8100025
Description
Compact Router
Complies with the essential requirements of the following directives:
2006/42/EC
2014/30/EU
2011/65/EU
And the Standards
BS EN 60745-1:2009+A11:2010, BS EN 60745-2-17:2010, EN 55014-1:2006+A1+A2, EN 55014-2:2015, EN 61000-32:2014, EN 61000-3-3:2013
Authorized Signatory on behalf of DOMU Brands Ltd.

COMPONENTS

COMPONENT LIST
| 1. Collet Chuck 1/4” | 10. On/Off Switch |
| 2. Collet Chuck (3515301: 3/8” / 8100025: 6mm + 8mm) | 11. Brush Cap |
| 3. Curved Edge Guide | 12. Scale + Adjustment Runner |
| 4. Dust Nozzle | 13. Spindle Lock |
| 5. Trimmer Base | 14. Collet Nut |
| 6. Height Adjusting Screw | 15. Guide Plate |
| 7. Locking Lever | 16. Straight Edge Guide |
| 8. Attachment Screw | 17. Wrench |
| 9. Speed Wheel |
BIT ASSEMBLY

INSTALLING THE BASE

INSTALLING THE VACUUM ACCESSORY

STRAIGHT GUIDE ASSEMBLY



CIRCULAR CUTTING

CURVED EDGE GUIDE


OPERATION

ADJUSTING THE SPEED

| N° | Min-¹ |
| 1 | 13,000 |
| 2 | 17,000 |
| 3 | 22,000 |
| 4 | 29,000 |
| 5 | 31,000 |
| 6 | 33,000 |
BASE DIMENSIONS

![]()
DISPOSAL INFORMATION Please recycle where facilities exist. Check with your local authority for recycling advice.
CUSTOMER SERVICE If you are having difficulty using this product and require support, please contact
[email protected] (UK/EU)
[email protected] (US)
WARRANTY To register your product and find out if you qualify for a free extended warranty please go to www.vonhaus.com/warranty. Please retain a proof of purchase receipt or statement as proof of the purchase date. The warranty only applies if the product is used solely in the manner indicated in the warnings page of this manual, and all other instructions have been followed accurately. Any abuse of the product or the manner in which it is used will invalidate the warranty. Returned goods will not be accepted unless re-packaged in their original packaging and accompanied by a relevant and completed returns form. This does not affect your statutory rights. No rights are given under this warranty to a person acquiring the appliance second-hand or for commercial or communal use.
COPYRIGHT All materials in this instruction manual are copyrighted by DOMU Brands.Any unauthorized use may violate worldwide copyright, trademark, and other laws.
THANK YOU
Thank you for purchasing your product/appliance.
Should you require further assistance with your purchase, you can contact us at [email protected] (UK/EU)
[email protected](US)
VonHaus is a registered trademark of DOMU Brands Ltd. Made in China for DOMU Brands. M24 2RW.


















