DRIFTER Plus RC Truck
Instruction Manual
DRIFTER Plus RC Truck
Thank you for purchasing the DRIFTER+™. With proper care, your new DRIFTER+™ will provide you with many hours of enjoyment. Please read this instruction manual completely before using the product for the first time and then keep this manual in a handy place for future reference.
Colors and styles may vary slightly.
PACKAGE CONTENTS
- 1 DRIFTER+™ RC Truck
- 1 2.4G wireless controller
- 1 USB charging cord
- 1 Additional set of enhanced performance tires
- 1 Spanner
- 4 Street cones
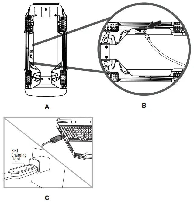
CHARGING THE BATTERY
- Turn off your DRIFTER+™ and plug the included USB charging cord into the charging socket on the bottom of the DRIFTER+™ (see diagram A).
- Connect the other end of the USB cable to either your computers USB port or a UL/CE approved USB wall charger (see diagram B). IMPORTANT: If using a high-speed USB wall adapter make sure that the output is less than 7V otherwise the DRIFTER+™’s internal charging circuit will shut down for safety reasons and not allow the DRIFTER+™ to accept the charge. The CHARGE indicator light turns red while the charging is in progress and green when the DRIFTER+™ is fully charged.
- The charging time may vary depending on the remaining percentage of charge the battery had left in it from previous use. Average charging time is approximately 40-50 minutes. The truck operates for approximately12-15 minutes on full charge.
- Don’t forget the green LED charging indicator on the USB cord turns ON when the battery is fully charged.
*SAFETY TIP: Periodically examine the USB charging cord for external damage. External damage to the charging cord may result in the risk of fire or electric shock. Never use a damaged charging cord or compromised wall adapter.
INSTALLING BATTERIES INTO THE REMOTE CONTROL
Turn the included remote controller upside down with the battery door facing you. Secure the controller with one hand and with your other hand place your thumb on the center of battery door and slide the cover off (see diagram D). Insert 3 AA batteries into the battery compartment. Make sure to match the polarity (+ and -) marked clearly inside the battery compartment. Replace the battery cover by sliding it in the reverse direction until you hear a “click” sound notifying that the cover is locked in place and secure.
TRUCK DIAGRAM

REMOTE DIAGRAM
SYNCING YOUR DRIFTER+™
Your DRIFTER+™ utilizes an automatic 2.4G digital channel selection system that allows up to 8 individual players to race side by side in the same wireless range without interference.
FOR SOLO PLAYER:
- Before starting, make sure that the power on both your remote control and truck are in the OFF position (the on off power button is on the under carriage of the truck next to the charging socket)
- First turn ON the truck and set it down on a flat surface. The head lamps will be flashing rapidly letting know that the truck has power and is ready for syncing.
- Next turn ON the remote control. The head lamps should stop flashing and immediately become solid indicating that you have successfully synced your DRIFTER+™.
*Note: If pairing fails first make the sure that batteries are properly installed in the controller and truck and then turn both off and repeat steps 1-3 above.
FOR MULTIPLE PLAYERS:
- Before starting, make sure that the power on all the trucks and all the controllers are in the OFF position.
- Following a one by one sequence, each player should sync their truck one at a time by Follow steps 1 to 3 above.
- IMPORTANT: after syncing each truck, make sure to leave each truck ON until all players have completed the syncing process.
- If there is an interference problem, all players must turn off their controllers and trucks and restart the process again.
HOW TO OPERATE YOUR DRIFTER+™:
SPEED SETTINGS
Your DRIFTER+™ comes with 3 speed settings for beginner and more advanced drivers; (SLOW,MEDIUM and HIGH). The Default setting when you first turn on your DRIFTER+™ is MEDIUM. For beginner drivers we suggest you start in the SLOW SPEED setting (SEE SPEED MODE SWITCH DIAGRAM E). In the low speed setting your DRIFTER+™ has all the same proportional steering and proportional acceleration functions as in the high speed setting but the speed is governed for younger drivers and beginners who are just learning how to control their new vehicle. In HIGH SPEED setting the DRIFTER+ ™ can reach its maximum speed and power.
Short press speed button you can switch among the 3 speed settings and the beeps indicating which speed you are in. 1 beep stands for slow speed/2 beeps stands for medium speed/3 beeps stands for high speed.
PROPERLY USING THE THROTTLE
The DRIFTER+™ is unlike most toy RC cars as it uses digital proportion acceleration. This feature comes from the higher-end hobby car industry and it makes driving your DRIFTER+™ so much more fun and controllable!
With digital proportional speed your DRIFTER+™ has a wide range of sensitivity and speed control. For example; you can practice driving very slowly, you can control the rate of acceleration and you can adjust your speed up and down on the fly creating tight turns or instant straight-away acceleration. The digital throttle is very sensitive so we strongly suggest to begin practicing with a very gentle finger on the throttle until you can begin to understand and feel how to control the speed.
REACHING TOP SPEEDS
The DRIFTER+™ has been clocked at speeds above 20MPH. To achieve the vehicles top speeds, you must first have a large open outdoor space with a fairly smooth and hard surface. Make sure you have at least 100 feet of length and 12 feet of unobstructed width for your runway (6 feet on either side of your vehicle). Next make sure your controller speed setting is set to HIGH SPEED mode. Next adjust and test the left/right trim so the DRIFTER+™ drives in a fairly straight line without steering wheel input.
Now you’re ready! Let go of the steering wheel and allow the tires be held in line by the automatic digital steering control system. From zero start the truck rolling by gently, gradually and consistently pulling back the throttle until the throttle stick hits the back wall of the controller.
PRO TIP: You will need to make very tiny left / right steering inputs to keep the DRIFTER+™ in a straight line while you push the DRIFTER+™ to maximum velocity! *Road condition, environmental condition and operator skill can affect performance.
ADJUSTING THE TRIM
The DRIFTER+™ comes with a digital proportional steering system. This special steering system allows the driver to perform more accurate turning functions and helps to keep the car in-control on the road! Before starting play, and from time to time after using your DRIFTER+™(especially after a few crashes and rolls), you should adjust your steering trim so the DRIFTER+™ drives in a “generally straight” line without touching the steering wheel. On the face of your controller you will see the trim button with an L and R (right and left) on either side (SEE DIAGRAM F) with the power button on and truck synced to the controller, slowly turn the Trim Dial right and left. You should see the front tires move (note you should not be driving the car or touching the throttle while trimming). Once you feel the tires are straight you should test this by not touching the steering wheel and just gently pulling on the throttle. The car should follow a “generally straight line”.
Note it is normal for the car to have a slight leftward or rightward drift. This will not affect steering and driving performance.
PROPERLY STEERING THE VEHICLE
The DRIFTER+™ has 6-way control with digital proportional steering. The DRIFTER+™ has the ability to go straight-forward, straight-backwards, forward-left, forward-right, reverse-left and reverse-right (See Diagram G). Digital Proportional Steering is a unique feature rarely found on toy RC vehicles. With the DRIFTER+™ proportional steering system you can accurately control your vehicle in all types of situations making driving this truck a blast! We suggest practicing with gentle movements on the steering wheel so you can get used to the feeling and sensitivity of the DRIFTER+™ steering system. Start slow and remember practice makes perfect!
ENHANCED PERFORMANCE TIRES
Your DRIFTER+™ comes with a pair of grey colored enhanced performance tires (see image H) these enhanced performance tires were made out of extra-soft TPR with lower internal air-compression for improved steering control on smooth or slippery surfaces. The enhanced performance tires are great for indoor or outdoor racing when you need extra control on smooth surfaces.
PRO TIP: The performance tires are not advisable for off-roading or rougher roads and street terrain.
Noted: Please use the 4mm size socket of the cross-shaped wrench that is marked with an arrow to replace the tire (see the diagram I).
WARNING
DO NOT USE TRUCK IN INCLEMENT WEATHER!![]()
TROUBLESHOOTING
Before sending your truck in for repair, please check for a solution below.
| Problem | Possible Cause(s) | Solution |
| Truck will not move. | Weak batteries; no batteries | Install new batteries in remote control and recharge the truck. |
| Truck does not respond properly to remote control. | Truck and remote not synced properly Another RC truck may be transmitting on the same radio frequency | Refer to sync section and re-sync your truck and remote. Move to a new location where no other RC trucks are present. |
| Truck loses connection to remote control. | Using truck in a small enclosed area Using truck indoors Low batteries in transmitter or vehicle | Move outdoors to a large open area. Install new batteries in remote control or recharge your truck. |
| Truck battery is fully charged, but slower than normal. | Driving truck for too long at high speeds, causing motor to overheat | Turn truck off for 10-15 minutes. |
SAFETY WARNINGS!
- Improper use of batteries may lead to overheating, breakage or leaking.
– Do not mix old and new batteries.
– Do not mix different battery brands.
– Install batteries with correct polarity. The flat side (negative terminal) of the battery should rest against the spring.
– Remove dead batteries immediately.
– Avoid liquids, which can short circuit the batteries.
– The truck or remote will become unresponsive when batteries are low, at which point you should replace all batteries with new ones.
– Remove the batteries if you will not use the truck for a long time. - Avoid using near furniture or glass to prevent damage to these objects.
- Do not play on roads.
- Do not play in crowded areas to avoid injury or damage. Choose a safe location away from traffic.
- Do not use truck during a storm or when lightning or thunder are present.
- Do not use in a wet , sandy or muddy environment as truck may become damaged.
- Do not modify or attempt to replace the built-in original antenna on the remote or truck. Doing so will damage the set and affect operation.
- Do not pull on any wires that are part of the truck. Such action may cause the wires to break and the truck to malfunction.
- Keep fingers, hair and clothes away from the truck’s spinning tires. Failure to do so may result in physical injury.
- Never aim the truck at other people.
- Do not throw the truck or purposely hit it with any object.
- Store truck in a cool environment, away from high-temperature sources such as fires, stoves, radiators, etc.
- This truck has no user-serviceable parts. Do not attempt to modify components or circuit board.
- This toy is only to be connected to equipment bearing either of the following symbols:
or 
RECHARGEABLE BATTERY:
This DRIFTER+™ uses an internal rechargeable battery and is not replaceable. If the battery no longer stays charged, dispose of it properly according to local disposal requirements.
CAUTION: If the rechargeable battery leaks fluid, avoid contact with eyes and dispose of the DRIFTER+™.
Limited 90-Day Warranty
NORTH AMERICA
AMAX Group USA warrants to the original consumer that this product is free from any electrical or mechanical defects for a period of 90 DAYS from the date of purchase. If any such defect is discovered within the warranty period, AMAX Group USA will repair or replace the unit free of charge upon receipt of the unit, shipped postage prepaid and insured to our warranty center ALONG WITH THE ORIGINAL RECEIPT evidencing that the product was purchased from an approved AMAX retail partner and that the product is still within the 90 day warranty period. The warranty covers normal consumer use and does not cover damage that occurs in shipment or failure that results from alterations, accident, misuse, abuse, neglect, wear and tear, inadequate maintenance, commercial use or unreasonable use of the unit. Removal of any parts/components voids all warranties. This warranty does not cover cost of repairs made or attempted outside by third-party individuals or companies. Any applicable implied warranties, including warranties of merchantability and fitness, are hereby limited to 90 DAYS from the date of purchase. Consequential or incidental damages resulting from a breach of any applicable express or implied warranties are hereby excluded. Some states do not allow limitations on the duration of implied warranties and do not allow exclusion of incidental or consequential damages, so the above limitations and exclusions in these instances may not apply.
REPAIR/REPLACE PRODUCT
If your product begins to malfunction or stop working, immediately contact our warranty center (contact details listed below). If it is determined that a return is necessary, our warranty department will issue you an RMA number/form and an address to the nearest return center for shipping the product to us. When honoring the warranty, AMAX reserves the right to either repair, replace or refund the product.
IMPORTANT NOTICE:
We will reject and return to sender returns that are not accompanied by an AMAX issued RMA form and RMA number so make sure to contact our warranty center before attempting to return your product!
PREPARATION FOR SHIPPING YOUR PRODUCT:
Please repack your product in a durable box, preferably in the original carton, and send it prepaid, and adequately insured. Include the RMA form that was issued by our warranty department along with your daytime telephone number and email address inside the shipping carton. If your warranty has expired and you still require service please contact our customer care team For further information please send all inquiries to: [email protected]
FCC Part 15 C Notice
CAUTION: Changes or modifications not expressly approved by the party responsible for compliance could void the user’s authority to operate the equipment.
NOTE: This equipment has been tested and found to comply with the limits for a Class B digital device, pursuant to Part 15 of the FCC Rules. These limits are designed to provide reasonable protection against harmful interference in a residential installation. This equipment generates, uses and can radiate radio frequency energy and, if not installed and used in accordance with the instructions, may cause harmful interference to radio communications. However, there is no guarantee that interference will not occur in a particular installation. If this equipment does cause harmful interference to radio or television reception, which can be determined by turning the equipment off and on, the user is encouraged to try to correct the interference by one or more of the following measures:
- Reorient or relocate the receiving antenna.
- Increase the separation between the equipment and receiver.
- Connect the equipment into an outlet on a circuit different from that to which the receiver is connected.
- Consult the dealer or experienced radio/TV technician for help.
This device complies with Part 15 of the FCC Rules. Operation is subject to the following two conditions :
(1) this device may not cause harmful interference, and
(2) this device must accept any interference received, including interference that may cause undesired operation.
WARNING
CHOKING HAZARD – Small Parts. Not for Children under 3 years.
Conforms to safety requirements of ASTM, FCC and CPSIA.
This product is manufactured by Amax Group
Office No.3,10/F Witty Commercial Building 1A-1L Tung Choi street, Mongkok. Kowloon Hongkong
Power Craze™ & DRIFTER+™ are the registered trademark of Amax Group
©2022 All rights reserved.
Made in China



















