RC4WD Z-B0126 Black Hawk Body Set User Manual
RECOMMENDED TOOLS






Instruction Manual Symbols Key











Tips for Assembly
- Use good quality hex drivers to avoid stripping screw heads.
- Open kit bags in order of assembly steps.
- Use “Step” index for quantity and size of hardware to be used for assembly step.
- Do not overtighten screws.
- Use thread lock sparingly.
- We recommend using Foam Safe CA glue or a plastic solvent glue.
Warranty
RC4WD non-electrical products are warranted to be free of defects in materials and workmanship when new. Our limited warranty does not coverdamages due to normal wear and tear, user error of assembly or installation, user modifications, user’s failure to perform routine maintenance, addition of aftermarket parts or option parts. This warranty lasts 30 days after arrival for original purchaser. In the event of a defect under this warranty, RC4WD will, at our discretion, replace the product, provided ourinspection indicates that an original defect exists. RC4WD reserves the right to replace any product which is no longer available with a product of comparable value and function. If RC4WD determines the repair is not covered under warranty guidelines, we will contact you to discuss your options. If you have any questions, please contact us via email at [email protected]. RC4WD warranties its electronics for 30 days from date of arrival. This covers all electrical items except items that are already noted on the individual producT.
Step 1

Step 2

Step 3

Step 4
150-0217 M2.5 x 6mm BHSTS X

Step 5

Step 6

Step 7

Step 8

Step 9

Step10

Step11

Step12

Step13
Holes may require body reamer. Take care to not force the pegs in holes as this may break them off

Step14
Holes may require body reamer. Take care to not force the pegs in holes as this may break them off. Holes may require body reamer. Take care to not force the pegs in holes as this may break them off.

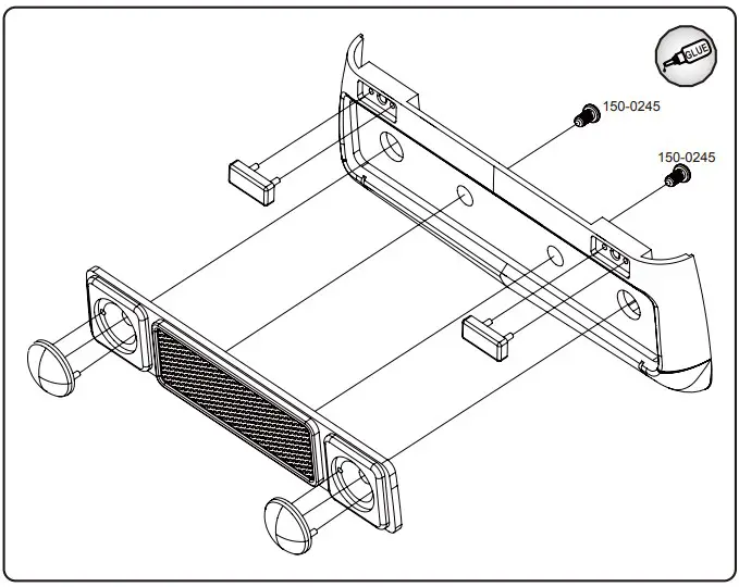
Step15
Holes may require body reamer. Take care to not force the pegs in holes as this may break them off.

Step16

Optional Parts
Partes opcionales / Pièces en option / Optionale teile
Z-E0102 LED Basic Lighting System for 1/18 Black Hawk Body Set




















