

ILLUMINATED MAKEUP MIRROR


Operation and safety notes



| List of pictograms used | |
| Direct current / voltage | |
| Batteries included | |
| The product is only suitable for use indoors. | |
| Class III product | |
![]() | CE mark indicates conformity with relevant EU directives applicable for this product. |
Illuminated Makeup Mirror
Introduction
We congratulate you on the purchase of your new product. You have chosen a high-quality product. The instructions for use are part of the product. They contain important information concerning safety, use, and disposal. Before using the product, please familiarise yourself with all of the safety information and instructions for use. Only use the product as described and for the specified applications. If you pass the product on to anyone else, please ensure that you also pass on all the documentation with it.
Intended use
This product is only intended for use as a cosmetic mirror and the light only supports a better view without shadows. The product is designed for private household use only and must not be used in medicinal or commercial areas. The manufacturer is not liable for damage caused by improper use.
Not suitable for ordinary lighting in household room illumination.
The product is only suitable for use indoors.
Parts description
- Main body
- Mirror
- LED light
- Stand
- ON / OFF switch
- Micro-USB inlet
- Battery compartment
- Battery cover
Technical data
Operating voltage: 4.5 V![]()
Batteries: 3 x 1.5 V
, AA / LR6 (included)
LEDs: 12 LEDs: 3 V, 0.2 W (cannot be replaced)
Micro-USB input
voltage & current: 5 V
, 0.5 A
Protection class: III /![]()
Note: Use only SELV power supply of maximum working output voltage 5 V
(Uout) 0.5 A
Included in delivery
Immediately after unpacking please check the package contents for completeness and if all parts and the product are in good condition.
1 Cosmetic mirror
3 Batteries (non-rechargeable)
1 Operating instructions
Safety notices
KEEP ALL SAFETY NOTICES AND INSTRUCTIONS FOR FUTURE REFERENCE!

DANGER TO LIFE
AND RISK OF ACCIDENTS FOR INFANTS AND CHILDREN!
Never leave children unsupervised with the packaging materials. The packaging material poses a suffocation hazard. Children frequently underestimatedangers. Always keep children away from the packaging material.
- This product may be used by children 8 years and up as well as persons with physical, sensory or mental impairments or lacking experience and knowledge, whensupervised or instructed in the safe use of the product and understand the associated risks. Do not allow children to play with the product. Cleaning and user maintenance must not be performed by a child- ren without supervision.
- Do not use the product if it is damaged.
- Never take the product apart. Improper repairs may result in considerable danger to the user. Always have repairs performed by a professional.
- The LEDs are not replaceable.
- If the LEDs fail at the end of their useful lives the entire product must be replaced.
- Never immerse in water or other liquids!
Prevent fire and injury hazards
CAUTION! RISK OF INJURY! Dispose of the product if the mirror is broken.
CAUTION! RISK OF FIRE! Never expose the product to direct sunlight or other light sources. Never leave the product unattended. Doing so presents a fire hazard due to bundled light rays and concentrated heat.
- Do not subject the product to any extreme temperatures or severe mechanical stress. The product may otherwise be deformed.
- If you notice smoke or unusual noise or odor, immediately remove the USB cable. The product must only be supplied at safety extra-low voltage corresponding to the marking on the label (see “Technical data”).
Safety instructions for batteries / rechargeable batteries
DANGER TO LIFE! Keep batteries/rechargeable batteries out of reach of children. If accidentally swallowed seek immediate medical attention.
Swallowing may lead to burns, perforation of soft tissue, and death. Severe burns can occur within 2 hours of ingestion.
DANGER OF EXPLOSION! Never recharge non-rechargeable batteries. Do not short-circuit batteries/rechargeable batteries and/or open them. Overheating, fire, or bursting can be the result.- Never throw batteries/rechargeable batteries into fire or water.
- Do not exert mechanical loads on batteries/rechargeable batteries.
Risk of leakage of batteries / rechargeable batteries
- Avoid extreme environmental conditions and temperatures, which could affect batteries/rechargeable batteries, e.g. radiators / direct sunlight.
- If batteries/rechargeable batteries have leaked, avoid contact with skin, eyes, and mucous membranes with the chemicals! Flush immediately the affected areas with fresh water and seek medical attention!
WEAR PROTECTIVE GLOVES! Leaked or damaged batteries/rechargeable batteries can cause burns on contact with the skin. Wear suitable protective gloves at all times if such an event occurs.
In the event of a leakage of batteries/rechargeable batteries, immediately remove them from the product to prevent damage. Only use the same type of batteries/rechargeable batteries. Do not mix used and new batteries/rechargeable batteries. Remove batteries/rechargeable batteries if the product will not be used for a longer period.
Risk of damage of the product
- Only use the specified type of battery / rechargeable battery!
- Insert batteries/rechargeable batteries according to polarity marks (+) and (-) on the battery / rechargeable battery and the product.
- Use a dry lint-free cloth or cotton swab to clean the contacts on the battery / rechargeable battery and in the battery compartment before inserting!
- Remove exhausted batteries/rechargeable batteries from the product immediately.
Using the product for the first time
Note: Please remove all packaging material from the product.
Note: The product has two viewing sides. One side is the regular plane mirror on the main body 1 and the other side has a 5 x magnification mirror.
Inserting / replacing batteries
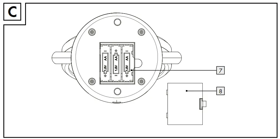
Remove the battery cover 8 under the stand 4 and insert the batteries. Please note the correct polarity, which is displayed in the battery compartment 7 (see Fig. C). Close the battery cover 8 after inserting/changing the batteries.
Use
Note: The product is only suitable as a mirror with normal or 5x magnification. It is NOT intended to be used as a table lamp for household room illumination. Switch the switch 5 to the position “I” to switch on or to the position “0” to switch off. To select the regular plane mirror or 5 x magnification mirror, rotate the main body 1 to the desired side.
Note: Five times magnification
Connecting with USB power
Note: The batteries have to be removed from the product beforehand.
Use the USB cable (not included) to connect the micro-USB inlet 6 and suitable USB power supply device (not included) (see Fig. B). Turn on the LED light 3 using the ON / OFF switch 5 .
Cleaning and care
- Before cleaning, switch off the product, remove the batteries and the USB cable.
- Never use liquids or detergents, as these will damage the product.
- Clean the product on the outside only with a soft, dry cloth.
Disposal
The packaging is made entirely of recyclable materials, which you may dispose of at local recycling facilities.
Observe the marking of the packaging materials for waste separation, which are marked with abbreviations (a) and numbers (b) with the following meaning: 1–7: plastics / 20–22: paper and fibreboard / 80–98: composite materials.
The product and packaging materials are recyclable, dispose of it separately for better waste treatment. The Triman logo is valid in France only.
Contact your local refuse disposal authority for more details of how to dispose of your worn-out product.
To help protect the environment, please dispose of the product properly when it has reached the end of its useful life and not in the household waste. Information on collection points and their opening hours can be obtained from your local authority.
Faulty or used batteries/rechargeable batteries must be recycled in accordance with Directive 2006/66/EC and its amendments. Please return the batteries/rechargeable batteries and/or the product to the available collection points.
Environmental damage through incorrect disposal of the batteries/rechargeable batteries! Batteries/rechargeable batteries may not be disposed of with the usual domestic waste. They may contain toxic heavy metals and are subject to hazardous waste treatment rules and regulations. The chemical symbols for heavy metals are as follows: Cd = cadmium, Hg = mercury, Pb = lead. That is why you should dispose of used batteries/rechargeable batteries at a local collection point.
Warranty
The product has been manufactured to strict quality guidelines and meticulously examined before delivery. In the event of product defects, you have legal rights against the retailer of this product. Your legal rights are not limited in any way by our warranty detailed below.
The warranty for this product is 3 years from the date of purchase. The warranty period begins on the date of purchase. Please keep the original sales receipt in a safe location. This document is required as your proof of purchase.
Should this product show any fault in materials or manufacture within 3 years from the date of purchase, we will repair or replace it – at our choice – free of charge to you. This warranty becomes void if the product has been damaged, or used or maintained improperly. The warranty applies to defects in material or manufacture.
This warranty does not cover product parts subject to normal wear, thus possibly considered consumables (e.g. batteries) or for damage to fragile parts, e.g. switches, rechargeable batteries or glass parts.
Warranty claim procedure To ensure quick processing of your case, please observe the following instructions:
Please have the till receipt and the item number (e.g. IAN 123456_7890) available as proof of purchase.
You will find the item number on the rating plate, an engraving on the front page of the instructions for use (bottom left), or as a sticker on the rear or bottom of the product.
If functional or other defects occur, please contact the service department listed either by telephone or by e-mail.
You can return a defective product to us free of charge to the service address that will be provided to you. Ensure that you enclose the proof of purchase (till receipt) and information about what the defect is and when it occurred.
Service
Service Great Britain
Tel.: 08000569216
E-Mail: [email protected]


















