Shenzhen Jaguar Wave Technology JW-PTP6015 Outdoor 60GHz PTP
Installation Guide
- Product Overview
Logo
A Shell
B Shell
Mounting Kit
Air Release Valve
Grounding Terminal
Waterproof Connector M20 - Hardware Overview

| Item | Port/Button | Description |
| G) | RST | Pressing and holding the RST button for over 4 seconds restores this device to factory defaults. |
| ETH | This port provides passive power over Ethernet via 2.SGbps Ethernet port(PoE IN) |
LED Status
(The image shown here is indicative only. If there is an inconsistency between the image and the actual product, the actual product shall govern. )
| Item LED Status Description | |||
| G) |
SYS | Red | Power up |
| Green | System bootup completed, but no device connectivity yet | ||
| Blue | At least one PTP device connected | ||
|
ETH | Yellow | Auto-negotiation100Mbps Base-T, Link/Act | |
| Green | Auto-negotiation 1000Mbps Base-T, Link/Act | ||
| Blue | Auto-negotiation 2.5Gbps Base-T, Link/Act | ||
| ® |
60G | Red | Weak signal |
| Green | Good signal | ||
| Blue | Strong signal | ||
| Green | 2.4GHz Radio enabled | ||
| Link/Act | |||
Package Contents
Brackets Assembly
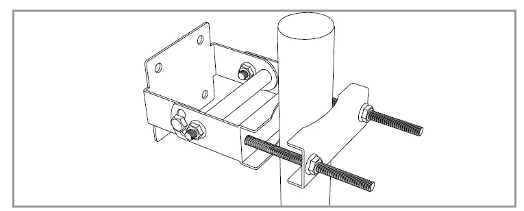
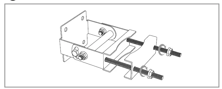
Step 1: Loosen the 2 nuts and move the clamp and the nuts outwards
Step 2: Align the clamps to fix the bracket on the pole by tightening the 2 nuts
Step 3: Fix the device to the bracket with 4pcs MB screws. After fixing, the device can be adjusted vertically to aim at the devices connected.
Waterproof Connector Assembly
Step 1: Loosen the sealing nut and remove the waterproof plug from the sealing nut
Step 2: Separate the rubber bushing from the waterproof plug
Step 3: Route the Ethernet cable through the sealing nut, the rubber bushing(through the cut on the rubber bushing, pis note the bigger hole towards the device) and the waterproof plug, then insert the rubber bushing into the plug
Connecting and Mounting the Device
Step 1: Insert the Ethernet cable into the RJ45 port of the device
Step 2: Tighten the sealing nut with the waterproof plug and twist it into the device
Software Configurations
When you log in to the web UI for the first time, follow the steps below:
1 Connect the computer to the device.
- Use an Ethernet cable to connect the ETH port of the device to the POE port of the included PoE injector.
- Use the included power adapter to connect the PoE injector to a power source. The ETH LED indicator of the device lights up.
- Use an Ethernet cable to connect your computer to the LAN port of the PoE injector.
- Start a web browser on your computer, and visit 192.168.1.1. Enter the default user name ad min and password JWadmin123, and click Login.

Login
FAQs
Q1: I cannot log in to the web UI of the device by entering 192.168.1.1. What should I do?
A: Try the following methods:
- Ensure that the device has been connected to the power supply and the computer properly.
- Ensure that the IP address of the login computer is 192.168.1.X (X ranges from 2 to 254, which is not used by other devices).
- Restore the device to factory settings.
Q2: How could I reset the device to factory settings?
A : Note: Resetting the device clears all settings, and you need to configure it again.
Method one: Press and hold the RST button for more than 4 seconds,
when all the LED indicators shut off, the device is restored to factory settings.
Method two: Log in the web UI of the device, choose System >Maintenance, and clik Reset button.
Hardware Features
| Model | JW-PTP6015 | JW-PTP6030 JW-PTP6030B | JW-PTP6150 | ||
| Operation Type | PTP | PTP PTP/PtMP | PTP | ||
|
Hardware Features | Processor | Qualcomm multi-core CPU | |||
| Memory | 1GB LPDDR RAM, 8GB eMMC Flash | ||||
|
Interfaces | 1 x 2. 5G bE ETH Port (PoE IN) 1 x Grounding terminal 1 x Reset | ||||
|
Power supply | 48V/1 A Passive Gigabit PoE IEEE 802.3 af PoE DC input (12V/3A) | 48V/1 A Passive Gigabit PoE IEEE 802.3 at PoE DC in put (12V/3A) | |||
| Power consumption | 15W max | 25W max | |||
| Dimension (Lx Wx H) | 282 mmx 160mm x 68 mm | ||||
| Weight | 1.2 kg without mounting kit 1.8 kg with mounting kit | ||||
| Protection | 15KV ESD/EMP Protection 6KV Lightning Protection | ||||
| Enclosure | Mate rial: Outdoor ASA stabilized plastic Weatherproof: IP67 waterproof and dust proof design | ||||
| Operating temperature | -30° C to 60° C | -30° C to 55° C | |||
| Storage temperature | -40°C to 70°C | ||||
| Operating humidity | 10% to 90% non-condensing | ||||
| Storage humidity | 5% to 95% non-condensing | ||||
Frequency and Power
Channel 1: 58.32GHz/37.12 dBm
Channel 2: 60.48GHz/34.90 dBm
Channel 3: 62.64GHz/32.29 dBm
CE Statement
The suitable temperature for the product and accessories is -3 0 °C to 6 0 °C.
RF exposure information: The Maximum Permissible Exposure
(MPE) level has been calculated based on a distance of d=25 cm between the device and the human body. To maintain compliance with RF exposure requirement, use product that maintain a 25cm distance between the device and human body. SHENZHEN JAGUAR WAVE TECHNOLOGY LTD.
Address:Unit 1002, Building 2-A, TongTai Center,No.6259 Bao’an Blvd., Bao’an District, Shenzhen Guangdong Province, PRC.
EU Regulatory Conformance
Hereby, Jaguar Wave Corporation declares that this device is in compliance with the essential requirements and other relevant provisions of Directive 2014/53/EU. For the declaration of conformity, visit the Web site www.jaguarwave.com.
Federal Communication Commission (FCC) Radiation Exposure Statement
When using the product, maintain a distance of 25cm from the body to ensure compliance with RF exposure requirements
FCC statements:
This device complies with part 15 of the FCC rules. Operation is subject to the following two conditions: (1) this device may not cause harmful interference, and (2) this device must accept any interference received, including interference that may cause undesired operation.
NOTE: The manufacturer is not responsible for any radio or TV interference caused by unauthorized modifications or changes to this equipment. Such modifications or changes could void the user’s authority to operate the equipment.
NOTE: This equipment has been tested and found to comply with the limits for a Class B digital device, pursuant to part 15 of the FCC Rules. These limits are designed to provide reasonable protection against harmful interference in a residential installation. This equipment generates uses and can radiate radio frequency energy and, if not installed and used in accordance with the instructions, may cause harmful interference to radio communications. However, there is no guarantee that interference will not occur in a particular installation. If this equipment does cause harmful interference to radio or television reception, which can be determined by turning the equipment off and on, the user is encouraged to try to correct the interference by one or more of the following measures:
- Reorient or relocate the receiving antenna.
- Increase the separation between the equipment and receiver.
- Connect the equipment into an outlet on a circuit different from that to which the receiver is connected.
- Consult the dealer or an experienced radio/TV technician for help.


Logo

























