VOGUE Ohana 15′ Round Above Ground Pool

DESCRIPTION

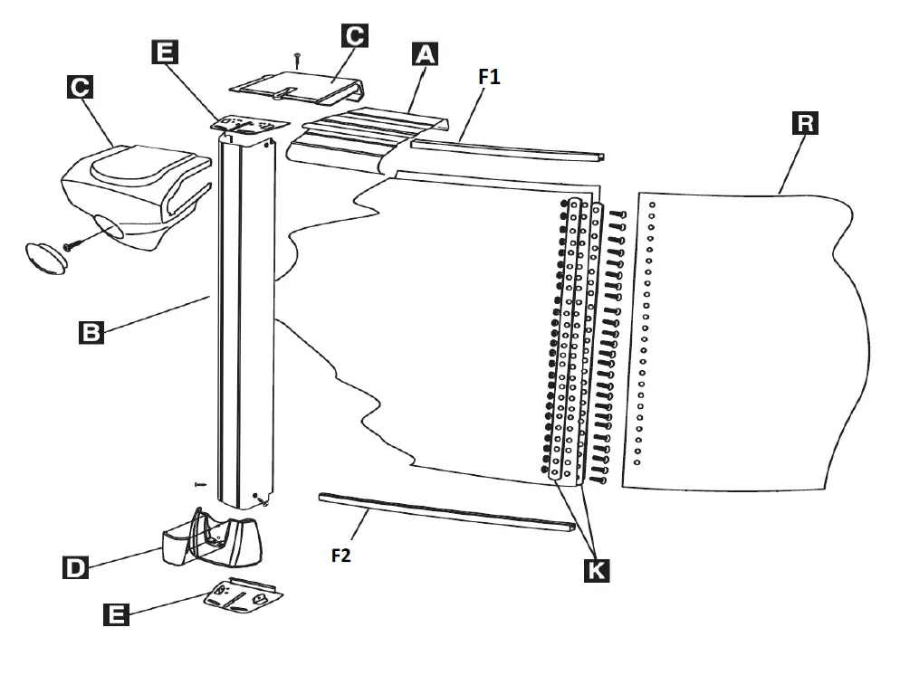
| Product Description: Ohana Round Revised Sept 2014 Product Code: PZEN-52SSPSPSB11 | |||||||||||
| Quantity required for installation (by pool size) | |||||||||||
| Index # | Description | Part # | Length | 8 | 12 | 15 | 18 | 21 | 24 | 27 | 30 |
| A | Top ledge 30” | ART211-1295030 | 30,500″ | 10 | |||||||
| A | Top ledge 50” | ART211-1295050 | 50,500″ | 9 | |||||||
| A | Top ledge 52” | ART211-1295052 | 51,750″ | 11 | 13 | ||||||
| A | Top ledge 53” | ART211-1295053 | 53,250″ | 15 | 17 | 19 | 21 | ||||
| B | Upright | ART711-R12954M | 51,750″ | 10 | 9 | 11 | 13 | 15 | 17 | 19 | 21 |
| C | Ledge cover | AR211-23120ABC | 10 | 9 | 11 | 13 | 15 | 17 | 19 | 21 | |
| D | Foot Cover | AR711-23300AC | 10 | 9 | 11 | 13 | 15 | 17 | 19 | 21 | |
| E | Top/Bottom Plate | 21120A | 20 | 18 | 22 | 26 | 30 | 34 | 38 | 42 | |
| F1 | Stabilizer 8D | 1254108 | 30,000″ | 10 | |||||||
| F1 | Stabilizer 12D | 1254112 | 49,750″ | 9 | |||||||
| F1 | Stabilizer 15D | 1254115 | 50,974″ | 11 | |||||||
| F1 | Stabilizer 18D | 1254118 | 51,721″ | 13 | |||||||
| F1 | Stabilizer 21D | 1254121 | 52,250″ | 15 | |||||||
| F1 | Stabilizer 24D | 1254124 | 52,690″ | 17 | |||||||
| F1 | Stabilizer 27D | 1254127 | 53,000″ | 19 | |||||||
| F1 | Stabilizer 30D | 1255330 | 53,375″ | 21 | |||||||
| F2 | Bottom Rail 8D | LA1254108 | 30,000” | 10 | |||||||
| F2 | Bottom Rail 12D | LA1254112 | 49,750” | 9 | |||||||
| F2 | Bottom Rail 15D | LA1254115 | 50,974” | 11 | |||||||
| F2 | Bottom Rail 18D | LA1254118 | 51,721” | 13 | |||||||
| F2 | Bottom Rail 21D | LA1254121 | 52,250” | 15 | |||||||
| F2 | Bottom Rail 24D | LA1254124 | 52,690” | 17 | |||||||
| F2 | Bottom Rail 27D | LA1254127 | 53,000” | 19 | |||||||
| F2 | Bottom Rail 30D | LA1255330 | 53,375” | 21 | |||||||
| K | Steel bars | 11823 | 52,000” | 2 | 2 | 2 | 2 | 2 | 2 | 2 | 2 |
| R | Wall | 1 | 1 | 1 | 1 | 1 | 1 | 1 | 1 | ||
| Hardware bag/pool | SACV12X34-113 | #12 SCREWS 3/4” | 1 | ||||||||
| Hardware bag/pool | SACV12X34-102 | #12 SCREWS 3/4” | 1 | ||||||||
| Hardware bag/pool | SACV12X34-129 | #12 SCREWS 3/4” | 1 | ||||||||
| Hardware bag/pool | SACV12X34-147 | #12 SCREWS 3/4” | 1 | ||||||||
| Hardware bag/pool | SACV12X34-169 | #12 SCREWS 3/4” | 1 | ||||||||
| Hardware bag/pool | SACV12X34-191 | #12 SCREWS 3/4” | 1 | ||||||||
| Hardware bag/pool | SACV12X34-215 | #12 SCREWS 3/4” | 1 | ||||||||
| Hardware bag/pool | SACV12X34-235 | #12 SCREWS 3/4” | 1 | ||||||||
| Hardware bag/wall | 1050000054 | 1 | 1 | 1 | 1 | 1 | 1 | 1 | 1 | ||
| Instruction DVD | SACWBI36876 | 1 | 1 | 1 | 1 | 1 | 1 | 1 | 1 | ||















