
Operator’s Manual
DPB-2500 Blower
DPB-2500 Blower
WARNING
This product contains chemicals known to the State of California to cause cancer, birth defects, or other reproductive harm. Cancer and Reproductive Harm www.P65Warnings.ca.gov
WARNING
Read and understand all provided literature before use.
Failure to do so could result in serious injury.
INTRODUCTION
Specifications, descriptions and illustrative material in this literature are as accurate as known at the time of publication, but are subject to change without notice. Illustrations may include optional equipment and accessories, and may not include all standard equipment.
Read and understand all provided literature.
Literature contains specifications and information for safety, operation, maintenance, storage, and assembly specific to this product.
Scan QR codes for more information.
https://www.echo-usa.com/Support-Help/Technical-Documents?gt=true
For additional literature, including safety manuals where applicable, or questions regarding terms used in this manual, visit: https://www.echo-usa.com/manuals
https://www.echo-usa.com/Support-Help/Technical-Documents?gt=true
SERVICING INFORMATION
Parts / Serial Number
Genuine ECHO Parts and Assemblies for your ECHO products are available only from an Authorized ECHO Dealer. When you do need to buy parts always
have the Model Number and Serial Number of the unit with you. For future reference write them in the space provided below.
Model No. _______________ Serial No. _______________
Service
Service of this product during the warranty period must be performed by an Authorized ECHO Service Dealer. For the name and address of the Authorized ECHO Service Dealer nearest you, ask your retailer or call: 1-800-432-ECHO (3246). Dealer information is also available on our Web Site www.echousa.com. When presenting your unit for Warranty service/ repairs, proof of purchase is required.
ECHO Consumer Product Support
If you require assistance or have questions concerning the application, operation, or maintenance of this product, call the ECHO Consumer Product Support Department at 1-800-432-ECHO (3246) from 8:00 am to 5:00 pm (Central Standard Time) Monday through Friday. Before calling, please know the model and serial number of your unit.
Product Registration
Register your ECHO equipment online at www.echo-usa.com or by filling out the product registration sheet included in this manual. Registering your product confirms warranty coverage and provides a direct link to ECHO if we find it necessary to contact you.
Additional Literature
In addition to finding information online, information is available from your Authorized ECHO Service Dealer, or by contacting ECHO Incorporated, 400 Oakwood Road, Lake Zurich, IL 60047, 1-800-432-ECHO (3246).
PACKING LIST
The ECHO product you purchased has been factory pre-assembled for your convenience. Due to packaging restrictions, some assembly may be necessary.
After opening the carton, check for damage. Immediately notify your retailer or ECHO Dealer of damaged or missing parts. Use the contents list to check for
missing parts.
1 Blower
1 Tube
1 Operator’s Manual
1 Concentrator nozzle
SAFETY
Manual Safety Symbols and Important Information
Throughout this manual and on the product itself, you will find safety alerts and helpful, informational messages preceded by symbols or key words. The following is an explanation of those symbols and key words and what they mean to you.
DANGER
The safety alert symbol accompanied by the word “DANGER” calls attention to an act or condition which WILL lead to serious personal injury or death if not avoided.
WARNING
The safety alert symbol accompanied by the word “WARNING” calls attention to an act or condition which CAN lead to serious personal injury or death if not avoided.
CAUTION
The safety alert symbol accompanied by the word “CAUTION” calls attention to an act or condition which might lead to minor or moderate personal injury if not avoided.
NOTICE
The enclosed message provides information necessary for the protection of the unit.
Note: This enclosed message provides tips for use, care and maintenance of the unit.
![]()
CIRCLE AND SLASH SYMBOL
This symbol means the specific action shown is prohibited. Ignoring these prohibitions can result in serious or fatal injury.
International Symbols
Some of the following symbols may be used on this product. Please study them and learn their meaning. Proper interpretation of these symbols will allow you to operate the product better and safer.
| Symbol | Description | Symbol | Description |
| WARNING! Read and follow all safety precautions in the operator’s manual. Failure to follow instructions could result in serious personal injury. | Failure to keep loose clothing from being drawn into air intake could result in personal injury. | ||
![]() | Safety / Alert | Failure to keep long hair away from the air inlet could result in personal injury. | |
| Wear ear protection when operating this equipment. | Rotating impeller blades can cause severe injury. | ||
| Always wea eye protection with side shields marked to comply with ANSIZ87.1 when operating this equipment. | Keep all bystanders at least 15 m (50′) away. | ||
| Do not expose the product to rain or moist conditions. | Environmentally safe battery disposal. | ||
| Do not touch the fan when you operate this machine. | Direct current |
General Power Tool Safety Warnnings
WARNING
Read all safety warnings, instructions, illustrations and specifications provided with this power tool. Failure to follow all instructions listed below may result in electric shock, fire and/or serious injury.
Save all warnings and instructions for future reference.
The term “power tool” in the warnings refers to your battery operated (cordless) power tool.
Work Area Safety
- Keep work area clean and well lit. Cluttered or dark areas invite accidents.
- Do not operate power tools in explosive atmospheres, such as in the presence of flammable liquids, gases or dust. Power tools create sparks which may ignite the dust or fumes.
- Keep children and bystanders away while operating a power tool.
Distractions can cause you to lose control.
Electrical Safety
- Power tool plugs must match the outlet. Never modify the plug in any way. Do not use any adapter plugs with earthed (grounded) power tools. Unmodified plugs and matching outlets will reduce risk of electric shock.
- Avoid body contact with earthed or grounded surfaces, such as pipes, radiators, ranges and refrigerators. There is an increased risk of electric shock if your body is earthed or grounded.
- Do not expose power tools to rain or wet conditions. Water entering a power tool will increase the risk of electric shock.
- Do not abuse the cord. Never use the cord for carrying, pulling or unplugging the power tool. Keep cord away from heat, oil, sharp edges or moving parts. Damaged or entangled cords increase the risk of electric shock.
- When operating a power tool outdoors, use an extension cord suitable for outdoor use. Use of a cord suitable for outdoor use reduces the risk of electric shock.
- If operating a power tool in a damp location is unavoidable, use a RESIDUAL CURRENT DEVICE (RCD) protected supply. Use of an RCD reduces the risk of electric shock.
Personal Safety
- Stay alert, watch what you are doing and use common sense when operating a power tool. Do not use a power tool while you are tired or under the influence of drugs, alcohol or medication. A moment of inattention while operating power tools may result in serious personal injury.
- Use personal protective equipment. Always wear eye protection. Protective equipment such as a dust mask, non-skid safety shoes, hard hat or hearing protection used appropriately will reduce personal injuries.
- Prevent unintentional starting. Ensure the switch is in the off position before connecting to power source and/or battery and when picking up or carrying the tool. Carrying power tools with your finger on the switch or energizing power tools that have the switch on invites accidents.
- Remove any adjusting key or wrench before turning the power tool on. A wrench or a key left attached to a rotating part of the power tool may result in personal injury.
- Do not over-reach. Keep proper footing and balance at all times. This enables better control of the power tool in unexpected situations.
- Dress properly. Do not wear loose clothing or jewelry. Keep your hair, clothing and gloves away from moving parts. Loose clothes, jewelry or long hair can be caught in moving parts.
- If devices are provided for the connection of dust extraction and collection facilities, ensure these are connected and properly used.
Use of dust collection can reduce dust related hazards. - Do not let familiarity gained from frequent use of tools allow you to become complacent and ignore tool safety principles. A careless action can cause severe injury within a fraction of a second.
Power Tool Use and Care
- Do not force the power tool. Use the correct power tool for your application. The correct power tool will do the job better and safer at the rate for which it was designed.
- Do not use the power tool if the switch does not turn it on and off. Any power tool that cannot be controlled with the switch is dangerous and must be repaired.
- Disconnect the plug from the power source and/or remove the battery, from the power tool before making any adjustments, changing accessories, or storing power tools. Such preventive safety measures reduce the risk of starting the power tool accidentally.
- Store idle power tools out of the reach of children and do not allow persons unfamiliar with the power tool or these instructions to operate the power tool. Power tools are dangerous in the hands of untrained users.
- Maintain power tools and accessories. Check for misalignment or binding of moving parts, breakage of parts and any other condition that may affect the power tool’s operation. If damaged, have the power tool repaired before use. Many accidents are caused by poorly maintained power tools.
- Keep cutting tools sharp and clean. Properly maintained cutting tools with sharp cutting edges are less likely to bind and are easier to control.
- Use the power tool and accessories in accordance with these instructions, taking into account the working conditions and the work to be performed. Use of the power tool for operations different from those intended could result in a hazardous situation.
- Keep handles and grasping surfaces dry, clean and free from oil and grease. Slippery handles and grasping surfaces do not allow for safe handling and control of the tool in unexpected situations.
Battery Tool Use and Care
- Recharge only with ECHO eFORCE™ 56V battery series chargers. A charger that is suitable for one type of battery may create a risk of fire when used with another battery.
- Use only with ECHO eFORCE™ 56V battery series. Use of any other batteries may create a risk of injury and fire.
- When battery is not in use, keep it away from other metal objects like paper clips, coins, keys, nails, screws, or other small metal objects that can make a connection from one terminal to another. Shorting the battery terminals together may cause burns or fire.
- Do not open or destroy the battery. Electrolytes contained within the battery are corrosive and may cause damage to eyes or skin if released. It may be toxic if swallowed.
- Under abusive conditions, liquid may be ejected from the battery; avoid contact. If contact accidentally occurs, flush with water. If liquid contacts eyes, additionally seek medical help. Liquid ejected from the battery may cause irritation or burns.
- Exercise care in handling batteries to avoid shorting the battery with conducting materials such as rings, bracelets, keys, etc. The battery or conductor may overheat and cause burns if contact with said materials is made.
- Do not use a battery or tool that is damaged or modified. Damaged or modified batteries may exhibit unpredictable behavior resulting in fire, explosion or risk of injury.
- Do not expose a battery or tool to fire or excessive temperature. Exposure to fire or temperature above 266 ˚F(130 ˚C) may cause explosion.
- Follow all charging instructions and do not charge the battery or tool outside the temperature range specified in the instructions. Charging improperly or at temperatures outside the specified range may damage the battery and increase the risk of fire.
Child Safety
Tragic accidents can occur if the operator is not aware of the presence of children.
- Keep children out of the working area and under the watchful care of a responsible adult.
- Do not allow children under the age of 14 to operate this machine
Children who are 14 years of age and older must read and understand the operating instructions and safety rules in this manual and must be trained and supervised by a parent. - Stay alert, and turn the machine off if a child or any other person enters the working area.
- Use extreme care when approaching blind corners, doorways,shrubs, trees, or other objects that may obscure your view of a child who may run into the path of the machine.
Service
- Have your power tool serviced by a an authorized ECHO dealer using only identical replacement parts. This will ensure that the safety of the power tool is maintained.
- Never service damaged batteries. Service of batteries should only be performed by the manufacturer or authorized service providers.
Blower Safety Warnings
- Operate the appliance only in daylight or in good artificial light.
- Keep all cooling air inlets clear of debris.
- Never blow debris in the direction of bystanders.
- Before starting the machine, make certain that the tube inlet is empty.
- Keep your face and body away from the air intake opening.
- Do not allow hands or any other part of the body or clothing inside the tube inlet, discharge chute, or near any moving part.
- Inspect unit to ensure no foreign material/ debris is in the machine prior to operation.
- Never operate the machine with defective guards or shields, or without safety devices or if the cord is damaged or worn.
- Do not overreach. Keep balance at all times, and always be sure of the footing on slopes. Walk, never run.
- Stop the machine and remove the battery. Make sure that all moving parts have come to a complete stop,
- whenever the machine is left by the user
- before clearing a blockage
- before checking, cleaning or working on the machine
- after striking a foreign object to inspect the machine for damage
- If the machine starts to vibrate abnormally,
- inspect for damage
- replace or repair any damaged parts
- check for and tighten any loose parts
- Do not put any object into openings. Do not use with any opening blocked; keep free of dust,lint, hair, and anything that may reduce air flow.
- Use extra care when cleaning on stairs.
Recommended Ambient Temperature Range
| Item | Temperature |
| Blower storage temperature range | 32 ˚F (0 ˚C) ~ 113 ˚F (45 ˚C) |
| Blower operation temperature range | 32 ˚F (0 ˚C) ~ 113 ˚F (45 ˚C) |
| Battery charging temperature | 39 ˚F (4 °C) ~ 104 ˚F (40 ˚C) |
| Charger operation temperature range | 39 ˚F (4 °C) ~ 104 ˚F (40 ˚C) |
| Battery storage temperature range | 32 ˚F (0 ˚C) ~ 113 ˚F (45 ˚C) |
| Battery discharging temperature range | 32 ˚F (0 ˚C) ~ 113 ˚F (45 ˚C) |
Environmentally Safe Battery Disposal
The toxic and corrosive materials below are in the batteries used in this machine: Lithium-Ion, a toxic material.
![]()
Discard all toxic materials in a specified manner to prevent contamination of the environment. Before discarding damaged or worn out Li-ion battery, contact your local waste disposal agency, or the local Environmental Protection Agency for information and specific instructions. Take the batteries to a local recycling and/or disposal center, certified for lithium-ion disposal.
If the battery cracks or breaks, with or without leaks, donot recharge it and do not use. Discard it and replace with a new battery. DO NOT TRY TO REPAIR IT! To prevent injury and risk of fire, explosion, or electric shock, and to avoid damage to the environment:
Cover the terminals of the battery with heavy-duty adhesive tape.
DO NOT try to remove or destroy any of the battery components.
DO NOT try to open the battery.
If a leak develops, the released electrolytes are corrosive and toxic. DO NOT get the solution in the eyes or on skin, and do not swallow it.
DO NOT put these batteries in your regular household trash.
DO NOT incinerate.
DO NOT put them where they will become part of any waste landfill or municipal solid waste stream.
Take them to a certified recycling or disposal center.
DESCRIPTION
Locate the safety label(s) on your unit. Make sure the label(s) is legible and that you understand and follow the instructions on it. If a label cannot be read, a new one can be ordered from your ECHO dealer. Safety label is for example only. Your label my appear slightly different.

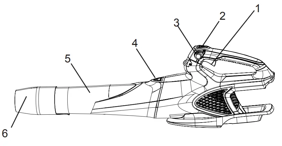
| 1. Trigger switch 2. Turbo button 3. Cruise control | 4. Tube release button 5. Tube 6. Concentrator nozzle |
WARNING:
To reduce risk of injury, user must read instruction manual. To reduce the risk of electric shock, remove battery pack before cleaning or servicing, do not expose to rain. For household use only. For use only with ECHO eFORCE™ 56V battery series. See operator’s manual for list of compatible model numbers. Store indoors only, avoid moisture or water.
Preparation For Use
- While operating the power tool always wear substabtial footwear and long trousers. Do not operate the power tool when barefoot or wearing open sandals. Avoid wearing clothing that is loose fitting or that has hanging cords or ties.
- Thoroughly inspect the area where the power tool is to be used and remove all objects which can be thrown by the power tool.
- Before using, always visually inspect to see, that fasteners are secure, the housing is undamaged and that guards are in place.
- Never operate the machine while people, especially children, or pets are nearly.
- Obtain ear protection and safety glasses. Wear them at all times while operating the machine.
Installing and Removing the Battery
WARNING:
The blower will operate when the battery is installed. Make sure the blower is properly positioned to prevent loss of control and possible serious injury.
NOTICE
See separate Operator’s Manual Packaged with the Battery.
The battery comes partially charged from the factory and needs to be fully charged before first use.
Installing the Battery
- Align ridges on the sides of the battery (7) with the grooves in the battery compartment (8).
- Push the battery (7) into the battery compartment (8) until the battery (7) locks into place.
- When you hear a click, the battery (7) is installed.

WARNING:
- If the battery or charger is damaged, replace the battery or the charger.
- Stop the machine and wait until the motor stops before you install or remove the battery.
- Read and understand the instructions in the battery and charger manual.
Remove the Battery
- Push and hold the battery release button.
- Remove the battery from the machine.
Installing the Blower Tube
- Move the tube until the tube release button (4) engages into the slot.

- Connect the concentrator nozzle (6) to the tube (5) until the the tube locks into the concentrator nozzle (6)

NOTICE
You can use the nozzle to increase airflow in tight areas.
Operation
WARNING:
Make sure the blower tube is in position before operation.
Starting the Unit
- Pull the trigger switch (1) to start the machine.
- Pull the trigger switch fully to increase the speed.
- Release the trigger switch to decrease the speed

Stopping the Unit
- Release the trigger switch to stop the machine. Wait until the motor stops after you stop the machine.
NOTICE
Cruise Control
- Pull the cruise control (3) clockwise to increase the speed. This will lock the speed at the desired setting.
- Push the cruise control (3) counter clockwise to decrease the speed.
- To restore the original speed, you need to manually rotate the cruise control (3)

NOTICE
- Push the turbo button (2), the machine is at the highest speed.
- Release the turbo button (2), the machine is at the normal speed.

NOTICE
Using the turbo button drains the battery the fastest. Only use the turbo button when needed.
Operation Tips
- Blow around the outer edge of the unwanted materials to prevent the unwanted materials from scattering.
- Use rakes and brooms to clear the unwanted material before you blow.
- Make the surfaces wet before you clear the unwanted material in dustyconditions.
- Look out for children, pets, open windows, and cleaned cars during operation.
- Clean the machine.
- Discard the unwanted material when you complete work
MAINTENANCE
CAUTION:
Do not let brake fluids, gasoline, petroleum-based materials touch the plastic parts. Chemicals can cause damage to the plastic, and make the plastic unserviceable.
CAUTION:
Do not use strong solvents or detergents on the plastic housing or components.
WARNING:
Remove the battery from the machine before maintenance.
Your unit is designed to provide many hours of trouble free service. Regular scheduled maintenance will help your unit achieve that goal. If you are unsure or are not equipped with the necessary tools, we recommend that you take your unit to a ECHO Dealer for maintenance.
To help you decide whether you want to DO-IT-YOURSELF or have the Dealer do it, each maintenance task has been graded. If the task is not listed, see your Dealer for repairs.
Skill Levels
Level 1 = Easy to do. Common tools may be required.
Level 2 = Moderate difficulty. Some specialized tools may be required.
Level 3 = See your dealer.
Maintenance Intervals
| COMPONENT/SYSTEM | COMPONENT/SYSTEM | SKILL LEVEL | INTERVAL |
| Screws/Nuts/Bolts | Inspect/Tighten/Replace | 1 | Before Each Use |
| Battery and Battery Compartment | Inspect / Clean | 1 | Before Each Use |
Cleaning Battery and Battery Compartment
- Clear the unwanted material out of the air vent with a vacuum cleaner.
- Do not spray the air vent or put the air vent in solvents.
- Clean the battery compartment (8) and the plastic components with a moist and soft cloth.

TROUBLESHOOTING
| Problem | Cause | Solution |
| The motor does not start when you pull the trigger switch. | The battery is not installed tightly. | Make sure that you tighlty install the battery in the machine. |
| The battery is out of power. | Charge the battery. | |
| The trigger switch is defective. | Replace the defective parts, call an Authorized ECHO Dealer | |
| The motor is defective. | ||
| The air does not flow through the tube when you start the machine. | The air inlet or tube outlet has a blockage. | Remove the blockage. |
STORAGE
Storage After Use
When storing the product for long periods of time, ensure that the following preparations for storage are carried out.
Blower
Do not store your unit without performing protective storage maintenance which includes the following:
- Clean the unit before storage.
- Remove battery from blower.
- Remove accumulation of dirt and debris from exterior of unit.
- Tighten all screws and nuts.
- Replace the damaged parts.
- Cover battery compartment of blower.
- Store unit in a dry, dust-free place, out of the reach of children.
Battery
- Remove battery from blower.
- Store in a dry, dust-free place, out of the reach of children.
- Store in temperatures between -4 ˚F (-20 ˚C) ~ 140 ˚F (60 ˚C).
- If battery is stored for longer than six months, charge it to 100% capacity.
Charger
- Remove battery from charger.
- Disconnect charger from power supply.
- Store in a dry, dust-free place, out of the reach of children.
SPECIFICATIONS
| MODEL | DPB-2500 |
| Voltage | 56 V |
| Length (without blower pipes) | 506 mm (19.92″) |
| Width (without blower pipes) | 302 mm (11.89″) |
| Height (without blower pipes) | 160 mm (6.3″) |
| Air volume | 580 CFM |
| Air speed | 150 MPH |
| Weight (without battery) | 6.66 lbs (3.02 kg) |
| Battery: Model Type Voltage Charger type Charger input voltage | ECHO eFORCETM 56V battery series batteries Li-Ion 56 (rated 50.4) CC-CV 120V AC 60Hz |
| Charger model | ECHO eFORCETM 56V battery series charger |
| Charge Time | See Battery Operator’s Manual |
PRODUCT REGISTRATION
Thank you for choosing ECHO Power Equipment
Please go to http://www.echo-usa.com/Warranty/Register-Your-ECHO to register your new product on-line. It’s FAST and EASY! NOTE: your information
will never be sold or misused by ECHO, Incorporated.
Registering your purchase enables us to contact you in the unlikely event of a service update or product recall, and verifies your ownership for warranty consideration.
If you do not have access to the Internet, you can complete the form below and mail to: ECHO Incorporated, Product Registration, PO Box 1139, Lake Zurich, IL 60047.
PRODUCT REGISTRATION CARD:
ONLINE OPTION: Register online and save a stamp! You will be alerted of product updates and/or be sent new ECHO product information and special offers. Simply go to: www.echo-usa.com
Please Print :
Confidential: Information provided will not be shared or sold
| Purchaser’s Name: | ||
| Address: | ||
| City: | State: | Zip Code: |
| E-mail Address: | ||
| Phone Number: | Date of Purchase: | |
| Where Purchased: | ||
| Model Number: | Serial Number | |
Registering your purchase enables us to contact you in the unlikely event of a service update or product recall and verifies your ownership in the event of loss.
Primary use of tool ❑ Professional ❑ Homeowner ❑ Rental Equip.
Do you wish to receive periodic ECHO product information and special offers by e-mail? ❑ Yes ❑ No
Did you visit the ECHO website before purchasing your product?
❑ Yes ❑ No
What factor(s) most influenced your purchase?
❑ Performance ❑ Price ❑ Dealer
❑ Reliability ❑ Prior Experience ❑ Quality
❑ Friend/Family ❑ Brand ❑ Warranty
ECHO INC., 400 Oakwood Rd., Lake Zurich, IL 60047 1.800.432.ECHO WWW.ECHO-USA.COM
X7572270206 02-2012
WARRANTY
Limited Warranty Statement for ECHO 56 Volt
Products sold in USA and Canada
ECHO Incorporated warrants to the original retail purchaser that this ECHO brand 56 Volt outdoor product is free from defects in material and workmanship and agrees to repair or replace, at ECHO Incorporated’s discretion, any defective product free of charge within these time periods from the date of purchase:
- If the product is for homeowner use:
• Unit – 5 Years
• Battery or charger – 2 years - If the product is for commercial use:
• Chainsaw – 1 year
• All other units – 2 years
• Battery or charger – 1 year - If the product is for rental use: 90 days for all units, batteries, and chargers.
- Cutting attachments such as, but not limited to, bars, chains, sprockets, blades, tines, belts, Power Broom™ and nylon trimmer heads for homeowner or non-income producing use will be covered for failures due to defects in material or workmanship for a period of 60 days from original product purchase date and 30 days for commercial / rental use. Any misuse from contact with concrete, rocks, or other structures is not covered by this warranty.
This warranty extends to the original retail purchaser only and commences on the date of the original retail purchase.
Any part of this product found in the reasonable judgment of ECHO
Incorporated, to be defective in material or workmanship will be repaired or replaced without charge for parts and labor by an authorized ECHO dealer. Units, repair parts and accessories replaced under this warranty are warranted only for the balance of the original warranty period.
The product, including any defective part, must be returned to an authorized ECHO dealer within the warranty period. The expense of delivering the product to the service center for warranty work and the expense of returning it back to the owner after repair or replacement will be paid by the owner. ECHO Incorporated’s, responsibility in respect to claims is limited to making the required repairs or replacements and no claim of breach of warranty shall be cause for cancellation or rescission of the contract of sale of any ECHO brand 56 Volt outdoor product. Proof of purchase will be required by the dealer to substantiate any warranty claim. All warranty work must be performed by an authorized ECHO dealer.
This warranty does not cover any product that has been subject to misuse, neglect, negligence, or accident, or that has been operated in any way contrary to the operating instructions as specified in the Operator’s Manual.
This warranty does not apply to any damage to the product that is the result of improper maintenance or to any product that has been altered or modified. The warranty does not extend to repairs made necessary by normal wear or by the use of parts or accessories which are either incompatible with the ECHO brand 56 Volt outdoor product or adversely affect its operation, performance, or durability. In addition, this warranty does not cover wear to normal items such as, but not limited to:
Wear items – Bump Knobs, Outer Spools, Cutting Lines, Inner Reels, Felt Washers, Hitch Pins, Mulching Blades, Blower Fans, Blower and Vacuum Tubes, Vacuum Bag and Straps, Guide Bars, Saw Chains, Grass Catch Bag, Hedge Trimmer Blades, and Wheels
ECHO Incorporated, reserves the right to change or improve the design of this product without assuming any obligation to modify any product previously manufactured.
All implied warranties are limited in duration to the stated warranty period. Accordingly, any such implied warranties including merchantability, fitness for a particular purpose, or otherwise, are disclaimed in their entirety after the expiration of the appropriate five-year, two-year, one-year, 90-day, 60-day, or 30-day warranty period. ECHO Incorporated’s obligation under this warranty is strictly and exclusively limited to the repair or replacement of defective parts.
ECHO Incorporated, does not assume or authorize anyone to assume for them any other obligation. Some states do not allow limitations on how long an implied warranty lasts, so the above limitation may not apply to you. ECHO Incorporated, assumes no responsibility for incidental, consequential, or other damages including, but not limited to, expense of returning the product to an authorized dealer for ECHO brand 56 Volt outdoor products and expense of delivering it back to the owner, mechanic’s travel time, telephone charges, rental of a like product during the time warranty service is being performed, travel, loss or damage to personal property, loss of revenue, loss of use of the product, loss of time, or inconvenience. Some states do not allow the exclusion or limitation of incidental or consequential damages, so the above limitation or exclusion may not apply to you. This warranty gives you specific legal rights, and you may also have other rights which vary from state to state.
This warranty applies to all ECHO brand 56 Volt outdoor products manufactured by or for ECHO Incorporated, and sold in the United States and Canada.
To locate your nearest authorized ECHO dealer, visit www.ECHO-usa.com or dial 1-800-432-ECHO (3246).



























