ELECTRIC DRILL 10MM
2112
Instruction Manual

TECHNICAL SPECIFICATIONS
| Model No. | 2112 |
| Rated power input | 450W |
| Voltage | 220-240V |
| Frequency | 50-60Hz |
| No-load speed | 0-3300 RPM |
| Max Capacity in Wood | 20mm |
| Max Capacity in Steel | 10mm |
| Weight | 1.5kg |
| Chuck capacity | 10mm |
| Supplied in | Ronix color box |
COMPONENTS, SPECIFICATIONS AND ACCESSORIES
.COMPONENTS LIST

SAFETY INSTRUCTIONS
WARNING!
Read all instructions Failure to follow all in structions listed below may result in electric shock, fire and/or serious injury. The term “power tool” in all of the warnings listed below refers to your mains-operated (corded) power tool.
WORK AREA
a) Keep work area clean and well lit. Cluttered and dark areas invite accidents.
b) Do not operate power tools in explosive atmospheres, such as in the presence of flammable liquids, gases or dust.Power tools create sparks which may ignite the dust or fumes.
c) Keep children and bystanders away while operating a power tool. Distractions can cause you to lose control.
ELECTRICAL SAFETY
a) Power tool plugs must match the outlet .Never modify the plug in any way. Do not use any adapter plugs with earthed (grounded) power tools. Unmodified plugs and matching outlets will reduce risk of electric shock.
b) Avoid body contact with earthed or grounded surfaces such as pipes, radiators, ranges and refrigerators.There is an increased risk of electric shock if your body is earthed or grounded.
c) Do not expose power tools to rain or wet conditions.Water entering a power tool will increase the risk of electric shock.
d) Do not abuse the cord. Never use the cord for carrying,pulling or unplugging the power tool. Keep cord away from heat, oil, sharp edges or moving parts.
Damaged or entangled cords increase the risk of electric shock.
e) When operating a power tool outdoors,use an extension cord suitable for outdoor use.Use of a cord suitable for outdoor use reduces the risk of electric shock.
PERSONAL SAFETY
a) Stay alert, watch what you are doing and use common sense when operating a power tool. Do not use a power tool while you are tired or under the influence of drugs, alcohol or medication. A moment of inattention while operating powertools may result in serious personal injury.
b) Use safety equipment. Always wear eye protection.Safety equipment such as dust mask, non-skid safety shoes, hard hat, or hearing protection used for appropriate conditions will reduce personal injuries.
c) Avoid accidental starting. Ensure the switch is in the off-position before plugging in.Carrying power tools with your finger on the switch or plugging in power tools that have the switch on invites accidents.
d) Remove any adjusting key or wrench before turning the power tool on.A wrench or a key to a rotating part of the power tool may result in personalinjury.
e) Do not overreach. Keep proper footing and balance at all times.This enables better control of the power tool in unexpected situations.
f) Dress properly. Do not wear loose clothing or jewellery. Keep your hair,clothing and gloves away from moving parts.Loose clothes, jewellery or long hair can be caught in moving parts.
g) If devices are provided for the connection of dust extraction and collection facilities, ensure these are connected and properly used. Use of these devices can reduce dust related hazards.
POWER TOOL USE AND CARE
a) Do not force the power tool. Use the correct power tool for your application.The correct power tool will do the job better and safer at the rate for which it was designed. b) Do not use the power tool if the switch does not turn it on and off.Any power tool that cannot be controlled with the switch is dangerous and must be repaired. c)Disconnect the plug from the power source before making any adjustments, changing accessories, or storing power tools. Such preventive safety measures reduce the risk of starting the power tool accidentally.
d) Store idle power tools out of the reach of children and do not allow persons unfamiliar with the power tool or these instructions to operate the power tool.Power tools are dangerous in the hands of untrained users.
e) Maintain power tools. Check for misalignment or binding of moving parts,breakage of parts and any other condition that may affect the power tools operation.If damaged, have the power tool repaired before use. Many accidents are caused by poorly maintained power tools.
f) Keep cutting tools sharp and clean.Properly maintained cutting tools with sharp cutting edges are less likely to bind and are easier to control.
g)Use the power tool, accessories and tool bits etc., in accordance with these instructions and in the manner intended forthe particular type of power tool, taking into account the working conditions and the work to be performed. Use of the power tool for operations different from intended could result in a hazardous situation.
INSERTING THE BIT
– First remove the mains supply from the socket. Turn the ring of the drill chuck until the clamping jaws are open wide enough. Insert the drill into the clamping jaws of the drill chuck.
SERVICE
a) Have your power tool serviced by a qualified repair person using only identical replacement parts.This will ensure that the safety of the power tool is maintained.
ADDITIONAL SAFETY INSTRUCTIONS FOR YOUR DRILL
- Always wear ear protectors with electric drill.Exposure to noise can cause hearing loss.
- Always wear eye protectors when using this impact drill.
- Always use the auxiliary handles supplied with the tool. Loss of control can cause personal injury.
- Always check walls and ceiling to avoid hidden power cables and pipes. A metal detector can be obtained.
- Do not start the drill with the chuck key in chuck.
- Make sure the power switch is not “on” before you plug in. Always switch off before you put your drill down.
- Hold your impact drill firmly in both hands.
- Make sure drill bit are tightened securely in chuck.
- Do not use damaged or worn drill bits.
- Use clamps or a vice to hold workpiece,if possible.
DOUBLE INSULATION
The tool is double insulated. This means that all the external metal parts are electrically insulated from the mains powersupply. This is done by placing insulation barriers between the electrical and mechanical components making it unnecessary for the tool to be earthed.
IMPORTANT NOTE:
Ensure your mains supply voltage is the same as your tool rating plate voltage.Remove the mains plug from socket beforecarrying out any adjustment or servicing.
SYMBOLS
Read the manual
Warning
Wear eye protection
Wear ear protection
WEEE marking

ACCESSORIES
WARNING!
Before using your drill be sure to read the instruction manual carefully.
INSERTING A TOOL INTO CHUCK (SEE DIA1)
WARNING!
Before installing tool,remove mains plug from mains supply. Remove chuck key from key storage tab at base of drill handle, place key into chuck, turn key anti-clockwise to undo/loosen chuck, inset drill/ tool and firmly tighten chuck by turning key clockwise. Remove key and replace in storage tab at base of drill handle.

Turn chuckkey clockwiseto tighten
OPERATING THE ON/OFF SWITCH (SEE DIA2)
Press the on/off switch in for operation, releaseswitch to stop.If you wish to use the drill continuously the switch lock button can be pushed in after the on/off switch has been depressed. To release the lock button simply depress on/off switch fully, the button will automatically release.

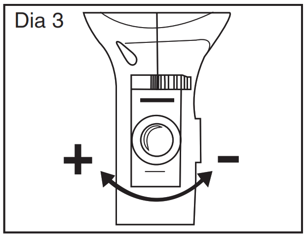
VARIABLE SPEED CONTROL SELECTOR (SEE DIA3)
The maximum speed can be altered by turning the variable speed control. Turn clockwise to increase and anti-clockwise to decrease speed.The speed of the drill varies with the amount of pressure applied to the on/off switch, i.e. more pressure for higher speed.

CHANGING ROTATIONAL D IRECTION (SEE DIA 4)
To change the r otational direction, pus h the forward/reverse selecto r switch on your drill.
NOTE:
Never m ove the forward/reverse switch w hile the drill in operation or the on/off s witch is locked a s this will d amage the drill .

MAINTENANCE AND TROUBLESHOOTING
WORKING HINTS FOR YOUR DRILL
- Drilling steel
HSS drill bits should always be used for drilling steel with a lower speed. - Screw driving Use a low speed to drive in or remove screws.
- Pilot holes When drilling a large hole in tough material (i.e. steel), we recommend drilling a small pilot hole first before using a large drill bit.
- Cool the motor If your power tool becomes too hot, set the speed to maximum and run no load for 2-3 minutes to cool the motor.
MAINTENANCE
- Never use water or chemical cleaners to clean your power tool. Wipe clean with a dry cloth.
- Always store your power tool in a dry place.
- Keep the motor ventilation slots clean.
- If you see some sparks flashing in the ventilation slots, this is normal and will not damage your power tool.
- If the supply cord is damaged, it must be replaced by a special cord or assembly available from the manufacturer or its service agent.
TROUBLESHOOTING
- If your drill will not operate, check the power at the mains plug.
- If the drill is not drill ing properly, check the drill bit for sharpness, replace drill bit if worn. Check that the drill is set to forward rotation for normal use.
- If a fault can not be rectified return the drill to qualified repair personel for service.



















