
10 Watt LED Wireless
Charging Phone Stand
ITEM 24734-DI
ENGLISH – USER MANUAL
An all-in-one desktop accessory, this unit will fast charge your Qi-enabled Smart Phone, act as a phone stand, and provide LED mood lighting. Place your phone onto the base of the stand and it will charge cable-free, or select from 3 LED light brightness options by pressing the touch button on the base.
PACKAGING CONTENTS
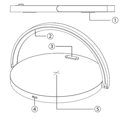
- LED Wireless Charger Phone Stand
- USB Power Cord
- Silicone Anti Slip Pads
- LED Mood Light
- Touch Switch – to change LED Mood Lighting
- Type-C Interface
- Wireless Charging Area
SPECIFICATIONS
Power Input: DC 5V/1 A, 9V/1.67A
Charging Efficiency: 75%
Wireless Charger Output: 5W, 10W
HOW TO USE THE WIRELESS CHARGING FUNCTION
- Connect the LED Wireless Charging Phone Stand with included Type C cable to a 5V USB power source such as a wall charger.
If you connect the LED Wireless Charging Phone Stand to a regular 5V USB power source the internal wireless charger will charge your phone at the regular 5W charging speed. (5V USB power source not included)
• If you connect the LED Wireless Charging Phone Stand to QC 3.0 Quick Charger, the internal wireless charger will charge your phone at a 10W fast charging speed. (QC 3.0 quick charger not included) - After the LED Wireless Charging Phone Stand is powered ON, the LED indicator light near the Type C port will flash blue and then will turn to solid white.
- Place your Qi-enabled Smart Phone in the center of the charging area of the Phone stand (flat on its back). The white LED light near the Type C port will turn blue and will remain ON while the phone is charging wireless.
HOW TO USE THE LED MOOD LIGHT TOUCH FUNCTION
- Touch the silver button on the front of the charging stand twice to turn ON the LED mood light to 30% brightness
- Touch the silver button again once and the mood light will become brighter at 70% brightness.
- Touch the silver button a third time and the mood light will work at its brightness mode being 100%.
- Touch the silver button twice to turn OFF the light when it is ON.
WARNINGS
- Do not use or store the product for long periods of time in direct sunlight or high temperatures.
- Do not charge too close to magnetic cards, magnetic recording media, and precision instruments.
- Do not disassemble or modify this product.
- Keep this product away from water or other liquids.
- Product working environment temperature range- 20 – 45 degrees
- This is not a toy, keep away from children.
FCC Caution:
This device complies with part 15 of the FCC Rules. Operation is subject to the following two conditions: (1) This device may not cause harmful interference, and (2) this device must accept any interference received, including interference that may cause undesired operation.
Any changes or modifications not expressly approved by the party responsible for compliance could void the user’s authority to operate the equipment.
Note: This equipment has been tested and found to comply with the limits for a Class B digital device, pursuant to part 15 of the FCC Rules. These limits are designed to provide reasonable protection against harmful interference in a residential installation. This equipment generates uses and can radiate radio frequency energy and, if not installed and used in accordance with the instructions, may cause harmful interference to radio communications. However, there is no guarantee that interference will not occur in a particular installation. If this equipment does cause harmful interference to radio or television reception, which can be determined by turning the equipment off and on, the user is encouraged to try to correct the interference by one or more of the following measures:
- Reorient or relocate the receiving antenna.
- increase the separation between the equipment and receiver.
- Connect the equipment into an outlet on a circuit different from that to which the receiver is connected.
- Consult the dealer or an experienced radio/TV technician for help.
FCC Radiation Exposure Statement
This equipment complies with FCC radiation exposure limits set forth for an uncontrolled environment. This equipment should be installed and operated with a minimum distance of 20cm between the radiator & your body.

If you connect the LED Wireless Charging Phone Stand to a regular 5V USB power source the internal wireless charger will charge your phone at the regular 5W charging speed. (5V USB power source not included)


















