IMPORTANT
RETAIN FOR FUTURE REFERENCE
READ CAREFULLY

Greenwich
Dresser
IMPORTANT: THE ASSEMBLY OF THIS PRODUCT REQUIRES TWO PEOPLE
1 2 5 10×3
12 13 14×2
3 4 6×3 7×3
8×3 9×3 11 15×4
Parts list:

Fittings list:
1 x 
24 x 
(15 x 16)
24 x 
21 x 
(3 x 16)
20 x 
(8 x 35)
24 x 
(6 x 13)
3 x 
(350)
4 x 
(7 x 70)
12 x 
(7 x 50)
1 x 
4 x 
16 x 
(4 x 16)
3 x 
(6×30)
2 x 
(6 x 14)
6 x 
4 x 
3 x 
(350)
6 x 
3 x 
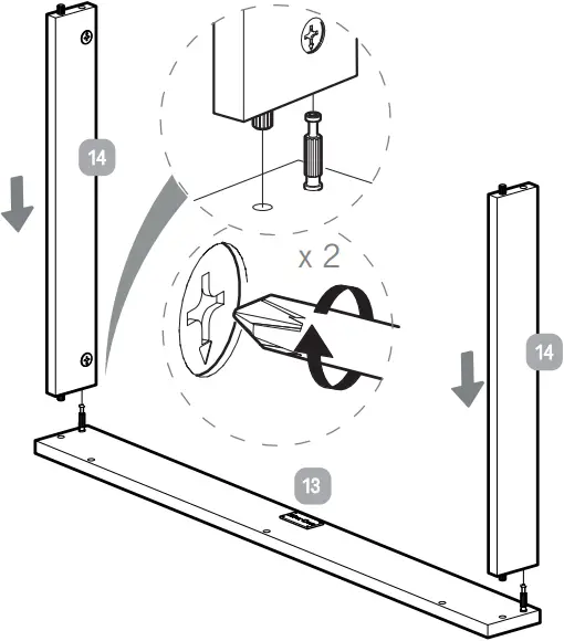
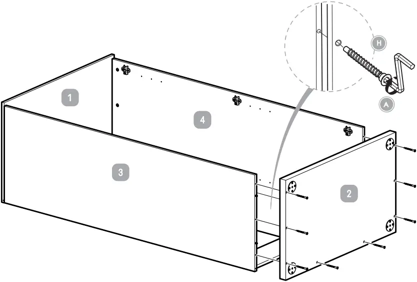
Step 1:


Step 2:

Step 3:

Step 4:

Step 5:

Step 6:

Step 7:

Step 8:

Step 9:

Step 12:

Step 13:


Step 10:

Step 11:

Step 14:

Step 15:


Step 16:

Step 17:

Step 18:

Step 19:

Step 20:

Step 21:

It is advised for safety reasons that the dresser is connected to the wall using the wall strap provided. All walls are different composition and it is important the correct fittings are used. Wall fittings are not supplied with this furniture and it is advised to consult a professional before fitting.
Fix the wall strap to the furniture as shown with the fittings provided – do not use these fittings to connect to the wall. Consult a professional before fitting the strap to the wall.
Step 22:

Step 23:

Feed the wall strap through the hole and secure it with the screw provided on the inside of the Dresser.
Step 24:

Step 25:

Step 26:

Step 27:

Step 28:

Step 29:

Step 30:

Step 31:

Step 32:

Step 33:

Step 34:

Step 35:

Step 36:

Step 37:

Step 38:

Step 39:

Step 40:

Warnings & Instructions
For Safe Use & Maintenance
Safety notes
This item is a high quality Silver Cross product. With correct use and maintenance it will give you good service. If however you should have any problems with your product, please contact your Silver Cross retailer who will take appropriate action.
WARNING! DO NOT LEAVE THE CHILD UNATTENDED
The safety of your child is your responsibility.
WARNING:
Regularly check all fittings and components of the changer are fully tightened and in good working order. If any parts have become worn or damaged then do not use the product and seek advice from your retailer or Silver Cross. Only use spare parts supplied by Silver Cross.
WARNING:
Be aware of the risk of open fire and other sources of strong heat, such as electric bar fires, gas fires etc. in the near vicinity of the changing unit.
WARNING:
A changing mattress is not supplied with this product. Place the changing mattress on the changing surface inside the retaining rails.
WARNING:
Suitable for children up to 12 months old (approximately). Maximum weight 11kgs.
WARNING:
Never use the changer if any parts are broken or missing.
WARNING:
Never drag or pivot the Dresser Changer. It must be lifted and moved by at least two people.
WARNING:
Before use ensure the changer is on a level, stable surface.
WARNING:
Do not allow children to climb on the changer.
The changer can be cleaned with a damp cloth.
Never use bleach, abrasive or strong detergents.
Thoroughly dry immediately after cleaning.
WALL STRAP INFORMATION
Never modify or change the wall strap in any way. Never use any other fittings other than those supplied to attach the wall strap to the dresser.
The wall strap provided is to be used with this product only.
Never use the screw provided to attach the strap to the wall. All walls are of different composition and it is important that the correct wall fittings are used. Consult a professional before attempting to attach the strap to the wall. No wall fittings are supplied with this product.
The wall strap must not be used to replace any other fittings supplied with this piece of furniture
We recommend the wall strap is used in all cases. To improve the stability of the furniture an even wood or tiled floor is best. A carpeted or warped floor can enable the furniture to rock, increasing the potential of the furniture to fall over.
IMPORTANT: KEEP THESE INSTRUCTION FOR FUTURE REFERENCE

Silver Cross (UK) Ltd, Micklethorn, Broughton, Skipton, North Yorkshire, BD23 3JA
silvercrossbaby.com
IND.1127553
IM-CMB-210310-02r03
IMPORTANT
RETAIN FOR FUTURE REFERENCE
READ CAREFULLY

Greenwich
Wardrobe
IMPORTANT: THE ASSEMBLY OF THIS PRODUCT REQUIRES TWO PEOPLE
1 2 5 9×4
3 4 5
6×2 7 8×2 10
Parts list:

Fillings list:
1 x 
8 x 
(15 x 16)
8 x 
6 x 
(3 x 16)
10 x 
8 x 
4 x 
8 x 
(7 x 70)
8 x 
1 x 
4 x 
28 x 
(4 x 16)
4 x 
(6×25)
6 x 
2 x 
6 x 
2 x 
4 x 
Step 1:

Step 2:

Step 3:

Step 4:

Step 5:

Step 6:

Step 7:

Step 8:

Step 9:

Step 10:

Step 11:

Step 12:

Step 13:

Step 14:

Step 15:

Step 16:

Step 17:

Step 18:

Step 19:

Step 20:

Step 21:

It is advised for safety reasons that the wardrobe is connected to the wall using the wall strap provided. All walls are different composition and it is important the correct fittings are used. Wall fittings are not supplied with this furniture and it is advised to consult a professional before fitting.
Step 22:

Step 23:


Fix the wall strap to the furniture as shown with the fittings provided – do not use these fittings to connect to the wall. Consult a professional before fitting the strap to the wall.
Step 24:

Warnings & Instructions
For Safe Use & Maintenance
Safety notes
This item is a high quality Silver Cross product. With correct use and maintenance it will give you good service. If however you should have any problems with your product, please contact your Silver Cross retailer who will take appropriate action.
WARNING: DO NOT LEAVE THE CHILD UNATTENDED
The safety of your child is your responsibility.
WARNING:
Regularly check all fittings and components of the changer are fully tightened and in good working order. If any parts have become worn or damaged then do not use the product and seek advice from your retailer or Silver Cross. Only use spare parts supplied by Silver Cross.
WARNING:
Be aware of the risk of open fire and other sources of strong heat, such as electric bar fires, gas fires etc. in the near vicinity of the wardrobe.
WARNING:
Never use the wardrobe if any parts are broken or missing.
WARNING:
Never drag or pivot the wardrobe. If must be lifted and moved by ay least two people.
WARNING:
Before ensure the wardrobe is on a level, stable surface.
WARNING:
Do not allow children to climb on the wardrobe. The wardrobe can be cleaned with a damp cloth. Never use bleach, abrasive or strong detergents. Thoroughly dry immediately after cleaning.
WALL STRAP INFORMATION
Never modify or change the wall strap in any way. Never use any other fittings other than those supplied to attach the wall strap to the dresser.
The wall strap provided is to be used with this product only.
Never use the screw provided to attach the strap to the wall. All walls are of different composition and it is important that the correct wall fittings are used. Consult a professional before attempting to attach the strap to the wall. No wall fittings are supplied with this product.
The wall strap must not be used to replace any other fittings supplied with this piece of furniture
We recommend the wall strap is used in all cases. To improve the stability of the furniture an even wood or tiled floor is best. A carpeted or warped floor can enable the furniture to rock, increasing the potential of the furniture to fall over.
IMPORTANT: KEEP THESE INSTRUCTIONS FOR FUTURE REFERENCE

Silver Cross (UK) Ltd, Micklethorn, Broughton, Skipton, North Yorkshire, BD23 3JA silvercrossbaby.com
IND.1127555
IM-CMB-210310-03r03



















