COTTA Stool »Komaris I«, Elegant Black Base

TOOLS REQUIRED

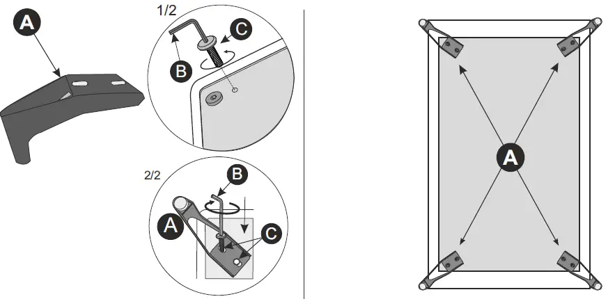
INSTALLATION INSTRUCTIONS


I05-07.06.21





I05-07.06.21
Download manual
Here you can download full pdf version of manual, it may contain additional safety instructions, warranty information, FCC rules, etc.