HUSKY RCP-B30B 120-Volt 3-Wired Inflator

Safety Information
PRECAUTIONS
- Save these instructions for future reference.
- The safety instructions provided in this manual are not intended to cover all possible conditions that may occur during product operation. Always use common sense and pay attention to all WARNING and CAUTION statements in this manual.
- Keep your work area clean and well lit. Cluttered benches and dark areas increase the possibility of personal injury or property damage.
- Do not operate power tools in explosive atmospheres, such as in the presence of flammable liquids, gases, or dust.
- Keep bystanders, children, and visitors away while operating a power tool. Distractions can cause you to lose control.
- To protect against fire, electric shock, and injury to persons do not immerse the cord, plugs, or the product in water or other liquids.
- Close supervision is necessary when any appliance is used by or near children.
- Unplug from the outlet when not in use and before cleaning.
- Do not operate any appliance with a damaged cord or plug or after the appliance malfunctions, or has been damaged in any manner. Return the appliance to the nearest authorized service facility for examination, repair, or adjustment.
- The use of accessory attachments not recommended by the appliance manufacturer may result in fire, electric shock or injury to persons.
- Do not let the supply cord hang over the edge of a table or counter, or touch hot surfaces, such as thein flator head.
- Do not use the appliance for other than intended use.
- Connect to a grounded outlet and use grounded extension cords. Do not use a 3 to 2 adapter.
- Risk of Injury – Do not direct the air stream towards the body.
- To reduce the risk of electric shock, do not expose to rain. Store indoors when not in use.
- Risk of Bursting – Use only recommended air‐handling parts acceptable for pressures not less than 130 PSI.
- This inflator is designed to inflate car tires, bike tires, ATV tires, sports equipment, air mattresses, beach toys, and other inflatables. Do not use for any purpose other than inflating. If you do so, bodily harm or personal injury can occur.
- Allow the inflator to cool down for 15 minutes after each 5 minutes of continuous operation.
- Turn the power off after using the inflation.
- The inflator is not a toy. Keep away from children at all times.
- Do not carry the inflator by the air hose or power cord as damage may occur.
- Do not leave the inflator unattended while in operation.
- Do not over-inflate the item you are inflating. Follow the manufacturer’s instructions for your item.
- Keep the inflator away from flammable areas/liquids at all times.
- Do not operate the inflator in wet or damp areas.
- Operate the inflator only with the accessories and or attachments that are included.
- Always wear safety glasses when operating the inflator.
FOR HOUSEHOLD USE ONLY
WARNING: Read and understand all instructions. Failure to follow the instructions in this manual can result in electric shock, fire and/or serious personal injury.
GROUNDING INSTRUCTIONS
This product must be grounded. In the event of an electrical short circuit, the grounding reduces the risk of electric shock by providing an escape wire for the electric current. This product is equipped with a cord having a grounding wire with an appropriate grounding plug. The plug must be plugged into an outlet that is properly installed and grounded in accordance with all local codes and ordinances.
Check with a qualified electrician or serviceman when the grounding instructions are not completely understood, or when in doubt as to whether the product is properly grounded.
Do not modify the plug provided; if it does not fit the outlet, have the proper outlet installed by a qualified electrician.
This product is for use on a nominal 120‐V circuit and has a grounding plug similar to the plug illustrated.
EXTENSION CORDS
If an extension cord must be used, use only a 3-wire extension cord that has a 3-blade grounding plug, and a 3-slot receptacle that accepts the plug on the product. Make sure your extension cord is not damaged. When using an extension cord, be sure to use one heavy enough to carry the current your product draws. For lengths less than 50 feet, 18 AWG extension cords shall be used.

Only connect the product to an outlet having the same configuration as the plug. Do not use an adapter with this product.
WARNING: Improper installation of the grounding plug can result in a risk of electric shock. When repair or replacement of the cord or plug is required, do not connect the grounding wire to either flat blade terminal. The wire with insulation having an outer surface that is green with or without yellow stripes is the grounding wire.
2-Year Limited Warranty
If this Husky product fails due to a defect in material or workmanship within 2 years from date of purchase, return to any Home Depot store for disposition.
Contact Customer Service at 1‐888‐HD‐HUSKY or visit www.huskytools.com
Pre-operation
SPECIFICATIONS
| Power Requirement | 120 VAC. 60Hz. 1.5A |
| SCFM | 0.47 SCFM @ 30psi |
| Max.Pressure | 120 psi |
PACKAGE CONTENTS

| Part | Description | Quantity |
| A | On/Off Power Switch | 1 |
| B | Grrying Handle | 1 |
| C | Backlight Analog Gauge | 1 |
| D | Power Cord | 1 |
| E | Grounded Plug | 1 |
| F | Air Hose Wrap | 1 |
| G | Mattress Nozzle | 1 |
| H | Sports Needle | 1 |
| I | Pesta Valve Adaptor | 1 |
| J | Quick Connect Valve Adaptor | 1 |
| K | Rubber Air Hose | 1 |
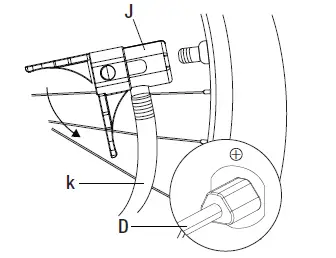
Operation – Inflate Tires
- Connecting the inflator
- Place the inflator on a flat surface.
- Plug the power cord into a grounded 120 volt outlet. Connect the quick connect valve adaptor (J) to the tire air valve by pushing the valve lever on the adaptor (J) down until it is securely attached to the tire air valve.
CAUTION: Do not over‐inflate the item being inflated. Follow the manufacturer’s suggested PSI levels on the item you are inflating.
- Operating the inflator
- Move the On/Off switch (A) to the I position to turn the inflator on. Monitor the PSI on the pressure gauge (C) to fill your item to the desired pressure.
- Once you have reached your desired air pressure, move the On/Off switch (A) to the O position.

- Disconnecting the inflator
- Remove the air hose (K) from the tire by lifting up on the quick connect valve (J) lever and removing the valve (J).
- Unplug the power cord from the 120 Volt outlet and allow the inflator to cool.

Operation – Inflate Toys and Air Mattresses
- Connecting the inflator
- Place the inflator on a flat surface.
- Plug the power cord into a grounded 120 volt outlet.
- Select the appropriate inflation accessory (G, H, or I) and insert it onto the end of the quick connect valve adaptor (J). Make sure that the accessory (G, H, or I) is flush with the end of the quick connect nozzle (J) so that the airflow to the accessory is not blocked by the tire valve pin inside the quick connect nozzle (J).
CAUTION: Do not over‐inflate the item being inflated. Follow the manufacturer’s suggested PSI levels on the item you are inflating.
- Operating the inflator
- Insert the inflation accessory into the desired item you are inflating.
- Move the On/Off switch (A) to the I position and inflate your item to the correct pressure.
- Move the On/Off switch (A) to the O position when you are finished inflating to turn the inflator off.

- Disconnecting the inflator
- Remove the inflation accessory (G, H, or I)from the quick connect valve adaptor (J).
- Unplug the power cord from the 120 Volt outlet and allow the inflator to cool.

Care and Cleaning
- lean the inflator with a non‐abrasive slightly damp cloth as needed.
USER-MAINTENANCE INSTRUCTIONS
- Locate the inflator in a clean, dry and well ventilated area. The inflator pump and housing are designed to allow for proper cooling. The ventilation openings on the inflator are necessary to maintain proper operating temperature. Do not place rags or other containers on or near these openings.
- Wipe plastic parts clean using mild soap and warm water.
- Any other servicing should be done by an authorized service representative.
Troubleshooting
| Problem | Possible Cause | Solution |
| The unit will not start. | The cord is not plugged in. | Plug the cord into a working 120 Volt AC power outlet. |
| The circuit breaker is tripped. | Reset the circuit breaker. |
Recommended Pressure
| Car Tire | 25-35 psi |
| SUV Tire | 30-45 psi |
| Bike Tire | 40-110 psi |
| Sports Balls | 5-15 psi |
WARNING: these pressure ratings are recommendations only. Always read and follow manufacturers’ guidelines for specified pressure settings.
Questions, problems, missing parts? Before returning to the store, call Husky Customer Service
8 a.m. ‐ 6 p.m., EST, Monday‐Friday
1‐888‐HD‐HUSKY
HUSKYTOOLS.COM
Retain this manual for future use.
























