Versi Control Two Zone Smart System
VersiControl Two Zone Smart System
Part#: 22XX4-RGB-YY-SC & 22XX4-RGBW-YY-SC
PARTS / TOOLS NEEDED: | ||||
|
|
|
|
|
VersiControl RGB | RGB Lighting (Varies) | Mounting Screws x 4 | Butt Splices | Power Drill |
Safety Instructions
- Disconnect power before installing, adding or changing any component.
- To avoid a hazard to children, account for all parts and destroy all packing materials.
- Do not install any luminaire assembly closer than 6″ from any combustible materials.
- Positive (+) inputs require a fuse if the attached wire leads are not rated to handle the max current.
- This device complies with part 15 of the FCC rules. Operation is subject to the following two conditions:
– This device may not cause harmful interference
– This device must accept any interferences received, including interference that may cause undesired operation
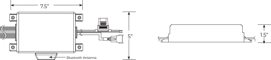
1. INSTALL: Determine the installation location for your control module. Make sure to consider the size of the module (7.5″L x 5″W x
1.5″H) when determining your location. Note, it will require room for access and for wiring. Screw the controller in place using four M5 stainless steel screws (not provided) sized appropriately for the substrate material used. Make sure when mounted, that the Blue tooth antenna is not obstructed by metal objects.

2. CONNECT CONTROL PAD: If using the control pad (optional),
insert the connector on the control pad into the connector on the module. Refer to control pad installation instructions for more detailed information.

3. ZONE WIRE CONNECTIONS: Refer to the diagram below for
reference when wiring the system in step 4. Note, there can be 16 or 20 zone wires coming out of the controller. Each wire has been individually placed on the grommet of the assembly.

3030 Corporate Grove Dr. Hudsonville, MI 49426 Phone: 616.396.1355
itc-us.com
For warranty information please visit www.itc-us.com/warranty-return-policy DOC #: 710-00099 · Rev O · 02/17/21
Page 1 of 4
4. WIRING DIAGRAM: Follow the wiring diagram below to wire the module to your system. Note: Maximum replacement fuse size is 25 amps.


5. CUSTOMIZING YOUR SYSTEM: There are several features that can be selected using the four position dip switches on the back of the control module. To adjust these switches, first remove the four screws on the back.

MULTIPLE RGB CONTROLLERS ON SAME CAN BUS NETWORK: If you are using more than one controller on a CAN network, you will need to adjust the CAN address. Dip switch one and two are used to select an address.
Switch 1 | Switch 2 | Address |
OFF | OFF | 0 (Default) |
ON | OFF | 1 |
OFF | ON | 2 |
ON | ON | 3 |
RESET PASS CODE: If needed, dip switch three can be switched on and then off to reset the Bluetooth pass code.
Switch 3 | Pass Code |
OFF | No change |
ON | Reset pass code |
SELECT TO POWER UP IN THE ON OR OFF STATE: Using dip switch four you can select if you want the controller to power up in the OFF state when power is applied, or in the ON state once power is applied.
Switch 4 | Power |
OFF | Power up OFF (default) |
ON | Power up ON |
Dip switch adjustment

6. DISABLE/SIGNAL INPUT LINE (optional): The control module has the ability to turn off zones if an input line to the controller is activated. If the disable line is held at the input voltage (5-24 volts), Zones one and two will be turned off. This feature can be used if you want to deactivate the zone lights on the outside of the boat when in motion. By default, only zones one and two are turned off. There is no effect on zones three and four. You can adjust which zones are turned off via a CAN interface display system.
7. AUDIO INPUT LINE (optional): The controller has the ability to receive an audio input signal (Line Level) through the 3.5mm RCA audio input female connector. It can use this signal to adjust the light brightness and color based on the audio signal strength and frequency.
8. WIRING CONSIDERATIONS:
– Don’t power the controller or lights until all connections are made.
– It is recommended that strain relief be added on all wires to prevent any damage to the lights.
– If fuses are not included on the RGB controller then ITC recommends including fuses on each zone output (+) wire.
– If installing a flexible lighting product, do not install the end caps in the mounting track or it may damage the light.
– To test the lights, select the single color fade for each of the colors, red, green and blue on the VersiControl app. This test will show whether there are wiring issues.
– For the NMEA2000 version controller, its LEN (Load Equivalency Number) equals two.
3030 Corporate Grove Dr. Hudsonville, MI 49426 Phone: 616.396.1355 itc-us.com
For warranty information please visit www.itc-us.com/warranty-return-policy DOC #: 710-00099 • Rev O • 02/17/21
Installation Considerations for Preventing EMI Noise
WHAT IS EMI NOISE?
Electromagnetic interference (EMI) is any unwanted signal which is either radiated(thru air) or conduct ed (thru wires) to electronic equipment and interferes with the proper operation and performance of the equipment.
All electrical/electronic components that have varying or switching currents, such as RGB lighting, create Electromagnetic interference (EMI noise). It is a matter of how much EMI noise they produce.
These same components are also susceptible to EMI, especially radios and audio amplifiers. The unwanted audible noise that is sometimes heard on a stereo system is EMI.
DIAGNOSING EMI NOISE
If EMI is observed the following steps should help isolate the problem.
1. Turn off LED light(s)/controller(s)
2. Tune the VHF radio to a quiet channel (Ch 13)
3. Adjust the radio’s squelch control until the radio outputs audio noise
4. Re-adjust the VHF radio’s squelch control until the audio noise is quiet
5. Turn on the LED light(s)/controller(s) – If the radio now outputs audio noise then the LED lights may have caused the interference.
6. If the radio does not output radio noise then the problem is with another part of the electrical system.
PREVENTING EMI NOISE
Once the EMI noise is isolated the following steps can be used to help prevent and lessen the effect of the noise.
CONDUCTED & RADIATED SOLUTIONS
GROUNDING (BONDING) : How each component is connected and routed to power ground is important. Route the ground of sensitive components back to the battery separately. Eliminate ground loops.
SEPARATION : Physically separate and mount the noisy components away from sensitive components. In the wire harness, separate the sensitive wires from the noisy wires.
FILTERING : Add filtering to either the device creating the noise or the sensitive device. Filtering may consist of power line filters, common-mode filters, ferrite clamps, capacitors and inductors.
RADIATED SOLUTIONS
SHIELDING :
Shielded cables can be used. Shielding the component in a metal enclosure is also an option. If you continue to experience EMI issues please contact your ITC sales representative.
3030 Corporate Grove Dr. Hudsonville, MI 49426 Phone: 616.396.1355 itc-us.com
For warranty information please visit www.itc-us.com/warranty-return-policy DOC #: 710-00099 • Rev O • 02/17/21
Page 4 of 4


















