Montarbo 212A Wind Pro Series Powered Speaker User Manual
PACKAGE CONTENTS
- Bi-amplified, active loudspeaker system
- User manual – Section 1
- User manual – Section 2
- Power supply cable
IMPORTANT! SAFETY INSTRUCTIONS
The lighting flash with arrowhead symbol within an equilateral triangle, is intended to alert the user to the presence of uninsulated’ dangerous voltage’ within the product’s enclosure, that may be of sufficient magnitude to constitute a risk of electric shock to humans.
The exclamation point within an equilateral triangle, is intended to alert the user to the presence of important operating and maintenance (servicing) instructions.
WARNING
In order to protect your own and others’ safety and to avoid invalidation of the warranty of this product, please read this section carefully before operating this product.
This product has been designed and manufactured for being operated as active speaker system in the applications typical of a sound reinforcement system or of a sound recording system. Operation for purposes and applications other than these has not been covered by the manufacturer in the design of the product, and is therefore to be undertaken at end user’s and/or installer’s sole risk and responsibility.
This unit conforms to Class I insulation, and for safe use it is required that the protective earth contact is connected to a grounded (earthed) outlet.
TO AVOID THE RISK OF FIRE AND/OR ELECTRIC SHOCK:
- Never expose this product to rain or moisture, never use it in proximity of water or on a wet surface. Avoid dripping water or water sprays, moreover never place objects full of liquid, such as vases, on top of it.
Never let any liquid, as well as any object, enter the product. In case, immediately disconnect it from the mains supply and refer to servicing before operating it again. Never place burning candles or other sources of open flame on top of the device. - Before connecting this product to the mains supply, always make sure that the voltage on the mains outlet corresponds to that stated on the product.
- This product must be connected only to a grounded mains outlet complying to the safety regulations in force via the supplied power cable. In case the power cable needs to be substituted, use exclusively a cable of the same type and characteristics.
- Before undertaking any sort of maintenance work etc., always make sure it has been unplugged from the mains socket.
- Never place any object on the power cable. Never lay the power cable on a walkway where one could trip over it. Never press or pinch it.
- Never install the product without providing adequate airflow to cool it.
Never obstruct the air intake openings on it. Leave enough room to get to the mains power socket and the mains connector on the back panel. - In case the external fuse needs replacement, substitute it only with one of the same type and rating, as stated on the product.
- Before attempting to move the product after it has been installed, remove all the connections.
- In case of installation with permanent electrical connection, the power supply of the system must be provided with an omnipolar cut-off device.
- In case of installation with no link from the PowerCon TRUE connector, use only the supplied power cable (or equivalent type with minimum cross-section of 3×1 sq.mm).
- When installing the loudspeaker using the power supply link from the PowerCon TRUE connector, the minimum cross-section of the power cable must be 3×2.5 sq.mm.
- The power cable supplied is fitted with a power connection plug.
The power socket used must remain easily accessible during use. If necessary, disconnect the device via the PowerCon TRUE connector or the power plug; never pull the cable to disconnect the plug. - Before placing the product on a surface of any kind, make sure that its shape and load rating safely match the product size and weight.
When installing the speaker system on a stand, use a stable stand that will fi t in the adapter and may carry the loudspeaker weight. When two loudspeakers are laid one upon the other, make sure that stability is guaranteed by matching the upper loudspeaker feet to the lower loudspeaker cavities. - To avoid shocks, kicks, or whatever action, always reserve a protected area with no access to unqualified personnel as installation site of the product. In case the product is used near children and animals closest supervision is necessary.
- This product can generate very high acoustic pressures which are dangerous for the hearing system. Always avoid operation at loud levels if anyone is excessively near to the product (at least 1 m of distance).
[!] Never expose children to high sound sources.
CAUTION
This product does not contain user serviceable parts. To prevent fi re and/or electrical shock, never disassemble it or remove the rear panel. For maintenance and servicing always refer to the official Montarbo Distributor in your Country or to qualified personnel specifically authorised by the Distributor.
THE NEW SERIES WIND PRO E EARTH PRO
- WIND PRO 208A

- WIND PRO 210A

- WIND PRO 212A

- WIND PRO 215A

- EARTHPRO115A

- EARTHPRO118A

The WIND PRO series consists of four amplified loudspeakers designed and developed to offer excellent performance in terms of SPL and frequency response, equipped with 2 woofers, one of which is coaxial. The compact elegant design is of great impact thanks to the birch plywood cabinet with a polyurea finish and the reinforced internal structure. The loudspeakers offer a lot of dynamics in the low frequency range and the advanced M-Modelling algorithm eliminates internal interference. The M-Modelling technology allows a sound reproduction that is perfectly consistent with the input signal. Each loudspeaker boasts 2 Dante ports that extend connectivity, from analog to digital, with the possibility to connect multiple loudspeakers on a network. A dedicated bracket system is available, designed for horizontal and vertical suspension of the Wind Pro 208 and the Wind Pro 210 loudspeakers. A series of flybars designed for the Wind Pro 212 and Wind Pro 215 allows them to be suspended in array mode. You can easily control each loudspeaker on the network thanks to the M-Connect software designed by Montarbo. User-friendly and user-customizable interface allows you to control every single parameter of each loudspeaker simultaneously or in groups. First-class audio level and innovation, together with an advanced acoustic design, integrated with intelligent accessories and software, offer solutions for any kind of application.
The EARTH PRO series consists of 2 amplified subwoofers designed to offer excellent performance in terms of SPL and frequency response. The compact elegant design is of great impact thanks to the birch plywood cabinet with a polyurea finish and the reinforced internal structure. The woofer, loaded in a 6th order band-pass configuration, guarantees a fast, powerful extended bass response. The loudspeakers offer a lot of dynamics in the low frequency range and the advanced M-Modelling algorithm eliminates internal interference. The M-Modelling technology allows a sound reproduction that is perfectly consistent with the input signal. Each loudspeaker boasts 2 Dante ports that extend connectivity, from analog to digital, with the possibility to connect multiple loudspeakers on a network. You can easily control each loudspeaker on the network thanks to the M-Connect software designed by Montarbo. User-friendly and user-customizable interface allows you to control every single parameter of each loudspeaker simultaneously or in groups. First-class audio level and innovation, together with an advanced acoustic design, integrated with intelligent accessories and software, offer solutions for any kind of application.
M-CONNECT
The proprietary Montarbo M-Modelling technology allows, through sophisticated algorithms, a sound reproduction perfectly consistent with the input signal.
Montarbo Modelling introduces a sophisticated processing technique that performs a precise temporal correction of the loudspeaker system eliminating the effect of internal reflections that occur inside the horns and waveguides and introducing small “echoes” and repetitions in the response impulse as well as reducing unwanted resonances in the mid-low frequencies of the loudspeaker system.
This careful processing technique introduces an equalization in the time domain, making the loudspeaker system able to reproduce most of the frequency components simultaneously and, above all, to dampen sustain and repetitions as soon as the signal ends.
M-MODELLING
The M-Connect software designed by Montarbo lets you easily control each loudspeaker on a network. Through the connection via CAT cable and an easy-to-use and user-customizable interface, you can control every single parameter of each loudspeaker simultaneously or in groups. Each compatible device can be inserted into the network and controlled individually or in groups for common parameters.
You can modify the single system equalization intended as loudspeaker or groups, you can also modify levels, delay and mute. The software allows you to select the analog and digital inputs, modify the network parameters and monitor some data of the connected devices such as the operating temperature.
WIND PRO 208A
The Montarbo WIND PRO 208A is an amplified acoustic loudspeaker designed to guarantee extremely high performance in terms of power and quality. The “Quasi 3-vie” acoustic design combined with a sophisticated audio signal processing system defines the new point-source standard, result of a 1” (voice coil: 1.7”) high-frequency coaxially hornloaded driver with a 8” transducer with 2” voice coil, and an additional 8” woofer with 3” voice coil. The birch plywood cabinet with a polyurea finish is characterized by high strength thanks to a complex structure of internal wood and steel reinforcements.
The two woofers, loaded in back-reflex configuration, guarantee a fast, powerful defined low-frequency response, without interference in the middle range thanks to the asymmetrical crossover that allows only the upper woofer the reproduction of the vocal range. The coaxial coupling of the high frequency driver ensures a coherent and transparent overall response, and an extremely linear 110° symmetrical dispersion. The Class-D amplifier features two high-efficiency channels, ensuring 1600W RMS total power that allows the speaker 132 dB SPL with 70 Hz to 20 kHz frequency response.

- A Neodymium coaxial woofer with 1” driver and 8” transducer.
- B 8” neodymium woofer with 3” voice coil
- C Birch plywood cabinet with abrasion-resistant finish.
- D Black painted steel protective grille.
- E Carrying handle.
- F Control and connection panel.
- G Pole-mount adapter.
- H Pickup points
Materials and construction methods meet the highest professional standards in order to ensure maximum reliability
WIND PRO 210A
The Montarbo WIND PRO 210A is an amplified acoustic loudspeaker designed to guarantee extremely high performance in terms of power and quality. The “Quasi 3-vie” acoustic design combined with a sophisticated audio signal processing system defines the new point-source standard, result of a 1,1” (voice coil: 2,4”) high-frequency coaxially horn-loaded driver with a 10” transducer with 3” voice coil, and an additional 10” woofer with 2,5” voice coil. The birch plywood cabinet with a polyurea finish is characterized by high strength thanks to a complex structure of internal wood and steel reinforcements.
The two woofers, loaded in back-reflex configuration, guarantee a fast, powerful defined low-frequency response, without interference in the middle range thanks to the asymmetrical crossover that allows only the upper woofer the reproduction of the vocal range. The coaxial coupling of the high frequency driver ensures a coherent and transparent overall response, and an extremely linear 70° horizontal and 50° vertical coverage.
The Class-D amplifier features two high-efficiency channels, ensuring 1600W RMS total power that allows the speaker 135 dB SPL with 65 Hz to 18 kHz frequency response.

- A Neodymium coaxial woofer with 1,1” driver and 10” transducer.
- B 10” neodymium woofer with 2,5” voice coil
- C Birch plywood cabinet with abrasion-resistant finisch.
- D Black painted steel protective grille.
- E Carrying handle.
- F Control and connection panel.
- G Pole-mount adapter.
- H Pickup points
Materials and construction methods meet the highest professional standards in order to ensure maximum reliability
WIND PRO 212A
Montarbo WIND PRO 212A is an amplified acoustic loudspeaker designed to guarantee the highest performance in terms of power and quality. The “Almost 3-way” acoustic design combined with a sophisticated audio signal processing system sets the new standard for point-source, resulting in a 1.1” high frequency driver (voice coil: 2.4”) coaxially horn-loaded with a 12” transducer with 3” voice coil, and an additional 12” woofer with 3” voice coil. Polyurea-coated birch plywood cabinet characterised by high strength thanks to a complex structure of internal wood and steel reinforcements.
The two woofers, loaded in back-reflex configuration, guarantee a fast, powerful and defined low frequency response, without interference in the midrange thanks to the asymmetrical crossover allowing the upper woofer alone to reproduce the vocal range. The coaxial coupling of the highfrequency driver ensures a consistent and transparent overall response, and an extremely linear horizontal dispersion of 70° and vertical dispersion of 50°.
Class D amplification consisting of two high-efficiency channels, for a total power output of 2400W RMS, with speaker sound pressure levels of 139 dB and a frequency response ranging from 60 Hz to 18 kHz.

- A Neodymium coaxial woofer with 1,1” driver and 12” transducer.
- B 12” ferrite woofer with 3” voice coil
- C Birch plywood cabinet with abrasion-resistant finish.
- D Black painted steel protective grille.
- E Carrying handle.
- F Control and connection panel.
- G Pole-mount adapter.
- H Pickup points
Materials and construction methods meet the highest professional standards in order to ensure maximum reliability
WIND PRO 215A
The Montarbo WIND PRO 215A is an amplified acoustic loudspeaker designed to guarantee extremely high performance in terms of power and quality. The “Quasi 3-vie” acoustic design combined with a sophisticated audio signal processing system defines the new point- source standard, result of a 1,1” high-frequency coaxially horn-loaded driver with a 15” transducer with 3” voice coil, and an additional 15” woofer with 3” voice coil. The birch plywood cabinet with a polyurea finish is characterized by high strength thanks to a complex structure of internal wood and steel reinforcements.
The two woofers, loaded in back-reflex configuration, guarantee a fast, powerful defined low-frequency response, without interference in the middle range thanks to the asymmetrical crossover that allows only the upper woofer the reproduction of the vocal range. The coaxial coupling of the high frequency driver ensures a coherent and transparent overall response, and an extremely linear 70° horizontal and 50° vertical coverage. The Class-D amplifier features two high-efficiency channels, ensuring 2400W RMS total power that allows the speaker 141dB SPL with 55 Hz to 18 kHz frequency response.

- A Neodymium coaxial woofer with 1,1” driver and 15” transducer.
- B 15” ferrite woofer with 3” voice coil
- C Birch plywood cabinet with abrasion-resistant finish.
- D Black painted steel protective grille.
- E Carrying handle.
- F Control and connection panel.
- G Pole-mount adapter.
- H Pickup points
Materials and construction methods meet the highest professional standards in order to ensure maximum reliability
CONTROL AND CONNECTION PANEL
WP208A-WP210A
WP212A-WP215A
- BALACED AUDIO INPUT
0dBu/20kΩ balanced Line Input, equipped with Neutrik Combo® socket accepting both Jack and XLR connectors . - AUDIO LINK
Balanced Link/Mixed Output on XLR connector allows for parallel connection of multiple systems . - POWER
Green POWER LED indicating the proper operation of the speaker - PRIMARY/SECONDARY
Ethercon Input for Dante connection and / or M-Connect software connection. - SYNC
Green LED indicating the proper Dante / M- Connect sync - FULL RANGE MAIN INPUT
PowerconTRUE1 mains power input - MAINS LINK
PowerconTRUE1 mains power output - FUSE HOLDER
- COOLING FAN
- GND/LIFT
GND/LIFT selection button - LED LIM/CLIP/THERMAL
Red LIM / CLIP / THERMAL LED indicating that the DSP is engaged - PRESET BUTTON
for selecting one of the eight existing DSP presets:- Full Range
- Low Cut
- Near Fill
- Wall Mount
- User 1
- User 2
- User 3
- User 4
USE E RESET
The all new Montarbo® WIND PRO and EARTH PRO series is conceived and developed to facilitate the technician during the connection and setting process, making the best use of all the product potential.
In addition to the analogue inputs on XLR connectors, these new loudspeakers feature two Ethercon inputs which, through a single Cat 5E / 6 cable, allow the user to connect the system to the Dante protocol, for transmitting the audio signal, and / or connect to the Montarbo M-Connect and M-Modelling software for remote setting and controlling each individual loudspeaker.
An integrated module also allows the loudspeaker – or loudspeaker system – to be connected via WiFi.
CONNECTION TO THE M-CONNECT SOFTWARE:
Make sure you have M-Connect software installed on your Pc / MAC.
Create a network with 1GBit certified router
Use a CAT 5E / 6 Lan cable for connection between
the router and one of the two Ethercon ports on the loudspeaker, Turn on the loudspeaker.
Run the M-Connect software and start assigning the desired parameters.
CONNECTION TO DANTE PROTOCOL:
Make sure you have Dante Controller software installed on your Pc / MAC and use an audio mixer with Dante card.
Create a network with 1GBit certified router,
Use a CAT 5E / 6 Lan cable for connection between the router and one of the two Ethercon ports on the loudspeaker, Turn on the loudspeaker.
Run the Dante Controller software and start assigning the desired parameters.
LOUDSPEAKER HARDWARE RESET:
- turn off the loudspeaker
- while holding down the PRESET button, turn on the loudspeaker.
- all LEDs will flash in 2 seconds after switching on
- release the PRESET button then quickly press it again (1 click)
- all LEDs will turn off
- PRESET 1 LED will light on again
ACCESSORIES
- DOLLY EARTH PRO 115-118

- FLYBAR EARTH PRO 115-118

- FLYBAR WIND PRO 212-215

- VERTICAL PLATE WIND PRO 212

- VERTICAL PLATE WIND PRO 215

- CONNECTION KIT FLY EP – WP

- CONNECTION KIT FLY EP

QUICK SETUP
Qualified personnel should prepare the necessary cabinets (at least 2 skilled operators are required). Use the official accessories (Earth Pro 115 118 transport cart for correct handling)
Make audio, network and power connections
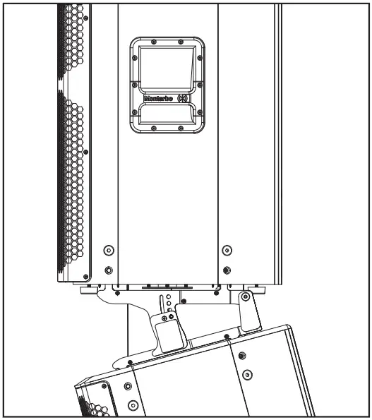
In case of multiple elements (WIND PRO), hook the vertical plates on the side (possible angles between the cabinets: 0°- 5°-10°-15°).
Finally, connect the flybars (for heads or subs), depending on the configuration required. Installation is carried out by releasing the flybar cams and inserting them into the seats of the boxes. The unit is fixed on the side by means of safety pins.
Complete the installation according to the final setup and connect in remote control for use with M-Connect software
Earth Pro 115A – 118A transport carts allow handling Earth 115 and 118 subwoofers up to a maximum load of 150 kg / 330.6 lbs.
Flybars EP115 – 118 allow the flown installation of Earth PRO subwoofers up to a maximum load of 265 kg/584 lbs. Installation is carried out by releasing the flybar cams and inserting them into the seats of the boxes. The unit is then fixed on the side by means of safety pins.
Flybars WP212 – 215 allow the flown installation of Wind PRO speakers up to a maximum load of 160 kg/352 lbs. Installation is carried out by releasing the flybar cams and inserting them into the seats of the boxes. The unit is then fixed on the side by means of safety pins.
The WP212 / WP215 vertical plates allow installation of two Wind PRO 212A-215A speakers in flown configuration, depending on the model, with maximum load of 100 kg/220 lbs at the following angles: 0°, 5°, 10°, 15°.
FLY connection kits allow the coupling of 2 subs or a sub and a head, depending on the type of configuration chosen.
TROUBLESHOOTING
| SYMPTON | LIKELY CAUSE | WHAT TO DO |
| No sound | Speaker not connected to active AC power. | Verify that speaker is connected and that the circuit is on |
| No sound. The speaker is connected to working AC power but won’t come on. | Speaker power cable is faulty or improperly connected. |
|
| No sound. Speaker comes on. | Signal source (mixer, instrument, etc ) is not sending. |
|
| Faulty cables and connections |
| |
| Signal sounds distorted and very loud, PEAK light is lit most of the time. | Excessive input signal, trying to exceed the capabilities of the speakers. |
|
| Signal sounds distorted even at moderate volumes, LIMIT light is not lit. | Mixer or other source is overdriven. | Review the Owner’s Manual for your mixer and adjust controls as needed
|
| Lots of hiss in the sound, the mixer controls are at very low settings. | Improper gain structure |
|
| Noise or hiss heard at output. | Noisy source device | Disconnect the devices that are connected to your speaker one at a time. If the noise goes away, the problem is with the source or the connection cable. |
| Hum or Buzz that increases or decreases when the mixer level controls are moved. | Improper A/C ground or faulty equipment connected to mixer input. | Disconnect or mute channels one at a time to isolate the problem. Refer to the owner’s manual of the faulty equipment for troubleshooting help. |
| Faulty cable between source equipment and mixer. | Substitute a Known-good cable for the suspected faulty cable. | |
| Hum or Buzz | Improper A/C grounding, ground loops |
|
| Excessively long unbalanced cable run. |
| |
| Improper system gain structure | Reduce the INPUT level controls and increase the output level of your source devices |
TECHNICAL DATA
| WIND PRO 208A | WIND PRO 210A | WIND PRO 212A | WIND PRO 215A | |
| ACOUSTIC FEATURES | ||||
| System | vented – quasi 3- way point source | |||
| Frequency range -6dB) | 70 hz – 18 kHz | 65 Hz – 18 kHz | 60 Hz – 18 kHz | 55 Hz – 18 kHz |
| Coverage | 110° conical | H 70° x V 50° | H 70° x V 50° | H 70° x V 50° |
| Max SPL(peak) IECnoise@1m | 132 dB SPL | 135 dB SPL | 139 dB SPL | 141 dB SPL |
| TRANSDUCER | ||||
| LF + HF | 8” Neodimium Coaxial loudspeker with voice coil 2”, Driver 1” with voice coil 1.7” and custom passive filter | 10” Neodymium Coaxial loudspeker with voice coil 3”, Driver 1,1” with voice coil 2,4” and with custom waveguide custom passive filter | 12” Neodymium Coaxial loudspeker with voice coil 3”, Driver 1,1” with voice coil 2,4” with custom waveguide and custom passive filter | 15” Neodymium Coaxial loudspeker with voice coil 3”, Driver 1,1” with voice coil 2,4” with custom waveguide and custom passive filter |
| Auxiliary LF | 8” Neodimium Woofer with voice coil 3” | 10” Neodimium Woofer with voice coil 2,5” | 12” Ferrite Woofer with voice coil 3” | 15” Ferrite Woofer with voice coil 3” |
| AMPLIFIER FEATURES | ||||
| Power supply | Universal, PFC, Regulated switch mode | |||
| Type | Class D – 2 Channels | |||
| Output power RMS | 800 W per Channel | 1200 W per Channel | ||
| Connections | PowerconTRUE1 | |||
| Protections | Thermal protections, Short-circuit/overload | |||
| Operating temperature | 0°C to 45°C | |||
| DSP FEATURES | ||||
| Preset | 4 preset Factory and 4 preser User | |||
| DSP | 24 bit 96kHz | |||
| Filter | M-Modelling | |||
| Connections | 1 XLR Input / 1 XLR Output / 2 x Ethercon (Control + Dante) | |||
| Protections | Limiter, Clip Limiter | |||
| ENCLOSURE | ||||
| Width | 296 mm (11,7 in.) | 345 mm (13,6 in.) | 384 mm (15,1 in.) | 440 mm (17,3 in.) |
| Height | 551 mm (21,7 in.) | 631 mm (24,8 in.) | 731 mm (28,8 in.) | 911 mm (39 in.) |
| Depth | 373 mm (14,7 in.) | 405 mm (16 in.) | 433 mm (17,0 in.) | 495 mm (19,5 in.) |
| Net Weigh | 20 kg (44,09 lb) | 25,80 kg (56,87 lb) | 38,30 kg (84,43 lb) | 46,6 kg (102,73 lb) |
| Housing | Black Polyurea 15 mm Birch Plywood Black painted Steel | |||
| Hardware | 12 x M10 Flying Points, 1 Top Handle D. 35 mm Pole Mount, Metal bracket | 12 x M10 Flying Points, 2 Side Handles D. 35 mm Pole Mount, Metal bracket | 7 x M10 Flying Points, 2 Side Handles D. 35 mm Pole Mount Built-in hardware for suspension | |
| System monitoring | M-Connect Ethernet TCP/IP – 1 Gigabit | |||
| WIND PRO 208A | |
| Enclosure | Vented – Quasi 3-Way Point Source |
| Components | Custom-designed to Montarbo® specifications. |
| LF + HF | 1 x 8” Neodimiun Coaxial loudspeker with voice coil 2”, Driver 1” with voice coil 1.7” and custom passive filter |
| Auxiliary LF | 1 x 8” Neodimiun Woofer with voice coil 3”. Constant directivity horn (110° Conical) |
| Frequency response | 70 Hz – 18 kHz |
| Continuous SPL | 132 dB |
| Built-in amplifier | 2 class-D power units |
| LF+HF power RMS | 800 W for channel |
| Built-in DSP | Montarbo® 24bit 96kHz converter, M-Modeling |
| Connections and controls | 1 XLR Input / 1 XLR Output 2 x Ethercon (Control + Dante) |
| Construction | 15 mm Birch Plywood, paint Black Polyurethane, grille Black painted Stee |
| Fittings | 12 x M10 Flying Points, 2 Side Handles D. 35 mm Pole Mount Built-in hardware for suspension |
| Dimensions | W 296 x H 551 x D 373 mm |
| Weight | 20 kg |
| WIND PRO 210A | |
| Enclosure | Vented – Quasi 3-Way Point Source |
| Components | Custom-designed to Montarbo® specifications. |
| LF + HF | 1 x 10” Ferrite Coaxial loudspeker with voice coil 3”, Driver 1,1” with voice coil 2,4” and custom passive filter |
| Auxiliary LF | 1 x 10” Neodimium Woofer with voice coil 2,5”. Constant directivity horn (70° H x 50° V) |
| Frequency response | 65 Hz – 18 kHz |
| Continuous SPL | 135 dB |
| Built-in amplifier | 2 class-D power units |
| LF+HF power RMS | 800 W for channel |
| Built-in DSP | Montarbo® 24bit 96kHz converter, M-Modeling |
| Connections and controls | 1 XLR Input / 1 XLR Output 2 x Ethercon (Control + Dante) |
| Construction | 15 mm Birch Plywood, paint Black Polyurethane, grille Black painted Stee |
| Fittings | 7 x M10 Flying Points, 2 Side Handles D. 35 mm Pole Mount Built-in hardware for suspension |
| Dimensions | W 345 x H 631 x D 405 mm |
| Weight | 25,80 kg |
| WIND PRO 212A | |
| Enclosure | Vented – Quasi 3-Way Point Source |
| Components | Custom-designed to Montarbo® specifications. |
| LF + HF | 1 x 12” Neodimiun Coaxial loudspeker with voice coil 3”, Driver 1,1” with voice coil 2,4” and custom passive filter |
| Auxiliary LF | 1 x 12” Ferrite Woofer with voice coil 3”. Constant directivity horn (70° H x 50° V) |
| Frequency response | 60 Hz – 18 kHz |
| Continuous SPL | 139 dB |
| Built-in amplifier | 2 class-D power units |
| LF+HF power RMS | 1200 W for channel |
| Built-in DSP | Montarbo® 24bit 96kHz converter, M-Modeling |
| Connections and controls | 1 XLR Input / 1 XLR Output 2 x Ethercon (Control + Dante) |
| Construction | 15 mm Birch Plywood, paint Black Polyurethane, grille Black painted Stee |
| Fittings | 7 x M10 Flying Points, 2 Side Handles D. 35 mm Pole Mount Built-in hardware for suspension |
| Dimensions | W 384 x H 731 x D 433 mm |
| Weight | 38,30 kg |
| WIND PRO 215A | |
| Enclosure | Vented – Quasi 3-Way Point Source |
| Components | Custom-designed to Montarbo® specifications. |
| LF + HF | 1 x 15” Neodimiun Coaxial loudspeker with voice coil 3”, Driver 1,1” with voice coil 2,5” and custom passive filter |
| Auxiliary LF | 1 x 15” Ferrite Woofer with voice coil 3”. Constant directivity horn (70° H x 50° V) |
| Frequency response | 55 Hz – 18 kHz |
| Continuous SPL | 141 dB |
| Built-in amplifier | 2 class-D power units |
| LF+HF power RMS | 1200 W for channel |
| Built-in DSP | Montarbo® 24bit 96kHz converter, M-Modeling |
| Connections and controls | 1 XLR Input / 1 XLR Output 2 x Ethercon (Control + Dante) |
| Construction | 15 mm Birch Plywood, paint Black Polyurethane, grille Black painted Stee |
| Fittings | 7 x M10 Flying Points, 2 Side Handles D. 35 mm Pole Mount Built-in hardware for suspension |
| Dimensions | W 440 x H 911 x D 495 mm |
| Weight | 46,60 kg |
Please follow all the regulations described in this manual (section 1 and 2). Don’t use the handles to hang the speakers. Use certified accessories only and trained personnel.
Product features, specifications and appearance are subject to changes without prior notice. AEB Industriale S.R.L reserve the right to make changes or improvements in design or manufacture without any obligation to incorporate such changes or improvements in previously manufactured products.
A.E.B. Industriale S.R.L.
Via Brodolini, 8 – Località Crespellano
40053 Valsamoggia – Bologna (ITALIA)
Tel +39 051 969870 – Fax +39 051 969725
www.montarbo.com
































