Turntables TE-001 Suitcase Style Bluetooth Turntable

Dear Customer, Thank you very much for your purchase. Before using your new product, please read these instructions to prevent any damage, and keep it for future reference.
IMPORTANT SAFETY INSTRUCTIONS
CAUTION
- RISK OF ELECTRIC SHOCK
- DO NOT OPEN
This symbol indicates that dangerous voltage constituting a risk of electric shock is present within the unit.
This symbol indicates that there are important operating and maintenance instructions in the literature accompanying the unit.
- Keep these instructions.
- Heed all warnings.
- Follow all instructions.
- Do not use the speakers near the water.
- Clean only with a dry cloth.
- Do not block any ventilation openings. Install in accordance with the manufacturer’s instructions.
- Do not install near any heat sources such as radiators, heat registers, stoves or other apparatus (including amplifiers) that produce heat.
- Do not defeat the safety purpose of the polarized or grounding-type plug. If the provided plug doesnot fit into your outlet, consult an electrician for replacement of the obsolete outlet.
- Protect the power cord from being walked on or pinched particularly at plugs, convenience receptacles, and the point where they exit from the unit.
- Only use attachments/accessories specified by the manufacturer.
- Unplug these speakers during lightning storms or when unused for long periods of time.
- Refer all servicing to qualified service personnel. Servicing is required when the speakers have been damaged in any way, such as the power-supply cord or plug is damaged, liquid has been spilled or objects have fallen into the unit, the unit has been exposed to rain or moisture, does not operate normally, or has been dropped.
- To reduce the risk of fire or electric shock, do not expose the speakers to rain, moisture, dripping or splashing, and no objects filled with liquids, such as vases, must be placed on them.
- DO NOT overload wall outlets or extension cords beyond their rated capacity as this can cause an electric shock or fire.
- The wall plug is the disconnecting device. The plug must remain readily operable.
- No naked flame sources, such as lit candles, should be placed on the speakers.
- The ventilation should not be impeded by covering the ventilation openings with items such as newspapers, tablecloths, curtains, etc.
BEFORE USING THE UNIT
- As the unit may become warm during operation, always leave sufficient space around the unit for ventilation.
- The voltage supplied to the unit should match the voltage as printed on the rear panel. If you are in any doubt regarding this matter, consult an electrician.
- Choose the installation location of your unit carefully. Avoid placing it in direct sunlight or close to a source of heat. Also avoid locations subject to vibrations and excessive dust, heat,cold or moisture.
- Do not place the unit on an amplifier/receiver.
- Do not open the cabinet as this might result in damage to the circuitry or electrical shock. If a foreign object should get into the unit, contact your dealer or service company.
- When removing the power plug from the wall outlet, always pull directly on the plug, and never yank the cord.
- To keep the laser pickup clean, do not touch it, and always close the disc tray.
- Do not attempt to clean the unit with chemical solvents as this might damage the finish. Use a clean, dry cloth.
- Keep this manual in a safe place for future reference.
DO NOT MOVE THE UNIT DURING PLAYBACK
- During playback, the disc rotates at high speed.
- Doing so may damage the disc or the unit.
WHEN MOVING THIS UNIT
When changing the unit’s location or packing the unit for moving, be sure to remove the record or disc. Moving this unit with the record or disc loaded may result in damage to this unit. If the unit is to be packed and moved a great distance, it is also advisable to tighten the turntable transport locking screw.
HANDLING RECORDS
- Do not touch the record’s grooves. Only handle records by the edges or the label. Make sure your hands are clean. Skin oils from even clean hands can leave a residue on the record surface that will gradually deteriorate the quality of your record.

- Should the record become dirty, gently wipe the surface in a circular motion, using a soft anti-static cloth?
- Keep your records away from dust. Keep them in a cool, dry place.
- To avoid dust and scratches, keep records in their sleeves and jackets when not in use.
- Store records upright on their edges. Records stored horizontally will eventually bend and warp.
- Do not expose records to direct sunlight or high humidity and temperature. Long exposure to high temperatures will warp the record.
- Do not store your records in the trunk of your car. The temperature in a closed trunk can ruin your collection.
- Store records in an area with a stable temperature and low humidity.
LOCATION OF CONTROLS



- Turntable Platter
- Turntable spindle
- 45 RPM adaptor
- Tone arm lift lever
- Tonearm holder
- Auto stop ON/OFF switch
- Tonearm
- Speeds select switch
- Power ON-OFF/Volume knob
- Headphone jack
- Stylus
- USB connector
- TF connector
- M Button- Play modes select key/ Record button
Next music or FM program switch
Pause and Play switch and DEL button
Previous music or FM program switch- LED Display
- Aux in jack
- Lock catch
- Handle
- Speakers
- FM Antenna
- LINE OUT jacks
- DC In jack
GETTING STARTED
General Operation
- Open the top cover as illustrated as follows

- Connected the unit to AC power as instructed below. Ensure that the mains voltage of your home corresponds to the operating voltage of the adaptor. Your unit is ready to be connected to a mains voltage of 5V DC adaptor.
- Connect the Power adapter to the wall outlet.
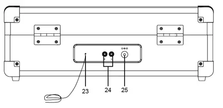
- Connect the DC connector to the “DC IN” jack 25 on the rear of the unit.
- Turn the Power ON/OFF–Volume knob clockwise to power on the unit and set the volume to the desired level.”-Pho” will show on the display.
- When finished listening, turn the Power ON/OFF–Volume knob counterclockwise until the display is not light.
- Close the cover then lock it.
Amplifier Connection (if required)
Whilst you can listen to your new Retro Suitcase Turntable using the built-in speakers, you may also wish to connect it to your existing Hi-Filesystem. Connect the “line out” RCA ports 24 to the “line input” on your mixer or amplifier using an RCA cable (not supplied).
- Red plug into the Right Channel Input.
- White plug into Left Channel Input.

Playing a record
- In first-time use, take off the protective cover from the stylus as illustrated below:

- Unlock the Tone Arm from the holder as illustrated above.
- Place the Record on the center spindle 2.
- Note: If you are playing a 45 RPM Single (small size record), place the supplied 45 RPM adapter 3 to the center spindle then place the record on it.
- Slide the Speed selector 8 to 33 45 or 78 to match the play speed of the record.
- Set the auto stop control 6 to ON if you want the turntable to stop turning when it has reached the end of the record. If the switch is set to OFF, the turntable will continue turning at the end of the record.
- Turn on the Power Switch 9, and it comes to Phono mode automatically, And the display 18 shows “-Pho”. Please note the Switchalso controls volume.
- Raise the Lever 4 to raise the Tone Arm then move it to the top of the desired location of the record. Release the Lever to put the Tone Arm onto the record. Plays will auto start.
- When finished playback, the unit will auto stop turning when Auto stop switch at the “ ON” position. If the Auto-stop switch at the “OFF’ position, the turntable will continue turning at the end of the record.
- Raise the Lever 4 to rise the Tone Arm then put it back to the Holder 5. Release the Lever then lock the Tone Arm on the Holder.
Bluetooth function
(lift up the tone arm and put it on the rest)
For first-time use or re-pairing to a new BT Device, pairing it as below
- Turn on the Power Switch 9, then press the “ M” button 14 till it enters Bluetooth mode. Display 18 shows “ bt”.
- Note: Display 9 shows“-Lod” when loading time.
- Turn on the Bluetooth function of your device and enable the search or scan feature to find the Bluetooth pairing name “***”. (See your device’s instructions to add or set up a Bluetooth device). Select “***” from the device list when it appears on your device screen. If required, enter the passcode “0000” to pair (link) with your device.
- It will have a beep sound if connected successfully, then you can play music from your Bluetooth device.
- Press button
17 to
15 to select the previous or next track. - Press button
16 to pause and play music. - Adjust the volume by volume control or by your Bluetooth device.
Normal operation after paired
- Turn on the Power Switch 9, then press the “ M” button 14 till it enters Bluetooth mode. Display 18 shows “ bt”.
- Wait a few seconds until the unit auto paired to the external BT Device.
- It will have a beep sound if connected successfully, then Plays the music in the paired BT Device as usual.
- During playback, use the control buttons on the paired cell phone to skip the tracks; pause; play…etc.
USB/TF function
(lift up the tone arm and put it on the rest)
- Turn on the Power Switch 9, and Insert your USB or TF card into slot 12 or 13. If a USB or TF card is inserted before, press the “ M” button 14 till enter into USB or TF card mode.
- Display 18 will show “-Lod”, then it displays “USB” or “TF”, and music will begin.
- Press button
17 to
15 select the previous or next track. Press and hold the button
17 to
15 fast-forward or fast-backward. - Press button
16 to pause and play music. - Press and hold button
16, the display will show “dEL”, then press the button
16 again to delete the current playing music. - Adjust the volume by the volume control 9.
FM function
(Lift up the tonearm and put it on the rest)
- Turn on the Power Switch 9, then press the “ M” button 14 till entering into FM mode. Display 18 shows “ FM 87.5 MHz”.
- Release the FM antenna 23 and adjust the position to get clear channels.
- Press button
16 to mute the sound. Press again to restore the sound. - Press and hold button
16 to automatically search FM radio. The tracks will be saved as P01, P02, P03 … when finished scan. - Press button
17 or
15 to select the previous or next track. - Press and hold the button or to the previous or next track scan.
- Adjust the volume by the volume control 9.
Aux in function
(Lift up the tonearm and put it on the rest)

- Turn on the Power Switch 9, and Insert aux in cable (not supplied) to Aux in jack 19 then press the “ M” button 14 till entering into Aux-in mode. Display 18 shows “ LINE”.
- The other side of the aux-in cable connects your device, then you can enjoy the music.
- Press button
16 to mute the sound. Press again to restore the sound. - Adjust the volume by the volume control 9.
Note: The buttons
17 or
15 are useless when Aux-in mode. You can adjust the tracks by your device.
- Turn on the Power Switch 9, and Insert your USB or TF card into slot 12 or 13. Press the “ M” button 14 till entering into Phono /Aux in /FM mode.
- Then press and hold the “M” button 14 till hearing a one-time beep sound. It begins to record songs from Phono /Aux in /FM to USB or TF card.
- Stop recording. Press and hold the “M” button 14 till hearing two times beep sound. It stops recording and saves the recorded songs to a USB or TF card as the last song.
- Press the “ M” button 14 to enter into USB or TF card mode to enjoy the recorded song.
- Clear recorder music. Press and hold button
16, and the display will show “dEL”, and you will hear a beep sound twice, the currently playing music has been deleted.
HEADPHONE
For private listening, connect the 3.5mm plug from the Earphone/Headphone (not supplied) into the HEADPHONE jack 10 on the top of the unit. Sound from speakers will be auto-cut.

MAINTENANCE
How to replace the stylus
The stylus should last about 50 hours under normal use. However, it is recommended that the stylus be replaced as soon as you notice a change in sound quality.
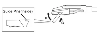
Removing an old stylus

- Set a screwdriver at the tip of the stylus and push it down to the direction “A”.
- Pull the stylus out toward direction “B”.
Installing a new stylus

- Hold the tip of the stylus and insert the other edge by pressing toward the direction “C”.
- Push the stylus up toward the direction “D” until it locks at the tip.
Caution
- Do not remove or bend the stylus.
- To avoid injury, do not touch the needle.
- Turn off the unit’s power before you replace the stylus.
- Keep out of the reach of children.
- Handle with care, as the stylus is delicate. Use of a bent or broken stylus may damage the record and cause the turntable stylus to malfunction.
- Do not expose stylus to extreme heat.
- Contact a qualified repair company if you experience difficulty in changing the stylus.
SPECIFICATIONS
| Product Name | Suitcase Style Bluetooth Turntable |
| Speaker Driver | 5W *2 |
| Dimensions (each speaker) | L13.8” x D10.2’’x H4.9’’(L350 x D260 x H125mm) |
| Power | DC5V |
| Inputs | 1 x 3 .5 mm stereo mini-jack 1 x Bluetooth 1 x USB card 1 x TF card |
| power output | 5Watts |
| Frequency Range: | FM: 87.5-108 MHz |
| 3 Speeds | 33; 45; 78 rpm |
| Auto stop | Auto Stop ON or OFF |
| RCA out | Yes |
| Recording | USB/TF card recording |
ACCESSORIES
- 1 x User’s Manual
- 1 x AC/DC Adaptor (Input: AC 100-240V~; 50/60 Hz; Output: DC 5V, 1A, )
- 1 x 45 RPM Adaptor
TROUBLESHOOTING GUIDE
| PROBLEM | POSSIBLE CAUSE | REMEDY |
| GENERAL | ||
| No sound in general. | Volume not adjusted. | Adjust the Volume knob. |
| Source mode in the wrong position. | Using the Mode button, select the proper function as required. | |
| Power cable disconnected or loose. | Check the connection or the Power cable. | |
| The unit does reset to the operation of any button | Under the influence of electrostatic phenomenon, the product may malfunction and require the user to disconnect | Turn off the unit, disconnect the mains plug, and reconnect after a few seconds. |
| PHONO | ||
| No sound when playing vinyl records | Volume not adjusted. | Adjust the Volume knob. |
| The sound is breaking up or buzzing. | There are much dust on vinyl records | Clean your records with an anti-static cloth. |
| 45RPM vinyl without use 45RPM adaptor | Use 45RPM adaptor when play 45 RPM vinyl records | |
| There has obstacles when rotating | Remove the obstacles and put the devise on a horizontal table or place. | |
| BLUETOOTH | ||
| No sound when playing audio via Bluetooth | Your Bluetooth device has not been paired properly. | Pairing your Bluetooth device according to the Pairing name “KXRM19” to a Device Section. and playing audio. |
| The volume control of your Bluetooth device is set at too low. | Increase the volume of your Bluetooth device. | |
| The volume control of the main unit is set at too low. | Increase the volume of the main unit to turn to your wish. | |
| USB/TF | ||
| No sound in USB/TF mode | Volume at minimum. | Adjust the volume knob. |
| External device not connected properly. | Clear contacts pins and connect again. | |
| AUX | ||
| No sound in AUX mode | Volume at minimum. | Adjust the volume knob. |
| External device not connected properly. | Clear contacts pins and connect again. | |
| FM radio | ||
| No sound in FM radio mode | Volume at minimum | Adjust the volume. |
| FM channel is not clear | The FM antenna not untie. | Loosen the FM antenna back of side, and adjust the external cable position to get a clear channel |
FCC Statement
This equipment has been tested and found to comply with the limits for a Class B digital device, pursuant to Part 15 of the FCC Rules. These limits are designed to provide reasonable protection against harmful interference in a residential installation. This equipment generates uses and can radiate radio frequency energy and, if not installed and used in accordance with the instructions, may cause harmful interference to radio communications. However, there is no guarantee that interference will not occur in a particular installation. If this equipment does cause harmful interference to radio or television reception, which can be determined by turning the equipment off and on, the user is encouraged to try to correct the interference by one or more of the following measures:
- Reorient or relocate the receiving antenna.
- Increase the separation between the equipment and receiver.
- Connect the equipment into an outlet on a circuit different from that to which the receiver is connected.
- Consult the dealer or an experienced radio/TV technician for help.
This device complies with part 15 of the FCC Rules. Operation is subject to the following two conditions:
- This device may not cause harmful interference.
- This device must accept any interference received, including interference that may cause undesired operation.
Changes or modifications not expressly approved by the party responsible for compliance could void the user’s authority to operate the equipment.
RF Exposure Statement
The distance between user and products should be no less than 20cm.




















