NYSJÖN


![]()
WARNING!
Serious or fatal crushing injuries can occur from furniture falling down. To prevent this furniture from falling down it must be used with the wall attachment device(s) provided.
Screw(s) and plug(s) for the wall are not included. Assess the suitability of the wall to ensure that it will withstand the forces generated. Use screw(s) and plug(s) suitable for your walls and the intended load. If you are uncertain, seek professional advice. Read and follow each step of the instruction carefully.



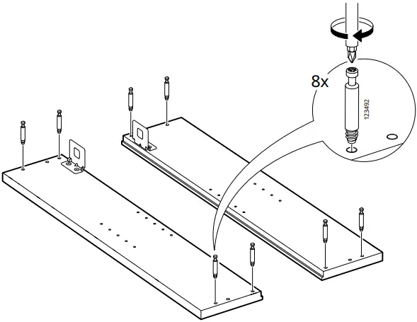
8x
8x
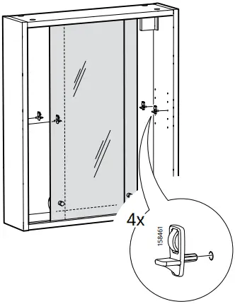
4x
2x
2x
4x
4x
2x
2x
2x
1x
1x
2x
2x
1x
1

2

3

4

5

6

7

8

9

10

11


12

13

14

15

16

17

18

© Inter IKEA Systems B.V. 2022 2022-10-04 AA-2350913-3

















