Midea MDRS723MY Side By Side Refrigerator

Safety warnings
This appliance is intended to be used in household and similar applications such as staff kitchen areas in shops, offices and other working environments; farm houses and by clients in hotels, motels and other residential type environments; bed and breakfast type environments; catering and similar non-retail applications. sensory or mental capabilities, or lack of experience and knowledge, unless they have been given supervision or instruction concerning use of the appliance by a person responsible for their safety.)
Children should be supervised to ensure that they do not play with the appliance.
If the supply cord is damaged, it must be replaced by the manufacturer, its service agent or similarly qualified persons in order to avoid a hazard.
Do not store explosive substances such as aerosol cans with a flammable propellant in this appliance.
The appliance has to be unplugged after use and before carrying out user maintenance on the appliance.
Warning: Keep ventilation openings, in the appliance enclosure or in the built-in structure, clear of obstruction.
Warning: Do not use mechanical devices or other means to accelerate the defrosting process, other than those recommended by the manufacturer.
Warning: Do not damage the refrigerant circuit.
Warning: Do not use electrical appliances inside the food storage compartments of the appliance, unless they are of the type recommended by the manufacturer.
Warning: Please abandon the refrigerator according to local regulators for it use flammable blowing gas and refrigerant.
Warning: When positioning the appliance, ensure the supply cord is not trapped or damaged.
Warning: Do not locate multiple portable socket-outlets or portable power supplies at the rear of the appliance.
Do not use extension cords or ungrounded(two prong)adapters.
Danger: Risk of child entrapment. Before you throw away your old refrigerator or freezer: -Take off the doors .
Leave the shelves in place so that children may not easily climb inside.
The refrigerator must be disconnected from the source of electrical supply before attempting the installation of accessory.
Refrigerant and cyclopentane foaming material used for the appliance are flammable.
Therefore, when the appliance is scrapped, it shall be kept away from any fire source and be recovered by a special recovering company with corresponding qualification other than be disposed by combustion, so as to prevent damage to the environment or any other harm.
For EN standard: This appliance can be used by children aged from 8 years and above and persons with reduce physical sensory or mental capabilities or lack of experience and knowledge if they have been given supervision or instruction concerning use of the appliance in a safe way and understand the hazards involved. Children shall not play with the appliance. Cleaning and user maintenance shall not be made by children without supervision. Children aged from 3 to 8 years are allowed to load and unload refrigerating appliances.
The necessity that, for doors or lids fitted with locks and keys, the keys be kept out of the reach
of children and not in the vicinity of the refrigerating appliance, in order to prevent children from being locked inside .
To avoid contamination of food, please respect the following instructions:
- Opening the door for long periods can cause a significant increase of the temperature in the compartments of the appliance.
- Clean regularly surfaces that can come in contact with food and accessible drainage systems.
- Clean water tanks if they have not been used for 48 h; flush the water system connected to a water supply if water has not been drawn for 5 days. (note 1)
- Store raw meat and fish in suitable containers in the refrigerator, so that it is not in contact with or drip onto other food.
- Two-star frozen-food compartments are suitable for storing pre-frozen food, storing or making ice-cream and making ice cubes. (note 2)
- One-, two- and three-star compartments are not suitable for the freezing of fresh food. (note 3)
- For appliances without a 4-star compartment: this refrigerating appliance is not suitable for freezing foodstuffs.(note 4)
- If the refrigerating appliance is left empty for long periods, switch off, defrost, clean, dry, and leave the door open to prevent mould developing within the appliance.
Note 1,2,3,4:Please confirm whether it is applicable according to your product compartment type.
For a freestanding appliance: this refrigerating appliance is not intended to be used as a built-in appliance.
Any replacement or maintenance of the LED lamps is intended to be made by the manufacturer, its service agent or similar qualified person.
This product contains two light source of energy efficiency class (G ).
Meaning of safety warning symbols
- This is a prohibition symbol. Any incompliance with instructions marked with this symbol may result in damage to the product or endanger the personal safety of the user.
- This is a warning symbol. It is required to operate in strict observance of instructions marked with this symbol; or otherwise damage to the product or personal injury may be caused.
- This is a cautioning symbol. Instructions marked with this symbol require special caution. Insufficient caution may result in slight or moderate injury, or damage to the product.
This manual contains lots of important safety information which shall be observed by the users.
- Do not pull the power cord when pulling the power plug of the refrigerator. please firmly grasp the plug and pull out it from the socket directly.
To ensure safe use, do not damage the power cord or use the power cord when it is damaged or worn.
- Please use a dedicated power socket and the power socket shall not be shared with other electrical appliances. The power cord should be firmly contacted with the socket or else fires might be caused.
- Please ensure that the grounding electrode of the power socket is equipped

- Please turn off the valve of the leaking gas and then open the doors and windows in case of leakage of gas and other flammable gases.
- Do not unplug the refrigerator and other electrical appliances considering that spark may cause a fire.

- Do not use electrical appliances on the top of the appliance,unless they are of the type recommended by the manufacturer.

Warnings for using
- Do not arbitrarily disassemble or reconstruct the refrigerator, nor damage t he refrigerant circuit; maintenance of the appliancemust be conducted by a specialist
Damaged power cord must be replaced by the manufacturer, its maintenance department or related professionals in order to avoid danger.
- The gaps between refrigerator doors and between doors and refrigerator body are small, be noted not to put your hand in these areas to prevent from squeezing the finger. Please be gentle when close the refrigerator door to avoid falling articles.
- Do not pick foods or containers with wet hands in the freezing chamber when the refrigerator is running, especially metal containers in order to avoid frostbite.

- Do not allow any child to get into or climb the refrigerator; otherwise suffocation or falling injury of the child may be caused.

- Do not place heavy objects on the top of the refrigerator considering that objectives may fall when close or open the door, and accidental injuries might be caused.
- Please pull out the plug in case of power failure or cleaning. Do not connect the freezer to power supply within five minutes to prevent damages to the compressor due to successive starts.

Warnings for placement
- Do not put flammable, explosive, volatile and highly corrosive items in the refrigerator to prevent damages to the product or fire accidents.
- Do not place flammable items near the refrigerator to avoid fires.

- The refrigerator is intended for household use, such as storage of foods; it shall not be used for other purposes, such as storage of blood, drugs or biological products, etc.

- Do not store beer, beverage or other fluid contained in bottles or enclosed containers in the freezing chamber of the refrigerator; otherwise the bottles or enclosed containers may crack due to freezing to cause damages.

Warnings for energy
- Refrigerating appliances might not operate consistently (possibility of defrosting of contents or temperature becoming too warm in the frozen food compartment) when sited for an extended period of time below the cold end of the range of temperatures for which the refrigerating appliance is designed.
- The fact that effervescent drinks should not be stored in food freezer compartments or cabinets or in low-temperature compartments or cabinets, and that some products such as water ices should not be consumed too cold;
- The need to not exceed the storage time(s) recommended by the food manufacturers for any kind of food and particularly for commercially quick-frozen food in food-freezer and frozen-food storage compartments or cabinets;
- The precautions necessary to prevent an undue rise in the temperature of the frozen food while defrosting the refrigerating appliance, such as wrapping the frozen food in several layers of newspaper.
- The fact that a rise in temperature of the frozen food during manual defrosting, maintenance or cleaning could shorten the storage life.
- The necessity that, for doors or lids fitted with locks and keys, the keys be kept out of the reach
of children and not in the vicinity of the refrigerating appliance, in order to prevent children from being locked inside
Warnings for disposal
Refrigerant and cyclopentane foaming material used for the refrigerator are flammable. Therefore, when the refrigerator is scraped, it shall be kept away from any fire source and be recovered by a special recovering company with corresponding qualification other than be disposed by combustion, so as to prevent damage to the environment or any other harm. When the refrigerator is scraped, disassemble the doors, and remove gasket of door and shelves; put the doors and shelves in a proper place, so as to prevent trapping of any child.Correct Disposal of this product This marking indicates that this product should not be disposed with other household wastes throughout the EU. To prevent possible harm to the environment or human health from uncontrolled waste disposal, recycle it responsibly to promote the sustainable reuse of material resources. To return your used device, please use the return and collection systems or contact the retailer where the product was purchased. They can take this product for environmental safe recycling.
Proper use of refrigerators
Placement
- Before use, remove all packing materials, including bottom cushions, foam pads and tapes inside of the refrigerator;
tear off the protective film on the doors and the refrigerator body.
- Keep away from heat and avoid direct sunlight. Do not place the freezer in moist or watery places to prevent rust or reduction of insulating effect.

- The refrigerator is placed in a well-ventilated indoor place; the ground shall be flat, and sturdy (rotate left or right to adjust the wheel for leveling if unstable).

- The top space of the refrigerator shall be greater than 30cm, and the refrigerator should be placed against a wall with a free distance more than 10cm to facilitate heat dissipation.

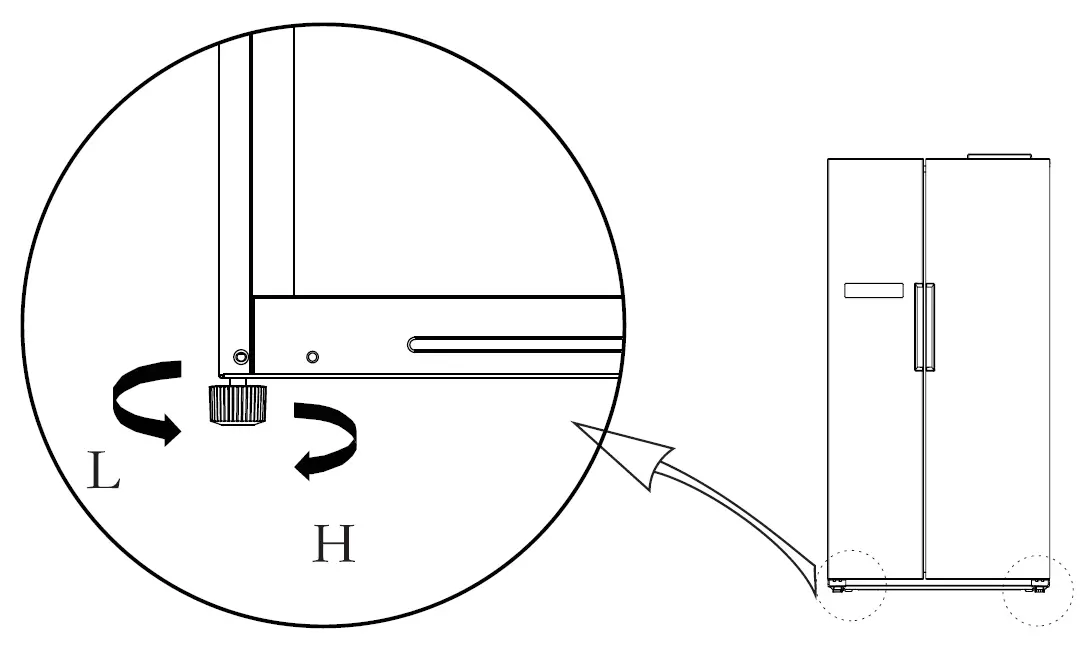
Levelling feet
- Precautions before operation:
Before operation of accessories, it shall be ensured that the refrigerator is disconnected from power. Before adjusting the leveling feet, precautions shall be taken to prevent any personal injury. - Sc hematic diagram of the levelling feet (The picture above is only for reference. The actual configuration will depend on the physical product or statement by the distributor)

- Adjusting procedures: a. Turn the feet clockwise to b. Turn the feet counterclockwise to l ower t he refrigerator;
c. Adjust the right and l eft f eet based on the procedures above to a horizontal level.
Levelling door
- Precautions before operation:
Before operation of accessories, it shall be ensured that the refrigerator is disconnected from power.
Before adjusting the door, precautions shall be taken to prevent any personal injury. - Schematic diagram of levelling the door body

(The picture above is only for reference. The actual configuration will depend on the physical product or statement by the distributor)
When the fridge door is low:
Open the door, use a wrench to l oosen t he l ocking nut and to rotate the adjusting nut anti-clockwise to raise the height of the door. Once the doors are aligned, then tighten the locking nut by rotating it anti-clockwise.
When the fridge door is high:
Open the door, use a wrench to rotate the adjusting nut clockwise to lower the height of the door. Once the doors are aligned, then tighten the locking nut by rotating it anti-clockwise.
Changing the Light
Any replacement or maintenance of the LED lamps is intended to be made by the manufacturer, its service agent or similar qualified person.
Starting to use
- Before initial start, keep the refrigerator still for half an hour before connecting it to power supply.

- Before putting any fresh or frozen foods, the refrigerator shall have run for 2-3 hours, or for above 4 hours in summer when the ambient temperature is high. Spare enough space for convenient opening of the doors and drawers.
- The picture above is only for reference. The actual configuration will depend on the physical product or statement by the distributor.

Energy saving tips
- The appliance should be located in the coolest area of the room, away from heat producing appliances or heating ducts, and out of the direct sunlight.
- Let hot foods cool to room temperature before placing in the appliance. Overloading the appliance forces the compressor to run longer. Foods that freeze too slowly may lose quality, or spoil.
- Be sure to wrap foods properly, and wipe containers dry before placing them in the appliance. This cuts down on frost build-up inside the appliance.
- Appliance storage bin should not be lined with aluminum foil, wax paper, or paper toweling. Liners interfere with cold air circulation, making the appliance less efficient. Organize and label food to reduce door openings and extended searches. Remove as many items as needed at one time, and close the door as soon as possible.
Structure and functions
Key components

(The picture above is only for reference. The actual configuration will depend on the physical product or statement by the distributor)
Refrigerating chamber
- The Refrigerating Chamber is suitable for storage of a variety of fruits, vegetables, beverages and other food consumed in the short term,suggested storage time 3days to 5days.
- Cooking foods shall not be put in the refrigerating chamber until cooled to room temperature. Foods are recommended to be sealed up before putting into the refrigerator.
- The glass shelves can be adjusted up or down for a proper storage space and easy use.
Freezing chamber
- The low temperature freezing chamber may keep food fresh for a long time and it is mainly used to store frozen foods and making ice.
- The freezing chamber is suitable for storage of meat, fish, rice balls and other foods not to be consumed in short term.
- Chunks of meat are preferably to be divided into small pieces for quick freezing and easy access. Please be noted food shall be consumed within the shelf time.
Note: Storage of too much food during operation after the initial connection to power may adversely affect the freezing effect of the refrigerator. - Foods stored shall not block the air outlet; or otherwise the freezing effect will also be adversely affected.
- Drawers, food boxes, shelves, etc. placed according to the position in the picture above are the most energy efficient.
Functions

Display
- Freezer compartment temperature
- Refrigerating compartment temperature
- Vacation icon
- Quick Freezing icon
- Quick Refrigerating icon
- Lock/unlock icon
Button
compartment temperature adjustment Mode function/setting Lock/unlock controls Freezer compartment temperature adjustment Refrigerating
Operation
- Lock U / nlock
In the unlocked
state , long press the button
for 3 se conds, enter the lock
state ; In the locked st ate, long press the button
for 3 se conds, enter the unlocked state
. All the following functions must be operated in the unlocking status. - vacation mode
Click the button
to e nter the vacation mode. Icon
light s up, the vacation mode will start
after locking the control panel.
Under vacation mode,the refrigerating compartment is turned off and temperature area display –
the freezer compartment temperature i s set at -18 ℃. - Super cool mode
Click the button to ente r the Super cooling mode. Icon lig hts up, the Super cooling mode will start after locking the control panel,Super cool exits for up to 6h. - Super freeze mode
Click the button
to enter t he Super freeze mode. Icon
lights u p, the Super freeze - Temperature setting of refrigerating chamber
Click temperature adjusting button , ref rigerating compartment temperature will blink. Then click the button or ag ain to set the temperature, and will hear one beep. Setting scope is between 2°C and 8°C.Every time you click the button,
the temperature will be changed 1°C. After adjusting, New temperature setting will take effect after locking the control panel.
Temperature setting of freezing chamber
Click temperature adjusting button , freeze r compartment temperature will blink . Then click the button or again t o set the temperature,
and you will hear one beep. Setting scope is between -16°C and -24°C. Every time you click
the
button, the temperature will be changed1°C, New temperature setting will t ake effect after locking the control panel.
Storage upon power failure
In case of power failure, the instant working state will be locked and maintained till re-electrification.
Recommended setting: Refrigerated chamber 4 ℃, freezing chamber – 18 ℃. - Opening warning and alarm control when open the refrigerator doors, the opening music will play.
- Error code
- The following warnings appearing on the display indicate corresponding faults of the refrigerator. Though the refrigerator may still have cold storage
- function with the following faults, the user shall contact a maintenance specialist for maintenance, so as to ensure optimized operation of the appliance.

Maintenance and care of the appliance
Overall cleaning
- Dusts behind the refrigerator and on the ground shall be timely cleaned to improve the cooling effect and energy saving.
- Check the door gasket regularly to make sure there are no debris. Clean the door gasket with a soft cloth dampened with soapy water or diluted detergent.
- The interior of the refrigerator should be cleaned regularly to avoid odor.
- Please turn off the power before cleaning interior, remove all foods, drinks ,shelves, drawers, etc.
- Use a soft cloth or sponge to clean the inside of the refrigerator, with two tablespoons of baking soda and a quart of warm water. Then rinse with water and wipe clean. After cleaning, open the door and let it dry naturally before turning on the power.
- For areas that are difficult to clean in the refrigerator (such as narrow sandwiches, gaps or corners), it is recommended to wipe them regularly with a soft rag, soft brush, etc. and when necessary, combined with some auxiliary tools (such as thin sticks) to ensure no contaminants or bacterials accumulation in these areas.
- Do not use soap, detergent, scrub powder, spray cleaner, etc., as these may cause odors in the interior of the refrigerator or contaminated food.
- Clean the bottle frame, shelves and drawers with a soft cloth dampened with soapy water or diluted detergent. Dry with a soft cloth or dry naturally.
- Wipe the outer surface of the refrigerator with a soft cloth dampened with soapy water, detergent, etc., and then wipe dry.
- Do not use hard brushes, clean steel balls, wire brushes, abrasives (such as toothpastes), organic solvents (such as alcohol, acetone, banana oil, etc.), boiling water, acid or alkaline items, which may damage the fridge surface and interior. Boiling water and organic solvents such as benzene may deform or damage plastic parts.
- Do not rinse directly with water or other liquids during cleaning to avoid short circuits or affect electrical insulation after immersion.

Cleaning of door tray Fruits and vegetable box and drawer
- According to the direction arrow in the figure below, use both hands to squeeze the tray, and push it upward, then you can take it out.
- After washing the tray having been taken out, you can adjust its installing height in accordance with your requirement.
- Soft towels or sponge dipped in water and non-corrosive neutral detergents are suggested for cleaning. The freezer of shall be finally cleaned with clean
- water and dry cloth. Open the door for natural drying before the power is turned on.
- Do not use hard brushes, clean steel balls, wire brushes, abrasives, such as toothpastes, organic solvents (such as alcohol, acetone, banana oil, etc.), boiling water, acid or alkaline items clean refrigerator considering that this may damage the fridge surface and interior.

(The picture above is only for reference. The actual configuration will depend on the physical product or statement by the distributor)
Cleaning of Glass shelf
- As the innermost part of the refrigerator liner where contacting the shelves has a backstop, you shall raise the shelves upward, then you can be able to take it out.
- Adjus t or clean the shelves according to your requirement.
- Soft towels or sponge dipped in water and non-corrosive neutral detergents are suggested for cleaning. The freezer of shall be finally cleaned with clean water and dry cloth. Open the door for natural drying before the power is turned on.
- Do not use hard brushes, clean steel balls, wire brushes, abrasives, such as toothpastes, organic solvents (such as alcohol, acetone, banana oil, etc.), boiling water, acid or alkaline items clean refrigerator considering that this may damage the fridge surface and interior.

(The picture above is only for reference. The actual configuration will depend on the physical product or statement by the distributor)
Defrosting
- The refrigerator is made based on the air-cooling principle and thus has automatic defrosting function. Frost formed due to change of season or temperature may also be manually removed by disconnection of the appliance from power supply or by wiping with a dry towel.
Out of operation
- Power failure: In case of power failure, even if it is in summer, foods inside the appliance can be kept for several hours; during the power failure, the times of door opening shall be reduced, and no more fresh food shall be put into the appliance.
- Long-time nonuse: The appliance shall be unplugged and then cleaned; then the doors are left open to prevent odor.
- Moving: Before the refrigerator is moved, take all objects inside out, fix the glass partitions, vegetable holder, freezing chamber drawers and etc. with tape, and tighten the leveling feet; close the doors and fix them with tape. During moving, the appliance shall not be laid upside down or horizontally, or be vibrated; the inclination during movement shall be no more than 45°.
Trouble shooting



Table 1 Climate classes

- Extended temperate: ‘this refrigerating appliance is intended to be used at ambient temperatures ranging from 10 °C to 32 °C’;
temperate: ‘this refrigerating appliance is intended to be used at ambient temperatures ranging from 16 °C to 32 °C’; - Subtropical: ‘this refrigerating appliance is intended to be used at ambient temperatures ranging from 16 °C to 38 °C’;
- Tropical: ‘this refrigerating appliance is intended to be used at ambient temperatures ranging from 16 °C to 43 °C’;
- Special for new European standard:
- The ordered parts in the following table can be acquired from channel _:

Dear customer
- If you want to return or replace the product, please contact the store where you buy. (Remember to bring the purchase invoice)
If your product breaks down which needs to repair, please contact after-sales service provider.
Importer / Address: MIDEA HOME APPLIANCES UK LTD 5 New Street Square, London, United Kingdom, EC4A
MODEL: MDRS723MY SERIES www.midea.com








































