ANSLUT 405059 Test Screw Driver

SAFETY INSTRUCTIONS
Read the operating instructions carefully before use.
Save them for future reference.
- Do not touch the tip of the test screwdriver when test measuring.
- Avoid contact with live circuits while test measuring. Risk of electric shock!
- The test screwdriver may only be used for troubleshooting and checking electrical circuits within the voltage range 110- 250 V AC.
- Check the function of the test screwdriver just before use by testing it against a known working power source.
- The test screwdriver must not be opened or modified.
- The test screwdriver must not be used if it is defective.
- The test screwdriver must not be used in humid environments.
- The test screwdriver must not be used for purposes other than to detect live circuits.
- The test screwdriver is not a toy and must be kept out of the reach of children.
- The test screwdriver may only be used if it is in full working order. A defective test screwdriver must be discarded.
- Test the function before use. The following may affect the indication: lighting conditions (for example, sunlight/, Substrate (anti-static shoes, flooring, ladders etc.) or an alternating voltage supply that is not earthed.
- The voltage tester indicates onl¥,in the temperature range -10 to +50 C, and in the frequency range 50-500 Hz.
TECHNICAL DATA
- Voltage range 110 – 250 V AC
- Frequency range 50 -500 Hz
- Power consumption <0 .5 mA
- Recommended ambient temperature 5 -40° C
- Recommended altitude < 2000 m
- Humidity <8 0%
- Indicator Neon lamp
- Safety class Cat. 11
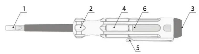
DESCRIPTION 
- Test tip
- Front grip
- Contact (for finger)
- Indicator window
- Clamp
- Screwdriver body
OPERATION
The test screwdriver must only be used for troubleshooting and checking electrical circuits within the voltage range 110-250 V AC.
Use
- Hold the handle and connect the tip of the test screwdriver to the circuit to be checked.
- Hold the test screwdriver’s contact with a finger.
- If the indicator lamp lights there is voltage in the circuit. NOTE: Make sure fo hold the test screwdriver so the indicator lamp is visible.
- Remove the test screwdriver from the live circuit once the measurement has been made.
MAINTENANCE
- Use a lightly moistened cloth and an mild detergent. Make sure that the test screwclriver is completely dry before use.
- Store the test screwdriver dry and dust-free when not in use.



















