Instruction manual
Gastrofit

Intended Use
This product serves as equipment for protecting the human body from solar radiation. The product may only be used in private households, in catering and hotels or in comparable environments. The product may only be used according to these instructions for use. Any use other than as described in these instructions for use is considered incorrect use. The right of modification resulting from technical progress is reserved. In these instructions Gastrofit is also referred to as the «product» or «sunshade».
Warning words used
!DANGER immediately dangerous situation, which could lead to death or severe injuries.
!CAUTION potentially dangerous situation which could result in minor or moderate injury.
!NOTICE a situation which could lead to property damage.
Welcome!
Congratulations on buying your new Gastrofit. You have acquired a high quality sunshade. These instructions are an integral part of the product. They contain important information about safety, use and disposal for users of the product. Please make yourself familiar with all the information specified before using the product. If you follow correct use and care, the Gastrofit will serve you well for years to come.
Optional accessories
There is widely varied range of accessories for your sunshade.
Ask your SUNCOMFORT/GLATZ dealer about them, or visit www.suncomfort.com.
Technical data
| Size [cm] | Area [m² ] | Closing height [cm] | Clearanc [cm] | Total height [cm] | Base weight [kg] |
| 350 × 350 | 12.3 | 100 | 220 | 277 | 120 |
| 400 × 400 | 16 | 99 | 227 | 291 | 180 |
Details without base.
Safety information
READ OVER ALL SAFETY INSTRUCTIONS CAREFULLY AND ENSURE THAT YOU UNDERSTAND THEM.
- Ensure that every person that uses this product has read these warnings and instructions and complies with them.
- Save all safety information and instructions for future use. They must be given to subsequent users of the product.
- The manufacturer is not liable for material damages or injuries which are caused by incorrect use or non-compliance with safety instructions. In such situations the warranty will become void.
- Children must not play with the product.
- !DANGER Always keep children away from packing material – this poses a risk of suffocation. Children underestimate dangers. This product is not a toy. Children aged 8 years or over and persons with reduced physical, sensory or mental capabilities, lack of experience or knowledge may only use the product if they are supervised by a person who is responsible for their safety or if they have been shown how to use the product safely and they have understood the risks inherent in its use. Cleaning and maintenance tasks may not be carried out by children without supervision.
- Do not use the product where concentration/attention is lacking or under the influence of drugs, alcohol or medication.
- The product must be positioned in a base or ground socket with fixed anchorage.
- When using a base, the minimum weight of the base is to be taken into consideration. Further in-formation can be obtained from SUNCOMFORT/ GLATZ or the retailer.
- When using a fixed ground anchorage, the installation must be carried out by specially trained persons in accordance with the separate assembly instructions.
- Do not light an open flame near or under the sunshade.
- Do not hang any objects from the sunshade’s supporting rods.
- Do not let the product fall or be hit.
- When opening/closing, ensure that no persons/ objects are in the area of movement. Otherwise injuries/damages could occur.
!DANGER Close the sunshade in rising wind, stormy weather and/or snow.- Unsupervised sunshades may not be left open. Any possible damages do not fall under the warranty.
- Always secure closed sunshades with the sewn-on closing strap or a suitable securing system.
- Use only original accessories/replacement parts.
- Changes to the product and technical modifications are not permitted.
Installation and start-up
- Unpacking the sunshade
Supplied with:
– Upper pole with sunshade canopy
– Lower pole
– Operating instructions
Optional:
– Cross base with stand pipe, mounting material, protective cover
Dispose of packaging material properly and keep away from children. Do not make use of defective material. In the event of any damage, inform the transport service
provider immediately.
- Placing the sunshade down
Carefully place the sunshade on a clean, horizontal surface. The sunshade is very heavy. Work in a threesome and hold the sunshade securely.
- Put the sunshade together
1. Fasten the lower pole into the top pole
2. Click ratchet pins into place
Caution: Ensure that the ratchet pins have clicked into place!
- Prepare the floor fastening Floor fastening weights and wind resistance
Size [cm] minimum weight [kg] 40 x 40 x 4 120 (350 x 350) 40 x 40 x 4 180 (400 x 400) 1. Mount cross base
2. Place the base plate and fix it with 4 countersunk screws
3. Place stand pipe on cross base
4. Adjust holes / position
5. Place 4 washers in position
6. Pre-assemble standpipe with
4 round-headed screws (M10 × 20mm)
7. Weigh down the cross base with weights
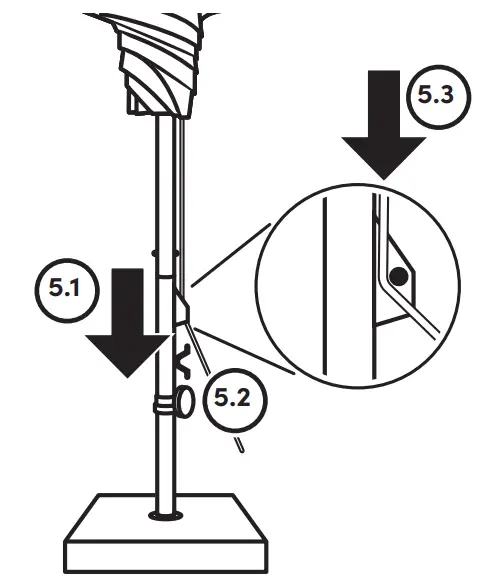
- Place sunshade in base
Set up base on even and stable surface.
1. Place sunshade in base
2. Tighten the base tube clamp
3. Insert cable
Suitable floor mounts are available from your SUNCOMFORT/GLATZ dealer.

Use

- Opening the sunshade
1. Remove protective cover
2. Loosen ribbons
3. Open parasol with the help of the cable
4. Secure cable in clamp
5. Wind up the cable on the cleat
- Closing the sunshade
1. Loosen the cable
2. Closing the sunshade
Keep the sunshade as compact as possible.
- Bind/protect the sunshade
1. Pull out / wrap fabric segments
2. Secure the sunshade with ribbons
3. Lift the protective cover above the sunshade section and close
To extend the service life of the covering material, GLATZ strongly recommends the use of a protective sleeve when the sunshade is closed.
Maintenance and care
- Allow the sunshade to dry when open to prevent the formation of mould and discolouration.
- A protective sleeve protects the sunshade and will extend its service life.
- Only pull the protective sleeve over the dry sunshade when it is dry.
- Clean the protective sleeve and the sunshade cover when needed with lukewarm water and a sponge.
- Do not use any bleach or sharp objects, to avoid damage to the cover.
- Check the tightness of all screws from time to time and tighten them if necessary.
- If the sunshade is located in a highly exposed position, increased wear and tear must be expected. In such cases we recommend more intensive care and maintenance.
- In most cases, defective sunshades can be repaired by your SUNCOMFORT/GLATZ partner. Only use original replacement parts from SUNCOMFORT/GLATZ.
Disassembly
Disassemble the sunshade if it is not going to be used for a longer period. WARNING! DANGER OF TIPPING. DANGER OF INJURY CAUSED BY SUNSHADE TIPPING OVER.
- Close the sunshade correctly and tie up.
- Take the sunshade out of the base / of the ground socket and lay it down.
- Store the sunshade in a lying position along with all accessories in a dry place.
Warranty
Please contact your SUNCOMFORT/GLATZ partner before returning the product. The warranty on the sunshade lasts for 24 months from the date of purchase. The warranty expires in the following cases:
- External application of excessive force
- Inappropriate operation or maintenance of the sunshade
- Damage arising from force majeure
The wind guarantee for an open sunshade is limited. If there are several sunshades, a minimum distance of 20 cm must be maintained between any two of them. Likewise, a minimum distance of 20 cm must be maintained between the sunshade and walls.
Disposal
Dispose of the product in a recycling collection point intended for this purpose. By correctly disposing of the product, you are helping to prevent possible dangers for the environment and for health which can be caused by incorrect disposal of old devices. The packaging is made from environmentally friendly materials which can be disposed of in your local recycling facility. The product consists of metal and plastic parts. Disposal at the end of service life must be carried out under the terms of the regional environment and waste regulations.

http://www.suncomfort.com/gastrofit-instruction
Repair service and instruction videos on
www.suncomfort.com
GLATZ AG, Neuhofstrasse 12, CH-8500 Frauenfeld
GLATZ France Sarl, 411 Allée des Noisetiers, F-69760 Limonest

























