HORIZON Round Bar Pro Installation Guide
DEALERS
Please give these instructions to your customer
| Hitch Part Number 49911 | Max Gross Trailer WT (LB) | Max Tongue WT (LB) |
| Weight Distributing | 6,000 | 600 |
| Weigt Carrying Ball Mount | 5,000 | S00 |
| Hitch Part Number 49912 | Max Gross Trailer WT (LB) | Max Tongue WT (LB) |
| Weight Distributing | 8,000 | 800 |
| Weight Carrying Ball Mount | 5,000 | 500 |
| Hitch Part Number 49913 | Max Gross Trailer WT (LB) | Max Tongue WT (LB) |
| Weight Distributing | 11,500 | 1,150 |
| Weight Carrying Ball Mount | 5,000 | 500 |
Overview

Do Not Exceed Lower of Towing Vehicle Manufacturer’s Rating or Trailer Rating.
Equipment Required:
Wrenches: 7/8”, 3/4”, 1-1/8”
Socket: 3/4”, 1-1/8”
Torque Wrench capable of reading 260 ft.-lbs.
For Installation Assistance or Technical Help
Call 1-800-632-3290
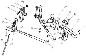
| 1 | Qty. (1) | BALL MOUNT |
| 2 | Qty. (1) | HITCH BAR |
| 3 | Qty. (1) | HITCH BAR PULL PIN |
| 4 | Qty. (1) | HITCH BAR PULL PIN SPRING CLIP |
| 5 | Qty. (2) | SPRING BAR |
| 6 | Qty. (2) | %-10X4.5″ HEX BOLT |
| 7 | Qty. (2) | % SERRATED WASHER |
| 8 | Qty. (2) | 3h-10 LOCK NUT |
| 9 | Qty. (7) | SPACER WASHER |
| 10 | Qty. (1) | BALL MOUNT ADJUSTMENT RIVET |
| 11 | Qty. (2) | SPRING BAR L BRACKET |
| 12 | Qty. (4) | 5/8-11X3.5″ HEX BOLT |
| 13 | Qty. (2) | 5/8-11 LOCK NUT |
| 14 | Qty. (2) | INNER FRAME BRACKET |
| 15 | Qty. (2) | OUTER FRAME BRACKET |
| 16 | Qty. (6) | 5/8″ LOCK WASHER |
| 17 | Qty. (4) | 5/8-11X1.5″ HEX BOLT |
| 18 | Qty. (2) | SPRING BAR COVER |
| 19 | Qty. (2) | COVER CLIP |
| 20 | Qty. (1) | LIFTING HANDLE |
WARNING
Failure to follow all instructions may result in death or serious injury!
SIZING WD AND TRAILER HITCH SYSTEMS
- Refer to provided Consumer Information to weigh loaded trailer tongue to determine proper system size.
- Choose a system with tongue rating at or above the actual trailer tongue weight
- Tongue rating of trailer hitch must meet or exceed measured tongue weight of trailer. OEM hitches may not be rigid enough for tongue weight and may need to be replaced (too much flex and won’t carry load).
- Total trailer gross weight rating must never exceed tow vehicle rated gross tow rating.
- This system works on trailer frames 1.5” – 2” wide and 4” to 7” tall, with top or bottom mount couplers.
INITIAL SET-UP

Fig. 1


Fig. 2


Fig. 3
EACH WASHER LOWERS BRACKET END OF SPRING BAR APPROX 1-1/2”
NOTE: Some truck and trailer combinations can be prone to sway such as short wheel base tow vehicles towing long trailer. Ensure vehicle tow ratings meet or exceed trailer GVWR, ensure proper trailer loading to maintain 10% to 15% tongue weight, upgrade tow vehicle tires to heavier load ratings, and when additional sway control may be required an optional Reese friction sway bar #83660 can be added to the RB Pro.
- Line up tow vehicle and trailer on level pavement, in straight-ahead position, uncoupled.
- Level the trailer and measure and record the distance from the ground to the top of the coupler. (Fig.1).
WARNING: Raised balls usually have reduced load ratings. Ball rating MUST equal or exceed trailer GVWR.
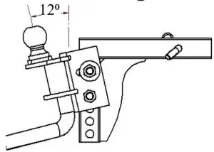
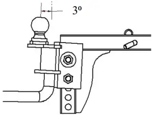
Note: Numbers in circles can be found in the chart on page (1) - Some installations may require a longer hitch bar . Extended bumper guards, pickup truck “caps”, or rear mounted spare tires can limit turn angles unless a longer bar is used. Individual hitch bars ② are available in various sizes.
- Insert the hitch bar ② into the hitch box and install a pull pin ③ and spring clip ④ . Hitch bar ② may be used in either the up or down position (see Fig. 2)
NOTE: The ball height should be greater the than coupler height by approximately 3/4 to 1” (measured in step 2) to compensate for vehicle squat. For vehicles with air springs, air shocks or an automatic leveling system, check vehicle owner’s manual. Unless otherwise specified, make sure you adjust the ball mount and do the trailer set up with the trailer and vehicle loaded as they will be when towing. - With ball attached to ball mount, slide ball mount up or down hitch bar (hitch bar may be used in the up or down position) until nearest ball height dimension is obtained and holes line up with hitch bar. Insert bolt in bottom hole first (rest hitch head.)
- Rivet ⑩ and 7 spacer washers ⑨ are supplied in order to gain correct downward angle of spring bars. For an initial fitment, try 4 spacer washers for top mounted couplers and 3 spacer washers for bottom mounted couplers. Insert rivet ⑩ and depending on angle or slope of bars that must be gained, use the least amount of washers ⑨ necessary in order to establish correct angle. (See Fig. 1, 2, and 3 below.)
INITIAL HOOK-UP

Fig. 4
NOTE: Tow Vehicle and trailer should be loaded and ready for travel before final leveling.
- Pick a reference point on the front wheel well. Measure and record distance to pavement. Front wheel well to pavement ___
- Using tongue jack, lower coupler onto ball and close coupler latch.
- Apply grease to the ball mount ends of the spring bars. The spring bars can be inserted into either side of Ball Mount (there is no ‘right’ or ‘left bar’). To insert and lock spring bar in socket, hold bar under socket and push up. The Spring Bar will automatically be locked into position by the Spring Bar Locking Device. (Check to make sure bar is locked in by moving it up and down at the frame bracket end.)
- To remove Spring Bars, just pull out on the locking device or swing bar around under the bumper and it will drop free.
- Position inner ⑭ and outer frame brackets ⑮ 27.5” from the center of trailer coupler with bolt ⑫ through the top bolts as shown. Snug nut ⑬ to the back of the inner frame bracket ⑭. Insert lower bolt ⑫ with serrated washer ⑯ through inner frame bracket ⑭ as close to the underside of the trailer frame as possible, and snug bolt. Torque both bolts to 130 ft-lbs. Note that brackets can be positioned up to 3” towards truck from nominal to clear objects on frame, but this may interfere with mounting for a friction sway bar.
- Orient L-bracket ⑪ so that the bottom portion of the bracket is ~3” above the unloaded spring bar. Secure the L-bracket ⑪ to outer frame bracket ⑮ using 2 bolts ⑰ and lock washers ⑯. Bolts should be spaced with either 1 or 2 open holes between them (do not put both bolts next directly next to each other). Be mindful to not use the threaded hole that bolt ⑫ has used. Torque bolts ⑰ to 80 ft-lbs.
- Extend trailer jack until spring bar ends are above the L-brackets. Adding a block or support under the jack will make extension and raising the trailer faster and protect the jack from buckling. Swing spring bars on to L-brackets as close to trailer frame as possible. Secure the spring bars by dropping in covers ⑱. Then secure the covers ⑱ using the pins ⑲ as shown below.
LIFTING HANDLE USE
Fig. 5

Fig. 6
- It is recommended that you use the trailer jack to raise and lower the trailer for application and removal of spring bars. If there is an issue, the lifting handle ⑳ included can be used to pry spring bars on to the L-brackets or off again. Caution should be used that the spring bars do not hit people or property. Stand clear of lift bar and spring bars.
- Retract the jack. Re-measure front wheel well reference point. The front wheel well height should be equal to or lower than the original measurement. If the front wheel well height is higher than originally measured, increase the load on the spring bars by either raising the L bracket ⑪ position or adding spacer washers ⑨. If the front wheel well is lower than originally measured, reduce the load on the spring bars by either lowering the L bracket ⑪ position or removing spacer washers ⑨ then recheck the wheel well measurement. If the original wheel well height is not achievable, it is preferred that the wheel well height is lower after the spring bars are loaded. Adjusting height of the ball mount on the hitch bar may be necessary when adjusting the number of spacer washers.
LUBRICATION
- MAINTENANCE: Use heavy lubrication such as fiber type wheel bearing grease on hitch ball and on spring bars. Recommended every day. Keep hitch painted to prevent rust and check tightness of bolts regularly. Clean out old grease, do not let it harden inside of the Ball Mount.
SURGE BRAKES
- Some surge brakes will not work with weight distributing hitches. CHECK TRAILER AND/OR SURGE BRAKE OPERATING INSTRUCTIONS FOR ANY SPECIAL REQUIREMENTS REGARDING WEIGHT DISTRIBUTING HITCHES. Do not use sway control with surge brakes.
WARNINGS
LOADED BALL HEIGHT SHOULD NOT BE GREATER THAN UNCOUPLED BALL HEIGHT. Front wheel overload and loss of rear wheel traction can result, and can lead to unstable handling, reduced braking ability, and a tendency to “jackknife” when turning and braking at the same time. IF LOADED BALL HEIGHT IS GREATER THAN UNCOUPLED HEIGHT, reduce take-up on spring bars and remeasure until proper height is obtained.
DO NOT TOW MULTIPLE TRAILERS: Do not attempt to tow any type of trailer behind another trailer. Towing multiple trailers may cause severe instability, loss of control and/or structural failure, and may result in vehicle accident, property damage and personal injury. Towing multiple trailers is illegal in many jurisdictions.
FRONT-WHEEL-DRIVE VEHICLES: DO NOT ATTEMPT TO HOOK-UP OR TOW WITH REAR WHEELS OFF TOWING VEHICLE REMOVED. Severe structural damage to towing vehicle, hitch, and trailer may result. A towing vehicle/trailer combination cannot be controlled adequately unless the towing vehicle’s rear wheels are carrying their share of the load.
MAINTENANCE: Keep sockets in head assembly free of dirt and well lubricated. Excessive wear in this area may indicate overload or
inadequate lubrication
Keep head assembly exterior clean, especially the spring bar sockets. Do not allow dirt or stones to lodge between spring bar and head.
Keep hitch painted to prevent rust and maintain a good appearance. (Do not paint over labels)
AT THE BEGINNING OF EVERY TOWING DAY:
- Clean ball and coupler socket and coat ball lightly with grease.
- Check spring bar brackets and spring bars for wear.
- Check to see that all bolts are properly tightened and hitch pin and clip are securely in place.
- Check to see that electrical hookups are in working order, and that safety chains are connected.
TOWING TIPS
DRIVING: Good habits for normal driving need extra emphasis when towing. The additional weight affects acceleration and braking, and extra
time should be allowed for passing, stopping, and changing lanes. Signal well in advance of a maneuver to let other drivers know your intentions.
Severe bumps and badly undulating roads can damage your towing vehicle, hitch, and trailer, and should be negotiated at a slow steady speed. IF ANY PART OF YOUR TOWING SYSTEM “BOTTOMS” OUT, OR IF YOU SUSPECT DAMAGE MAY HAVE OCCURED IN ANY OTHER WAY, PULL OVER AND MAKE A THOROUGH INSPECTION. CORRECT ANY PROBLEMS BEFORE RESUMING TRAVEL.
CHECK YOUR EQUIPMENT: Periodically check the condition of all your towing equipment and keep it in top condition.
TRAILER LOADING: Proper trailer loading is important. Heavy items should be placed close to the floor near the trailer axle. The load should be balanced side-to-side and firmly secured to prevent shifting. Tongue weight should be about 10-15 percent of the gross trailer weight for most trailers. Too low a percentage of tongue weight will often produce a tendency to sway. Excess weight on the tongue can also lead to sway and damage hitch and / or tow vehicle.
SWAY CONTROLS: A sway control system can help minimize the affects of sudden maneuvers, wind gusts, and buffeting caused by other vehicles. Use of a sway control is recommended for trailers with large surface areas, such as travel trailers.
TIRE INFLATION: Unless specified otherwise by the towing vehicle or trailer manufacturer, tires should be inflated to their maximum recommended pressure.
TOWING VEHICLE AND TRAILER MANUFACTURERS’ RECOMMENDATIONS: Review the owners’ manuals for your towing vehicle and trailer for specific recommendations, capacities, and requirements
POLE TONGUE TRAILERS: If your trailer has a straight tongue (instead of an A-frame tongue), it will be necessary to use a pole tongue
adapter. This adapter attaches to the trailer tongue, providing a place to attach the snap up brackets.
PASSENGERS IN TRAILERS: Trailers should NOT be occupied while being towed, under any circumstances.
TRAILER LIGHTS, TURN SIGNALS, AND ELECTRIC BRAKES: Always hook up trailer lights, turn signals, electric brakes and break-away switch connection (if so equipped) even for short trips.
REMOVE HITCH WHEN NOT TOWING: Remove hitch from towing vehicle receiver when not towing, to prevent contamination of head sockets, reduce chance of striking hitch on driveway ramps or other objects, and minimize damage in the event of a rear-end collision.
NOTES:
___________________________________________
FIVE YEAR LIMITED WARRANTY
HORIZON GLOBAL AMERICAS INC warrants this Reese Weight Distributing systems from date of purchase against defects in material and workmanship under normal use and service, ordinary wear and tear excepted, for 5 years of ownership to the original consumer purchaser.
HORIZON GLOBAL AMERICAS INC will replace FREE OF CHARGE any part which proves defective in material or workmanship when presented to any HORIZON GLOBAL AMERICAS INC dealer, HORIZON GLOBAL AMERICAS INC Warehouse or returned to factory. TRANSPORTATION CHARGES PREPAID, at the address below. THIS WARRANTY IS LIMITED TO DEFECTIVE PARTS REPLACEMENT ONLY. LABOR CHARGES AND/OR DAMAGE INCURRED IN INSTALLATION OR REPLACEMENT AS WELL AS INCIDENTAL AND CONSEQUENTIAL DAMAGES CONNECTED THEREWITH ARE EXCLUDED.
Some states do not allow the exclusion or limitation of incidental or consequential damages, so the above limitation or exclusion may not apply to you.
Any damage to the Reese Weight Distributing system as a result of misuse, abuse, neglect, accident, improper installation, or any use violative of instructions furnished by us, WILL VOID THE WARRANTY
This warranty gives you specific legal rights, and you may also have other rights which vary from state to state. In the event of a problem with warranty service or performance, you may be able to go to a small claims court, or a federal district court.
HORIZON GLOBAL 47912 Halyard Dr. Suite 100 Plymouth, MI 48170



















