ZENITH Super Trans-Oceanic Portable User Manual
There Is a World of Entertainment and Pleasure In Your New Zenith Portable
general features
Your Zenith Super Trans-Oceanic portable will operate on battery or 110 Volt AC-DC current. It uses a selenium rectifier and is a 5 tube super heterodyne radio, covering the standard broadcast, foreign, domes-tic short-wave bands, and has continuous short-wave coverage from 2 to 8 megacycles (38 to 150 meters). It has seven tuned circuits, and a 3 sec-tton tuning condenser with a tuned radio frequency stage insuring maxi-mum sensitivity and selectivity. Freedom from blasting on powerful stations is assured by a new automatic volume control circuit which controls 3 tubes on the broadcast band. A Deluxe Alnico 5, rubber mounted, permanent magnet, speaker in conjunction with an improved audio system provides finer tone than ever before.
The four button “RADIORGAN” tone control permits selection of 16 different tone combinations. The built-in removable WAVE-MAGNET provides reception in trains, planes, automobiles, boats, and steel constructed buildings. This standard Was emagnet is located on the inside of the front cover and a special extension cable is provided for its use on windows of automobiles, planes, trains, etc. To bring in short-wave stations with greatly added volume turning the knob on the top right hand corner of the cabinet allows a WAVEROD Antenna to snap up, which, when fully extended, provides increased pick up for short-wave reception.
Two terminals blase been provided at the left rear of the chassis marked “A” and “G” for external antenna and ground connections. These are for use in areas of extremely low signal strength. By merely connecting an external antenna and ground to these terminals, signals previously impossible to obtain are in many cases received with the volume and clarity of local broadcasts. This external antenna and ground is automatically connected to the proper standard or short-wave circuit when the operator presses the band selector buttons.
The band selector buttons on the front panel provide an easy means of selecting the standard broadcast (BC) or the short-wave band most suitable to the time of day. Each short-wave band is electrically SPREAD, which means that stations are separated from each other to .1
degree permitting great ease of tuning. A. calibrated second scale has been incorporated in the top edge of the dial face. It permits short-wave stations to be accurately logged and easily relocated.
All parts are fully treated Against moisture, temperature, and other climatic conditions Variations in the performance of the receiver because of seasonal or geographic changes are held to a minimum, and the receiver will operate at its maximum efficiency throughout the ‘world. Power consumption on the electric light line is 10 watts.
When the receiver is to he used in areas outside of continental U. S. A. where 110 volts AC/DC is usually not available, ballast adaptor No. S-15715 must be used. This ballast adaptor reduces 220 volts AC or 220 volts DC to 110 volts AC or 110 volts DC necessary for proper operation of the receiver.
operating instructions

- PREPARING THE RECEIVER FOR OPERATION
A. OPEN REAR DOOR OF CASE by simply pulling on finger grip provided.
B. Place the battery pack into the compartment provided below thereceiver chassis and insert battery cable plug into receptacle pro-vided for on battery. When making replacement of the battery pack be positive to use only Zenith built Z985 battery pack. - BATTERY OPERATION
A. INSERT LINE CORD PLUG into the Battery Saver Switch socket on top rear of chassis. (See Figure 2.)
Figure 2.—Insertion of Line Cord Plug Into Battery Saver Socket.
B. Turn the receiver ON by rotating the left control knob clockwise. e When not in use, always make certain that power is off by turning the left control knob fully counter clockwise, until a “click” is heard.
C. Proceed as instructed under paragraphs 10, 11, 12, and 13.
D. If used an average of 3 to 4 hours a day-30 hours a week, the battery will give approximately 150 hours of service. - LIGHT SOCKET OPERATION (110-125 Volts- DC or AC — 25 to 60 cycle operation.)
A. Remove the line cord plug from CHANGE OVER socket. Removal of this plug automatically trips the Battery Saver Switch and pre-vents battery drain while operating from the light socket supply.
B. Plug the line cord into any convenient light socket. After the receiver is in operation try reversing the plug for minimum hum or noise when operating on alternating current.
C. On direct current reverse the plug if the set does not operate after havng been turned ON. On Dafter havng been turned ON. On DIRECT CURRENT the set will operate ONLY with the plug in one position.
IRECT CURRENT the set will operate ONLY with the plug in one position.
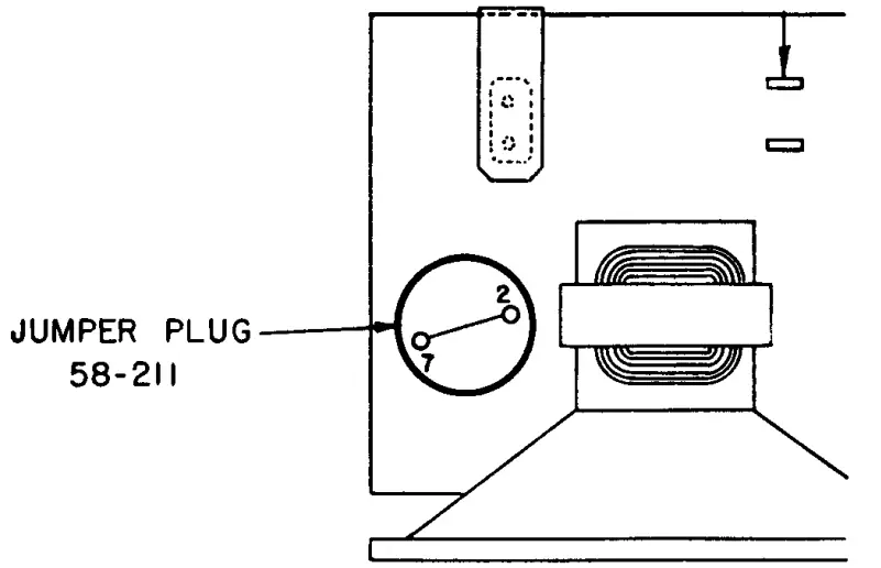
‘thermal Regulator
D. The Trans-oceanic portable comes equipped with a jumper plug 58-211. The socket into which this plug fits is the receptacle for thermal regulator tube 50A1. When operating this receiver in the field under line voltage conditions that are other than normal i.e., (105 to 122) volts, remove jumper plug 58.211 and insert then. mal regulator tube 50A1. This thermal regulator tube controls the filament current in such a manner as to keep filament emission normal. This enables the receiver to function on line voltages as low as 90 volts, and as high as 130 volts.
When the receiver is operated with the ballast adapter set for either 220 volts AC or 220 volts DC, it will then enable the set to operate on a low line voltage of 200 volts, or a high line volt-age of 250 volts. This thermal regulator can be obtained by con-tacting your nearest Zenith dealer, and ordering part No. 50A1.220-240 Volts DC or AC — 25 to 60 cycle operation.
E. If the receiver is to be used in locations where a current supply of 220-240 Volts AC or DC is available, ballast adaptor S-l5715 should be used. This ballast adaptor assembly can be obtained from your local Zenith distributor and need only be plugged into the ballast tube socket. (See Figure 4.)
Figure 4.-11.11.0 Adopt.. Unwind in Soda- Loosen the screw holding the switch positioning plate.
- Move the switch on the ballast tube to either 110 volts A•DC, 220 volts DC or 220 volts AC position to conform to the type current on which the set is to be operated. (See Figure 5.)
- Tuning Dial

Figure 6.—Diel Stole.
(See Figure 6.) Study the dial carefully. The broadcast band is cali-brated in kilocycles with the zeros deleted for convenience. This is the white bottom scale indicated by the lower half of the pointer. The short-wave bands are spread and calibrated in megacycles. four arc located on the upper half of the dial scale and two in the lower half. Read with the upper half or lower half of the pointer whichever the case may be.
THE SEVEN BAND RANGES ARE:BAND METERS MEGACYCLES KILOCYCLES 1 Standard Broadcast 555M to 188M .54Mc to 1.6Mc 540Kc to 1600Kc 2 Weather Band 75M to 38M 4Mc to 8Mc 4000Kc to 8000Kc 3 Weather Band 150M to 75M 17500Kc to 2Mc to 4Mc 2000Kc to 4000Kc 4 Short Wave 16M 17.5Mc to 18.1Mc 18100Kc 5 Short Wave 19M 14.9Mc to 15.5Mc 14900Kc to 15500Kc 6 Short Wave 25M 11.6Mc to 12.OMc 11600Kc to 12000Kc 7 Short Wave 31M 9.4Mc to 9.8Mc 9400Kc to 9800Kc (M indicates Meters; Kc indicates Kilocycles; Mc indicates Megacycles.)
- CONTINUOUS COVERAGE BANDS
This portable has continuous coverage from 2 to 4 megacycles (150 to 75 meters) and 4 to 8 megacycles (75 to 38 meters).
The continuous coverage band can be used by sportsmen, yachts-men and others operating boats in the Great Lakes, Pacific Coast, Atlantic Coast, Gulf of Mexico and Caribbean Sea areas. By tuning to the proper frequency at the scheduled time as listed in the Weather Broadcast Schedule (Weather Broadcast Schedules are in the back por-tion of this book) they will be able to obtain exact up-to-the-minute as well as predicted weather reports for the areas in which they are operat-ing. These weather reports are vitally important in continuing or plan- ning a cruise in either the inland or off-shore waters of continental U.S.A.
The 4 to 8 megacycle continuous coverage band also includes the 49 meter, 6.0 Mc to 6.2 Mc International Short Wave Band. - SPLIT-SECOND SCALE
This feature is provided in the upper outer edge of the dial face to assure ease and accuracy in logging and relocating the foreign stations. Example: A station heard at 9.55 megacycles would be logged at 9.5 on the tuning band plus the number of seconds occurring on the split-second scale; which in this case would be 24 seconds (i. e.: 9.5+24). - RADIORGAN
The tonal characteristics of the receiver may be regulated to the listeners preference by means of the four tone buttons below the dial. The combi-nation of these four buttons in either of their two positions offers 16 possible tonal combinations. The portion of the tonal range is shown above each button. - HEADPHONES
In trains, dormitories, hospitals or schools, etc., it may be necessary to operate the receiver without disturbing nearby persons. The use of headphones is especially helpful for airplane travel. Special low imped-ance Zenith Headphone Kit, part number S-18631, available throtigh your Zenith dealer, is easily adaptable to the chassis of the receiver. To connect these headphones place the earphone plug into the. socket pro-vided. (See Figure 7.) Plugging the headphones into the earphone jack automatically disconnects the speaker.
- TUBE COMPLEMENT
TUBE TYPE :USE
1 1U4 :RF Amplifier
1 116:Converter
1 1U4:IF Amplifier
1 1U5:AVC, 2nd Detector and 1st Audio Amplifier
1 3V4:Power Amplifier
SELENIUM RECTIFIER
1 : 212-5 : Rectifier
See Figure 8 for location of tubes on chassis.
Figure 8.—Top View of Chassis Showing Tube Locotion.Top View of Chassis Showing Tube Locotion. - STANDARD BROADCAST (Normal Conditions)‘A. Use the receiver with the antenna in position as shipped from thefactory. It is not necessary to remove the Wavemagnet under nor-mal conditions. A loop antenna is, naturally, directional. If recep-tion of a station is not satisfactory, rotate the entire receiver for the position of greater signal and least interference. The directional property is also helpful in climinating noises caused by local clec- trical devices.
b. Press The Band Selector Button Marked Broadcast
C. Turn the set “On” with the left knob. Turn this control to a well advanced position and reset to the desired volume, after a station has been tuned in,
D. Tune with the right hand knob and read the standard broadcast scale on the dial.
E. Adjust RADIORGAN for desired tone,
F. When hunting for distant broadcast or short-wave stations set the
volume control knob to an advanced position. Turn it back to the
desired level after a station has been tuned in. - STANDARD BROADCAST RECEPTION {Steel Structures)
A. In steel structures and vehicles, remove the Broadcast Wavemagnet by turning off the thumb screws which hold the Wavemagnet in position on the inside of the front cover. Replace thumb screws
to prevent their loss.
b. Open back of the case, and remove the Wavemagnet extension cord and suction cups.
C. Snap one end of the Wavemagnet extension cord on the broadcast
Wavemagnet. Remove the plug already in the Wavemagnet socket,
and place the plug on the other end of the Wavemagnet extension
cord into this socket. (See Figure 9.) Snap the suction cups on the
two remaining Wavemagnet snap buttons.
Figure 9.—Rear View of Receiver with the Wavemagnet Extension Cable Connected.
D. Moisten the suction cups and apply the Broadcast Wavemagnet
to a corner of a window. (See Figure 10.)
E. Experiment with various positions on the window for best recep-
tion and minimum noise
Figure 10,—Detachable Wavemagnet in Position on a Window Glass.
f. ntenna and ground terminals have been provided in the left
rear of the receiver chassis, to which an external antenna and
ground may be connected, It is only necessary to use these external
antenna and ground connections when the receiver is to be oper
ated in areas with extremely low signal strengths where it is dif-
ficult to receive a desired signal on the standard Wavemagnet. (See
Figure 11.)
Figure 11.—Antenna and Ground Terminals. - SHORTWAVE RECEPTION
(Average Conditions)
‘A. Raise cover to upright position
B. Turn Waverod button and extend the Waverod to its full length.
(See Figure 12.
Figure 12.—Waverod Must Be Extended for Shortwave Reception.
C. Press desired shortwave band selector button.
d. Turn set “On” by rotating the left knob clockwise.
E. Tune the set with the right knob, tune very slowly, and read dial
scale according to band button. : - SHORTWAVE RECEPTION (On 2 to 8 megacycles continuous coverage marine bands, in ‘areas with extremely low signal strength)
A. antenna and ground terminal have been provided in the left
rear of the receiver chassis, (See Figure 11), to which an external
antenna and ground may be connected. It is only necessary to use
these external antenna and ground connections when the receiver
is to be operated in areas with extremely low signal strength where
it is difficult to receive a desired signal on the standard Waverod.





























