JL AUDIO Subwoofers Owner’s Manual
Congratulations on your purchase of a JL Audio subwoofer component. Your JL Audio subwoofer is a precision loudspeaker which has been engineered to produce the highest quality sub-bass performance in your vehicle. Authorized JL Audio dealers have extensive technical information for many different applications of your new speaker. They also have the knowledge, skills and tools to build a high-quality enclosure that will maximize the performance of your speaker. We highly recommend that you have your enclosure built by an authorized JL Audio dealer. Inside you will find specifications and two recommended enclosures for your speaker; one is a sealed enclosure, the other is a ported design. Both types of enclosures will give you excellent sound quality and low-frequency extension. The sealed enclosure is a better choice if space is extremely tight, but the ported enclosure will produce 3dB more output at the same power if you have the extra space to work with.
Product overview


| 10WØv3 SUBWOOFER PHYSICAL SPECIFICATIONS | |
| Nominal Diameter: | 10.0 in. 250 mm |
| Overall Diameter (A): | 10.52 in. 267 mm |
| Mounting Hole Diameter (B): | 9.0625 in. 230 mm |
| Bolt Hole Circle (C): | 9.7 in. 246.5 mm |
| Magnet Diameter (D): | 5.05 in 128 mm |
| Mounting Depth (E): | 4.9 in. 124 mm |
| Net Weight: | 7.5 lbs. 3.40 kg |
| Driver Displacement: | 0.034 ft3 0.96 liters |
| SUBWOOFER | 10WØv3-4 |
| Free Air Resonance (Fs): | 32.09 Hz |
| Electrical “Q” (Qes): | 0.640 |
| Mechanical “Q” (Qms): | 10.752 |
| Total Speaker “Q” (Qts): | 0.604 |
| Equivalent Compliance (Vas): | 1.095 ft3 31.01 liters |
| One-way, Linear Excursion (Xmax)*: | 0.45 in. 11.4 mm |
| Efficiency (1W/1m)**: | 84.07 dB SPL |
| Effective Piston Area (Sd): | 48.909 in2 0.0316 m2 |
| DC Resistance (Re): | 4.280 ohm |
| Nominal Impedance: | 4 ohm |
| Power Handling (continuous): | 300 W |
| |
All specifications are subject to change without notice
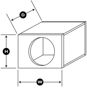
| SUBWOOFER | RECOMMENDED SEALED ENCLOSURE | ||||
| Volume (net int.) | External Dimensions (Width x Height x Depth) | F3 (Hz) | Fc (Hz) | Qtc | |
| 10WØv3-4 | 0.65 ft3 18.41 liters | 18 in. x 11 in. x 9 in. 457 mm x 279 mm x 229 mm | 42.4 | 53.23 | 1.002 |

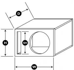
| SUBWOOFER | RECOMMENDED PORTED ENCLOSURE | ||||
| Volume (net int.) | Enclosure External Dimensions (Width x Height x Depth) | Slot Port Internal Dimensions (Slot Width x Slot Height x Slot Length) | Tune to: (Hz) | F3 (Hz) | |
| 10WØv3-4 | 1.125 ft3 31.86 liters | 23 in. x 12 in. x 13.625 in. 584 mm x 305 mm x 346 mm | 1.25 in. x 10.5 in. x 32 in. 31.75 mm x 267 mm x 813 mm | 30 | 29.6 |
- The enclosure recommendations listed are external dimensions which assume the use of 3/4″ (19mm) thick material. If you are using 5/8″ (16mm) thick material, subtract 1/4″ (6.5mm) from each dimension. Do not use any material with a thickness of less than 5/8″ (16mm) as this may compromise the rigidity of the enclosure
- All enclosure volumes listed are net internal volumes! Box volume displacement, port displacement and brace displacement must be added to obtain the final gross internal volume. All enclosure dimensions listed have already taken this into account.
- When using two subwoofers in a common enclosure simply double the required volume and, in the case of a ported enclosure, use two times the recommended port(s).
- We recommend the use of this speaker in a bi-amplified system using high-quality satellite speakers and amplifiers. We do not recommend the use of this subwoofer with a passive crossover (coil), as this type of device will adversely affect performance.


“EL” (Port Extension Length): 10WØv3: 18.25 in. (464 mm)
CAUTION
Prolonged exposure to sound pressure levels in excess of 100dB can cause permanent hearing loss. This high-performance speaker can exceed this level. Please exercise restraint in its operation in order to preserve your ability to enjoy its fidelity When installing a subwoofer in your vehicle, it is extremely important to secure the enclosure firmly. We recommend bolting the enclosure through the metal of the floorpan or the frame of the vehicle with large diameter washers for reinforcement. If an enclosure is not firmly attached, it can become a projectile in a collision. This is particularly important in a hatchback, station wagon, sports utility vehicle, or van.
RECOMMENDED CONTINUOUS (RMS) POWER RANGE FOR ONE SUBWOOFER DRIVER:

MEDIUM GRAY (MINIMUM):
From a reliability standpoint, this zone represents a very comfortable operating power range for each driver. This level of power will not stress the woofer but will not extract all of its performance potential, either. Use of less than the minimum power level will not damage the woofer, but may result in unsatisfactory performance.
LIGHT GRAY (OPTIMUM):
This zone represents the best compromise between long-term reliability, high-output and low-distortion performance. This power level is lower than the woofer’s continuous power rating (as published in its specifications), but you will still be taking advantage of the woofer’s, low-distortion performance range without undue risk of failure.
DARK GRAY (MAXIMUM):
Slightly more SPL will be gained by pushing the power into this zone, but typically not more than 2dB, compared to the light gray zone. The subwoofer driver is designed to operate safely up to this power range, but not beyond. Operate with caution.
BLACK (WARRANTY VOID):
We do not recommend operating woofers at this level of power. In this zone, there is a very high probability that the driver will fail due to excessive heat and/or mechanical stress.
Subwoofer drivers operated at these levels of power are NOT covered under warranty
JL Audio offers an extensive line of high-performance subwoofer drivers to fit a wide variety of enclosure and power applications. When designing systems with our drivers, it is very important to achieve a good power match between the subwoofer amplifier and the subwoofer driver’s capabilities. The power levels listed in the above chart represent continuous (RMS) amplifier power per woofer and assume that the user will regularly make full use of that power without drastically overdriving the amplifier(s). Make sure you factor system impedance and the total number of subwoofers into your calculations. Adhering to these power recommendations will result in systems that are both reliable and enjoyable.
JL AUDIO LIMITED WARRANTY (USA)
Automotive Subwoofer Components
JL AUDIO warrants this speaker to be free of defects in materials and workmanship for a period of one (1) year from the original date of purchase. Damage caused by the following is not covered under warranty: accident, misuse, abuse, product modification or neglect, failure to follow installation instructions, unauthorized repair attempts, misrepresentations by the seller. This warranty does not cover incidental or consequential damages and does not cover the cost of removing or reinstalling the unit(s). Cosmetic damage due to accident or normal wear and tear is not covered under warranty
This warranty is not transferable and applies only to the original purchaser of the product from an authorized JL AUDIO dealer. Warranty is voided if the factory-applied product serial number is removed or defaced.
Should service be necessary under this warranty for any reason due to manufacturing defect or malfunction, JL AUDIO will, at its discretion, repair or replace the defective product with new or remanufactured product at no charge.
warranty as provided herein beginning with the date of the original purchase at retail, and no warranties, whether express or implied, shall apply to this product thereafter. Some states do not allow limitations on implied warranties, therefore these exclusions may not apply to you. This warranty gives you specific legal rights, and you may also have other rights which vary from state to state.
If you need service on your JL AUDIO product:
All warranty returns should be sent to JL AUDIO freight prepaid through an authorized JL AUDIO dealer and must be accompanied by proof of purchase (a copy of the original sales receipt.) Direct returns from consumers or nonauthorized dealers will be refused unless specifically authorized by JL AUDIO with a valid return authorization number. Warranty expiration on products returned without proof of purchase will be determined from the manufacturing date code. Coverage may be invalidated as this date is previous to purchase date. Return only defective components. Non-defective items received will be returned freight-collect. Customer is responsible for shipping charges and insurance in sending the product to JL AUDIO. Freight damage on returns is not covered under warranty. Always include proof of purchase (sales receipt).
For Service Information in the U.S.A. please call:
JL Audio customer service: (954) 443-1100 during normal business hours (Eastern Time)
JL Audio, Inc
10369 North Commerce Parkway, Miramar, FL 33025
International Warranties:
Products purchased outside the United States of America are covered only by that country’s distributor and not by JL Audio, Inc.



















