DREAMLED SCL-200 Clip-On Xl Screen Light

PACKAGE CONTENTS
The Clip-on XL Screen Light SCL-200 packaging includes:
- Clip-on Screen Light SCL-200
- Micro USB cable
- Manual
FEATURES
- LED QTY: 60 pcs
- Working voltage / current: DC 5 V / 1 A
- Power: max. 4.5W
- Color temperature: 2700 – 6500 K (depending on mode)
- Lumen: up to 200 Lm
- Color: Black
- Dimensions: 40 x 9.3 x 2.3 cm
- Weight: 160 g
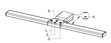
PARTS & BUTTONS See illustration
- Color mode selection button
- ON/OFF button
- Timer button
- Micro USB power input port
- Optical light sensor
INSTALLATION
• Open the holder of the Clip-on Screen Light and place the light on your screen.
• Loosen the holder so that it is fixed on your screen.
• Connect the micro USB cable to the power input port (4), and the other end of the cable to any device with a 5V USB output, like a laptop, a powerbank, a home charger… OPERATION BY TOUCH
- Turning the light ON/OFF
- Short touch the ON/OFF button (2) to turn the light ON or OFF.
Adjusting the brightness - Long touch the ON/OFF button (2) to change the brigntness of the light.
- Selecting the color mode
Short touch the Color mode selection button (1) various times to change the color mode: natural white – cold white – warm white. Automatic brightness adjustment Short touch the Timer button (3) to activate the optical light sensor (5) so that the brightness will be adjusted automatically. The red indicator is turned ON. To deactivate the optical light sensor (5), short touch the Timer button (3) again. The red indicator will turn OFF.
Automatic OFF timer
Long touch the Timer button (3) to activate the Timer function. The light will flash 2 times when activated. The light will now turn OFF automatically after 40 minutes. Note: When turned back ON, the lamp will go back to the last saved setting before being turned OFF.
SAFETY INSTRUCTIONS
- Never open the Clip-on Screen Light.
- Never touch the plug contacts with sharp or metal objects.
- Make sure that cables cannot cause a trip hazard.
- Use only the original accessories.
- Never place the device in the vicinity of heat sources.
- Never place the unit on surfaces that are heat sensitive.
- Protect the device from special liquids, vapors and high humidity environments.
- Unplug the unit before cleaning. Do not use any solvent-based cleaning agents, only a soft, dry anti-static cloth.
- Do not attempt repairs yourself.
- If the unit is not properly installed or operated DreamLED® cannot accept liability.
SUPPORT
For more information, technical questions and return requests concerning this product, you should contact: [email protected]
GUARANTEE
Copyright © DreamLED®. DreamLED® is a registered trademark of TE-Group NV. The Dream- LED® brand stands for superior product quality and outstanding customer service. That is why DreamLED® warrants this product against all defects in material and workmanship for a period of two (2) years from the date of original purchase of the product. The terms of this guarantee
and the extent of responsibility of DreamLED under this warranty can be downloaded from the website: www.dream-led.eu.
ILLUSTRATION 
DECLARATION OF CONFORMIT
| Company: / Entreprise: | TE-GROUP nv |
| Address: / Adresse: | Kapelsestraat 61, 2950 Kapellen – BELGIUM |
| Product Name: / Nom du produit: | DreamLED SCL-200 |
| Product Type: / Type de produit: | Clip-on XL Screen Light |
Conforms with the following safety requirements of the directive 2014/30/EU, 2014/35/EU, 2011/65/ EU, EC 1907/2006 & 2015/863/EU. Conformity is guaranteed by the CE-symbol. This product has been tested against the following standards and specifications. The full text of the EU declaration of conformity is available at the following internet address: http://www.dream-led.be/doc_scl-200/




















