DEHUMIDIFIER
Owner’s Manual & Installation Manual
IMPORTANT NOTE:
Read this manual carefully before installing or operating your new machine
Make sure to save this manual for future reference.
Safety Safety Precautions
Read Safety Precautions Before Operation and Installation
To prevent death or injury to the user or other people and property damage, the following instructions must be followed. Incorrect operation due to ignoring of instructions may cause death, harm or damage.
WARNING
This symbol indicates the possibility of personnel injury or loss of life.
CAUTION
This symbol indicates the possibility of property damage or serious consequences.
WARNING
- Do not exceed the rating of the power outlet or connected device.
- Do not operate or stop the unit by switching on or off the power.
- Do not damage or use an unspecified power cord.
- Do not modify power cord length or share the outlet with other appliances.
- Do not insert or pull out the plug with wet hands.
- Do not install the appliance in a location that may be exposed to a combustible gas.
- Do not place the unit near a heat source.
- Disconnect the power if strange sounds, smell, or smoke comes from it. You should never try to take apart or repair the unit by yourself. Before cleaning, turn off the power and unplug the unit.
- Do not use the machine near flammable gas or combustibles, such as gasoline, benzene, thinner, etc.
- Do not drink or use the water drained from the unit.
- Do not take the water bucket out during operation.
- Do not use the unit in small spaces.
- Do not put in places where water may splash onto the unit. Place the unit on a level, sturdy section of the floor.
- Do not cover the intake or exhaust openings with cloths or towels.
- Care should be taken when using the unit in a room with the following persons: infants, children, elderly people,and people not sensitive to humidity.
- Do not use in areas where chemicals are handled.
- Never insert your finger or other foreign objects into grills or openings. Take special care to warn children of these dangers.
- ]Do not place heavy objects on the power cord and take care so that the cord is not compressed.
- Do not climb up on or sit on the unit.
- Always insert the filters securely. Clean filter once every two weeks.
- If water enters the unit, turn the unit off and disconnect the power, contact a qualified service technician.
- Do not place flower vases or another water container on top of the unit.
- Do not use extension cords.
CAUTION
- This appliance can be used by children aged 8 years and above and persons with reduced physical, sensory or mental capabilities or lack of experience and knowledge if they have been given supervision or instruction concerning the use of the appliance in a safe way and understand the hazards involved. Children shall not play with the appliance. Cleaning and user maintenance shall not be made by children without supervision. (be applicable for the European Countries)
- This appliance is not intended for use by persons (including children) with reduced physical, sensory or mental capabilities or lack of experience and knowledge unless they have been given supervision or instruction concerning use of the appliance by a person responsible for their safety. Children should be supervised to ensure that they do not play with the appliance. (be applicable for other countries except for the European Countries )
- If the supply cord is damaged, it must be replaced by the manufacturer,its service agent or similarly qualified persons in order to avoid a hazard.
- Prior to cleaning or other maintenance, the appliance must be disconnected from the supply mains.
- Do not install the appliance in a location that may be exposed to a combustible gas. If combustible gas accumulates around the unit, it may cause fire.
- If the appliance is knocked over during use, turn off the unit and unplug it from the main power supply immediately. Visually inspect the unit to ensure there is no damage. If you suspect the unit has been damaged, contact a technician or customer service for assistance.
- In a thunderstorm, the power must be cut off to avoid damage to the machine due to lightning.
- Do not run cord under carpeting. Do not cover cord with throw rugs, runners, or similar coverings. Do not route cord under furniture or appliances. Arrange cord away from traffic area and where it will not be tripped over.
- Do not operate unit with a damaged cord or plug. Discard unit or return to an authorized service facility for examination and/or repair.
- To reduce the risk of fire or electric shock, do not use this fan with any solid-state speed control device.
- The appliance shall be installed in accordance with national wiring regulations.
- Contact the authorised service technician for repair or maintenance of this unit.
- Turn off the product when not in use.
- The manufactures nameplate is located on the rear panel of the unit and contains electrical and other technical data specific to this unit.
- Be sure the unit is properly grounded. To minimize shock and fire hazards, proper grounding is important. The power cord is equipped with a three-prong grounding plug for protection against shock hazards.
- Your unit must be used in a properly grounded wall receptacle. If the wall receptacle you intend to use is not adequately grounded or protected by a time delay fuse or circuit breaker(please refer to the nameplate for the electrical data), have a qualified electrician install the proper receptacle.
- Do not operate your air conditioner in a wet room such as a bathroom or laundry room. The unit s circuit board(PCB) is designed with a fuse to provide overcurrent protection.
- The specifications of the fuse are printed on the circuit board, such as: T3.15A/250V (or 350V), etc.
UV-C lamp(Applicable to the unit contains an UV-C lamp only)
This appliance contains a UV-C lamp. Read the maintenance instructions before opening the appliance.
- Do not operate UV-C lamps outside of the appliance.
- Appliances that are obviously damaged must not be operated.
- Unintended use of the appliance or damage to the housing may result in the escape of dangerous UV-C
radiation. UV-C radiation may, even in small doses, cause harm to the eyes and skin. - Before opening doors and access panels bearing the ULTRAVIOLET RADIATION hazard symbol for the conducting USER MAINTENANCE, it is recommended to disconnect the power.
- The UV-C lamp can not be cleaned, repaired and replaced.
- UV-C BARRIERS bearing the ULTRAVIOLET RADIATION hazard symbol should not be removed.
WARNING This appliance contains an UV emitter. Do not stare at the light source.
Note about Fluorinated Gasses(Not applicable to the unit using R290 Refrigerant)
- Fluorinated greenhouse gases are contained in hermetically sealed equipment. For specific information on the type, the amount and the CO2 equivalent in tonnes of the fluorinated greenhouse gas(on some models), please refer to the relevant label on the unit itself.
- Installation, service, maintenance and repair of this unit must be performed by a certified technician.
- Product uninstallation and recycling must be performed by a certified technician.
Sociable Remark
When using this dehumidifier in the European countries, the following information must be followed:
DISPOSAL: Do not dispose of this product as unsorted municipal waste. Collection of such waste separately for special treatment is necessary.
It is prohibited to dispose of this appliance in domestic household waste.
For disposal, there are several possibilities:
- The municipality has established collection systems, where electronic waste can be disposed of at least free of charge to the user.
- When buying a new product, the retailer will take back the old product at least free of charge.
- The manufacturer will take back the old appliance for disposal at least free of charge to the user.
- As old products contain valuable resources, they can be sold to scrap metal dealers. Wild disposal of waste in forests and landscapes endangers your health when hazardous substances leak into the ground-water and find their way into the food chain.
WARNING for Using R32/R290 Refrigerant
- Do not use means to accelerate the defrosting process or to clean, other than those recommended by the manufacturer.
- The appliance shall be stored in a room without continuously operating ignition sources (for example open flames, an operating gas appliance or an operating electric heater).
- Do not pierce or burn.
- Be aware that the refrigerants may not contain an odor.
- The appliance should be installed, operated and stored in a room with a floor area according to the amount of refrigerant to be charged. For specific information on the type of gas and the amount, please refer to the relevant label on the unit itself.
- The appliance should be installed, operated and stored in a room with a floor area larger than 4 m .
- Compliance with national gas regulations shall be observed.
- Keep ventilation openings clear of obstruction.
- The appliance shall be stored so as to prevent mechanical damage from occurring.
- A warning that the appliance shall be stored in a well-ventilated area where the room size corresponds to the room area as specified for operation.
- Any person who is involved with working on or breaking into a refrigerant circuit should hold a currently valid certificate from an industry-accredited assessment authority, which authorizes their competence to handle refrigerants safely in accordance with industry recognized assessment specifications.
- Servicing shall only be performed as recommended by the equipment manufacturer. Maintenance and repair requiring the assistance of other skilled personnel shall be carried out under the supervision of the person competent in the use of flammable refrigerants.
- The appliance shall be stored in a room without continuously operating open flames (for example an operating gas appliance) and ignition sources (for example an operating electric heater).

Caution: Risk of fire/ flammable materials
Explanation of symbols displayed on the unit(For the unit adopts R32/R290 Refrigerant only):
![]() | WARNING | This symbol shows that this appliance used a flammable refrigerant. If the refrigerant is leaked and exposed to an external ignition source, there is a risk of fire. |
| CAUTION | This symbol shows that the operation manual should be read carefully. | |
![]() | CAUTION | This symbol shows that service personnel should be handling this equipment with reference to the installation manual. |
| CAUTION | This symbol shows that information is available such as the operating manual or installation manual. |
- Transport of equipment containing flammable refrigerants See transport regulations
- Marking of equipment using signs See local regulations
- Disposal of equipment using flammable refrigerants See national regulations.
- Storage of equipment/appliances
The storage of equipment should be in accordance with the manufacturer’s instructions. - Storage of packed (unsold) equipment
Storage package protection should be constructed such that mechanical damage to the equipment inside the package will not cause a leak of the refrigerant charge. The maximum number of pieces of equipment permitted to be stored together will be determined by local regulations. - Information on servicing
1)Checks to the area
Prior to beginning work on systems containing flammable refrigerants, safety checks are necessary to ensure that the risk of ignition is minimized. For repair to the refrigerating system, the following precautions shall be complied with prior to conducting work on the system.
2)Work procedure
Work shall be undertaken under a controlled procedure so as to minimize the risk of flammable gas or vapor being present while the work is being performed.
3)General work area
All maintenance staff and others working in the local area shall be instructed on the nature of the work being carried out. Work in confined spaces shall be avoided. The area around the workspace shall be sectioned off. Ensure that the conditions within the area have been made safe by control of flammable material.
4)Checking for presence of refrigerant
The area shall be checked with an appropriate refrigerant detector prior to and during work, to ensure the technician is aware of potentially flammable atmospheres. Ensure that the leak detection equipment being used is suitable for use with flammable refrigerants, i.e. non-sparking, adequately sealed or intrinsically safe.
5)Presence of fire extinguisher
If any hot work is to be conducted on the refrigeration equipment or any associated parts, appropriate fire extinguishing equipment shall be available to hand. Have a dry powder or CO2 fire extinguisher adjacent to the charging area.
6)No ignition sources
No person carrying out work in relation to a refrigeration system that involves exposing any pipework that contains or has contained flammable refrigerant shall use any sources of ignition in such a manner that it may lead to the risk of fire or explosion. All possible ignition sources, including cigarette smoking, should be kept sufficiently far away from the site of installation, repairing, removing and disposal, during which flammable refrigerant can possibly be released to the urrounding space. Prior to work taking place, the area around the equipment is to be surveyed to make sure that there are no
flammable hazards or ignition risks. No Smoking signs shall be displayed.
7)Ventilated area
Ensure that the area is in the open or that it is adequately ventilated before breaking into the system or conducting any hot work. A degree of ventilation shall continue during the period that the work is carried out. The ventilation should safely disperse any released refrigerant and preferably expel it externally into the atmosphere.
8)Checks to the refrigeration equipment
Where electrical components are being changed, they shall be fit for the purpose and to the correct specification. At all times the manufacturer’s maintenance and service guidelines shall be followed. If in doubt consult the manufacturer’s technical department for assistance. The following checks shall be applied to installations using flammable refrigerants:
The charge size is in accordance with the room size within which the refrigerant containing parts are installed;
The ventilation machinery and outlets are operating adequately and are not obstructed;
If an indirect refrigerating circuit is being used, the secondary circuit shall be checked for the presence of refrigerant; Marking to the equipment continues to be visible and legible. Markings and signs that are illegible shall be corrected;
Refrigeration pipe or components are installed in a position where they are unlikely to be exposed to any substance which may corrode refrigerant containing components, unless the components are constructed of materials which are inherently resistant to being corroded or are suitably protected against being so corroded.
9)Checks to electrical devices
Repair and maintenance to electrical components shall include initial safety checks and component inspection procedures. If a fault exists that could compromise the safety, then no electrical supply shall be connected to the circuit until it is satisfactorily dealt with. If the fault cannot be corrected immediately but it is necessary to continue operation, an adequate temporary solution shall be used. This shall be reported to the owner of the equipment so all parties are advised.
Initial safety checks shall include:
That capacitor are discharged: this shall be done in a safe manner to avoid the possibility of sparking;
That there no live electrical components and wiring are exposed while charging, recovering, or purging the system; That there is continuity of earth bonding. - Repairs to sealed components
1)During repairs to sealed components, all electrical supplies shall be disconnected from the equipment being worked upon prior to any removal of sealed covers, etc. If it is absolutely necessary to have an electrical supply to equipment during servicing, then a permanently operating form of leak detection shall be located at the most critical point to warn of a potentially hazardous situation.
2)Particular attention shall be paid to the following to ensure that by working on electrical components, the casing is not altered in such a way that the level of protection is affected. This shall include damage to cables, an excessive number of connections, terminals not made to original specification, damage to seals, incorrect fitting of glands, etc. Ensure that apparatus is mounted securely. Ensure that seals or sealing materials have not degraded such that they no longer serve the purpose of preventing the ingress of flammable atmospheres. Replacement parts shall be in accordance with the manufacturer’s specifications.
NOTE: The use of silicon sealant may inhibit the effectiveness of some types of leak detection equipment. Intrinsically safe components do not have to be isolated prior to working on them. - Repair to intrinsically safe components
Do not apply any permanent inductive or capacitance loads to the circuit without ensuring that this will not exceed the permissible voltage and currently permitted for the equipment in use. Intrinsically safe components are the only types that can be worked on while live in the presence of a flammable atmosphere. The test apparatus shall be at the correct rating. Replace components only with parts specified by the manufacturer. Other parts may result in the ignition of refrigerant in the atmosphere from a leak. Cabling
Check that cabling will not be subject to wear, corrosion, excessive pressure, vibration, sharp edges or any other adverse environmental effects. The check shall also take into account the effects of aging or continual vibration from sources such as compressors or fans.Detection of flammable refrigerants
Under no circumstances shall potential sources of ignition be used in the searching for or detection of refrigerant leaks. A halide torch (or any other detector using a naked flame) shall not be used.Leak detection methods
The following leak detection methods are deemed acceptable for systems containing flammable refrigerants. Electronic leak detectors shall be used to detect flammable refrigerants, but the sensitivity may not be adequate, or may need re-calibration. (Detection equipment shall be calibrated in a refrigerant-free area.) Ensure that the detector is not a potential source of ignition and is suitable for the refrigerant used. Leak detection equipment shall be set at a percentage of the LFL of the refrigerant and shall be calibrated to the refrigerant employed and the appropriate percentage of gas (25 % maximum) is confirmed. Leak detection fluids are suitable for use with most refrigerants but the use of detergents containing chlorine shall be avoided as the chlorine may react with the refrigerant and corrode the copper pipe-work. If a leak is suspected, all naked flames shall be removed/ extinguished.
If leakage of refrigerant is found which requires brazing, all of the refrigerants shall be recovered from the system, or isolated (by means of shut off valves) in a part of the system remote from the leak.
Oxygen-free nitrogen (OFN) shall then be purged through the system both before and during the brazing process.Removal and evacuation
When breaking into the refrigerant circuit to make repairs or for any other purpose conventional procedures shall be used. However, it is important that best practice is followed since flammability is a consideration. The following procedure shall be adhered to: Remove refrigerant; Purge the circuit with inert gas; Evacuate; Purge again with inert gas; Open the
circuit by cutting or brazing.
The refrigerant charge shall be recovered into the correct recovery cylinders. The system shall be flushed with OFN to render the unit safe. This process may need to be repeated several times. Compressed air or oxygen shall not be used for this task. Flushing shall be achieved by breaking the vacuum in the system with OFN and continuing to fill until the working pressure is achieved, then venting to the atmosphere, and finally pulling down to a vacuum. This process shall be repeated until no refrigerant is within the system.
When the final OFN charge is used, the system shall be vented down to atmospheric pressure to enable work to take place. This operation is absolutely vital if brazing operations on the pipe-work are to take place. Ensure that the outlet for the vacuum pump is not close to any ignition sources and there is ventilation available.- Charging procedures
In addition to conventional charging procedures, the following requirements shall be followed. Ensure that contamination of different refrigerants does not occur when using charging equipment. Hoses or lines shall be as short as possible to minimize the amount of refrigerant contained in them.
Cylinders shall be kept upright.
Ensure that the refrigeration system is earthed prior to charging the system with refrigerant.
Label the system when charging is complete (if not already).
Extreme care shall be taken not to overfill the refrigeration system. Prior to recharging the system, it shall be pressure tested with OFN. The system shall be leak tested on completion of charging but prior to commissioning. A follow-up leak test shall be carried out prior to leaving the site. - Decommissioning
Before carrying out this procedure, it is essential that the technician is completely familiar with the equipment and all its detail. It is recommended good practice that all refrigerants are recovered safely.
Prior to the task being carried out, an oil and refrigerant sample shall be taken in case analysis is required prior to re-use of reclaimed refrigerant. It is essential that electrical power is available before the task is commenced.
a) Become familiar with the equipment and its operation. b) Isolate system electrically. c) Before attempting the procedure ensure that: Mechanical handling equipment is available, if required, for handling refrigerant cylinders;All personal protective equipment is available and being used correctly; The recovery process is supervised at all times by a competent person; Recovery equipment and cylinders conform to the appropriate standards. d) Pump down the refrigerant system, if possible. e) If a vacuum is not possible, make a manifold so that refrigerant can be removed from various parts of the system. f) Make sure that the cylinder is situated on the scales before recovery takes place. g) Start the recovery machine and operate in accordance with the manufacturer’s instructions. h) Do not overfill cylinders. (No more than 80 % volume liquid charge). i) Do not exceed the maximum working pressure of the cylinder, even temporarily. j) When the cylinders have been filled correctly and the process completed, make sure that the cylinders and the equipment are removed from site promptly and all isolation valves on the equipment are closed off. k) Recovered refrigerant shall not be charged into another refrigeration system unless it has been cleaned and checked. - Labeling
Equipment shall be labeled stating that it has been de-commissioned and emptied of refrigerant. The label shall be dated and signed. Ensure that there are labels on the equipment stating the equipment contains flammable refrigerant. - Recovery
When removing refrigerants from a system, either for servicing or decommissioning, it is recommended good practice that all refrigerants are removed safely. When transferring refrigerant into cylinders, ensure that only appropriate refrigerant recovery cylinders are employed. Ensure that the correct number of cylinders for holding the total system charge is available. All cylinders to be used are designated for the recovered refrigerant and labeled for that refrigerant (i.e. special cylinders for the recovery of refrigerant). Cylinders shall be complete with a pressure relief valve and associated shut-off valves in good working order. Empty recovery cylinders are evacuated and, if possible, cooled before recovery occurs. The recovery equipment shall be in good working order with a set of instructions concerning the equipment that is at hand and shall be suitable for the recovery of flammable refrigerants.
In addition, a set of calibrated weighing scales shall be available and in good working order. Hoses shall be complete with leak-free disconnect couplings and in good condition. Before using the recovery machine, check that it is in satisfactory working order, has been properly maintained and that any associated electrical components are sealed to prevent ignition in the event of a refrigerant release.
Consult the manufacturer if in doubt. The recovered refrigerant shall be returned to the refrigerant supplier in the correct recovery cylinder, and the relevant Waste Transfer Note arranged. Do not mix refrigerants in recovery units and especially not in cylinders. If compressors or compressor oils are to be removed, ensure that they have been evacuated to an acceptable level to make certain that flammable refrigerant does not remain within the lubricant. The evacuation process shall be carried out prior to returning the compressor to the suppliers. Only electric heating to the compressor body shall be employed to accelerate this process. When oil is drained from a system, it shall be carried out safely.
Preparation
Identification of parts
NOTE:
All the illustrations in the manual are for explanation purposes only. Your machine may be slightly different.
The actual shape shall prevail. The unit can be controlled by the unit control panel alone or with the remote controller. This manual does not include Remote Controller Operations, see the <<Remote Controller Instruction>> packed with the unit for details.

Design Notice
In order to ensure the optimal performance of our products, the design specifications of the unit are subject to change without prior notice.
Positioning the unit

Casters(At four points on the bottom of unit)
- Casters can move freely.
- Do not force casters to move over the carpet, nor move the unit with water in the bucket.
(The unit may tip over and spill water.)
A dehumidifier operating in a basement will have little or no effect in drying an adjacent enclosed storage area, such as a closet unless there is adequate circulation of air in and out of the area.
- Do not use outdoors.
- This dehumidifier is intended for indoor residential applications only. This dehumidifer should not be used for commercial or industrial applications.
- Place the dehumidifier on a smooth, level floor strong enough to support the unit with a full bucket of water. Allow at least 20cm of air space on all sides of the unit for good air circulation (at least 40cm of air space on air outlet).
- Place the unit in an area where the temperature will not fall below 5 C(41 F). The coils can become covered with frost at temperatures below 5 C(41 F), which may reduce performance.
- Place the unit away from the clothes dryer, heater or radiator.
- Use the unit to prevent moisture damage anywhere books or valuables are stored.
- Use the dehumidifier in a basement to help prevent moisture damage.
- The dehumidifier must be operated in an enclosed area to be most effective.
- Close all doors, windows and other outside openings to the room.
When using the unit
- When first using the dehumidifier in Continuous dehumidifying mode, make sure the connection of the water hose and the drain hose outlet of the unit is tight and do not let the water leak.
- This unit is designed to operate with a working environment between 5 C/41 F and 32 C/90 F , and between 30%(RH) and 80%(RH).
- If the unit has been switched off and needs to be switched on again quickly, allow approximately three minutes for the correct operation to resume.
- Do not connect the dehumidifier to a multiple socket outlet, which is also being used for other electrical appliances.
- Select a suitable location, making sure you have easy access to an electrical outlet.
- Plug the unit into an electrical socket outlet with an earth connection.
- Make sure the Water bucket is correctly fitted otherwise the unit will not operate properly.
NOTE: When the water in the bucket reaches to a certain level, please be careful to move the machine to avoid it falling down.
Operating Instructions
Control Panel Features
Note: The following control panels are for explanation purposes only. The control panel of the unit you purchased may be slightly different according to the models. Your machine may not contain some indicators or buttons. The actual shape shall prevail.

| Indicator | Function | Indicator | Fan speed button | Indicator | Function |
| Timer button / light | Function | Quick glance light button | |||
| Mode button | Fresh button | Water full light | |||
| Power button | UP and Down button | UV light | |||
| Lock light | Wireless light | Fresh light |
Power /
button
- Press to turn the dehumidifier on and off.
Mode/
button
- Press to select the desired operation mode from Setting dehumidifying, Dryer model, Smart dehumidifying, Continuous dehumidifying and Fan mode(on some models).
- In Setting dehumidifying mode, the set indicator light illuminates.
Note: In Continuous dehumidifying, Dryer and Smart dehumidifying modes, the humidity setting can‘t be adjusted.
In Fan mode the unit do not dehumidify.
Install the HEPA(High-Efficiency Particulate Air), the unit can not adjust mode and the HEPA light will illuminate.
Timer / button
- Press to initiate the Autostart or Auto-stop feature, in conjunction with the and buttons. When the unit is on, press the Timer button to activate the Auto-stop feature. When the unit is off, press this button to activate the Autostart feature.
- Press or hold the and button to change the Auto time by 0.5-hour increments, up to 10 hours, then at 1-hour increments up to 24 hours.
- The control will count down the time remaining until start.
- The selected time will register in 5 seconds and the system will automatically revert back to display the previous humidity setting.
- Turning the unit ON or OFF at any time or adjusting the timer setting to 0.0 will cancel the Autostart or Auto-stop feature.
- When the LED display window displays the code of P2, the Autostart or Auto-stop feature will also be canceled.
UP( )/DOWN( ) buttons
- Humidity Set Control buttons
The humidity level can be set within a range of 35% RH(Relative Humidity) to 85%RH(Relative Humidity) in 5% increments. For drier air , press the button and set to a lower percent value(%). For damper air, press the button and set a higher percent value(%). - TIMER Set Control buttons Use the Up/Down buttons to set the Autostart and Auto stop time from 0.0 to 24.
FAN speed/
button
- Control the fan speed.Press to select fan speed in three steps-low, med and high.The fan speed indicator light illuminates under different fan speed settings.
- Press and hold the Fan speed button for 3 seconds to eliminate filter reminders, when the filter light flickers(On some models).
Note: The unit operates for 250 hours, then enter filter clean reminder.
Wireless button(On some models)
- Press and hold on the POWER button for 3 seconds to initiate the Wireless connection mode. The LED DISPLAY shows’AP’ to indicate you can set Wireless connection.
- If the connection (router) is successful within 8 minutes, the unit will exit Wireless connection mode automatically and the Wireless indicator illuminates and the unit enters the previous function. If the connection is failure within 8 minutes, the unit exits the Wireless connection mode automatically.
NOTE: When the unit is connecting to the internet, the quick glance light will flash white light.
FRESH / button(On some models)
- Press FRESH buttons to initiate FRESH feature, and the fresh indicator light illuminates(The fresh indicator light and the UV indicator light illuminate at the same time on some models; Only the UV indicator light illuminate on some models ).The ion generator is energized and UV (UltraViolet) feature will help to purify the air inside.Press the FRESH buttons again to stop the FRESH feature, and the fresh indicator light turns dark.
LOCK feature(On some models)
- Press and hold on the Up and Down buttons for 3 seconds to initiate LOCK feature, and the Lock indicator light illuminates. All current settings are locked, and the control panel will not accept any operation except of the LOCK.
Press and hold these two buttons button again to cancel the LOCK feature.
Quick glance light /
button(On some models)
- Press
buttons to illuminate the quick glance light or turn quick glance light-dark. - When the humidity is more than 65%, the quick glance light will emit red light.
- When the humidity range is at 45% to 65%, the quick glance light will emit green light.
- When the humidity is lower than 45%, the quick glance light will emit yellow light.
NOTE: When bucket full or clean filter is on, the quick glance light will emit orange light and turn off 1sec every 4 sec.
Display(On some models)
- Shows the set % humidity level from 35% to 85% or auto start/stop time (0~24) while setting, then shows the actual(±5% accuracy) room % humidity level in a range of 30% RH(Relative Humidity) to 90%RH(Relative Humidity).
Error Codes:
EH60-Humidity sensor error–Unplug the unit and plug it back in. If error repeats, call for service;
EH61-Tube Temperature sensor of the evaporator error– Unplug the unit and plug it back in. If error repeats, call for service;
EH02-Zero-crossing signal detection error; If error repeats, call for service;
EH03-Indoor fan speed malfunction; If error repeats, call for service;
EH0b-Indoor PCB and display board communication error; If error repeats, call for service;
Protection Code:
P2-Bucket is full or bucket is not in right position–
Empty the bucket and replace it in the right position. On some models, the water full light illuminates.
Note: When one of the above malfunctions occurs, turn off the unit, and check for any obstructions. Restart the unit, if the malfunction is still present, turn off the unit and unplug the power cord. Contact the manufacturer or its service agents or a similarly qualified person for service.
Other features
Bucket Full Light
- Glows when the bucket is ready to be emptied, or when the bucket is removed or not replaced in the proper position.
Auto Defrost
- When frost builds up on the evaporator coils, the compressor will cycle off and the fan will continue to run until the frost disappears.
Auto Shut Off
- The dehumidifier shuts off when the bucket is full, or when the bucket is removed or not replaced in the proper position.
- For some models, the fan motor will continue to run for 30 seconds.
- Fresh Light
- For some models, The ion generator is energized and will help to purify the air inside.
UV Light
- For some models, The UV feature will help to purify the air inside.
- Wait 3 minutes before resuming operation
- After the unit has stopped, it can not be restarted operation in the first 3 minutes. This is to protect the unit. The operation will automatically start after 3 minutes.
Auto-Restart
- If the unit breaks off unexpectedly due to the power cut, it will restart with the previous function setting automatically when the power resumes
Continuous dehumidifying mode
- At continuous dehumidifying mode, the unit dehumidifies continuously and cannot select humidity. Press the mode button to exit continuous dehumidifying mode.
Smart dehumidifying mode
- At smart dehumidifying mode, the unit will automatically control room humidity in a comfortable range of 45%~55% according to the room temperature. The humidity setting function will be invalid.
Setting dehumidifying mode
- At setting dehumidifying mode, the unit can be adjusted in a range of 35%~85%, and the humidity setting can be adjusted(increase/decreasing) in 5%. Press the MODE button to exit setting dehumidifying mode.
Dryer mode(On some models)
The unit can make the MAX dehumidification function when it is under Dryer mode. The fan speed can’t be adjusted.
Note:
- The Dryer(model dependent) mode must be operated in a close room,do not open the door and window.
- To make the best effective dehumidification, please first dehydrate the wet clothes.
- Make sure to direct airflow at the wet clothes.
- Thick and heavy wet clothes may not get the best effective dehumidification.

FILTER/HEAP light
- The check filter feature is a reminder to clean the Air Filter for more efficient operation. The Filter light(HEPA light) will flicker after 250 hours of operation. To reset after cleaning the filter, press the Fan button for 3 seconds and the light will go off.
HEPA filter
- Install the HEPA(High-Efficiency Particulate Air), the unit will only operate under fan mode, and the HEPA light will illuminate.
- Make sure you have fitted the HEPA filter as indicated in fig1-4.

Removing the collected water
There are two ways to remove collected water.
1. Use the bucket
- When the bucket is full, the unit will automatically stop running, and the Full indicator light will flash.
- Slowly pull out the bucket. Grip the left and right handles securely, and carefully pull out straight so water does not spill. Do not put the bucket on the floor because the bottom of the bucket is uneven. Otherwise, the bucket will fall and cause the water to spill.
- Throw away the water from the water outlet and replace the bucket. The bucket must be in place and securely seated for the dehumidifier to operate. The machine will re-start when the bucket is restored to its correct position. Note:
- When you remove the bucket, do not touch any parts inside of the unit. Doing so may damage the product.
- Be sure to push the bucket gently all the way into the unit. Banging the bucket against anything or failing to push it in securely may cause the unit not to operate.
- When you remove the bucket, if there is some water in the unit you must dry it.
- Pull out the bucket a little.

- Hold both sides of the bucket with even strength, and pull it out from the unit.

- Pour the water out.(The bucket of the unit you purchased may be slightly different)

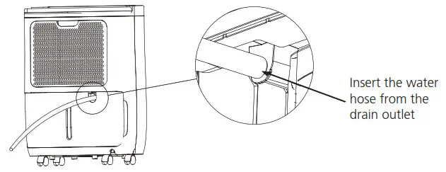
2. Continuous draining
Water can be automatically emptied into a floor drain by attaching the unit with a water hose(Φ16.5*13.5 mm)(not included).
- Remove the plastic knock-out panel from the upper side of the bucket.

- Insert the water hose into the unit from the drain outlet in the back of the unit.
- Attach the water hose to the drain hose outlet of the unit.
- Make sure the connection of the water hose and the drain hose outlet of the unit is tight and do not let the water leak.

- Then lead the water hose to the floor drain or a suitable drainage facility. The drainage facility should be lower than the drain outlet of the unit. Be sure to run the water hose sloping downward and let the water to flow out smoothly. Do not install the water hose.

- Make sure the water hose is lower than the drain hose outlet.
Note: - When the continuous drain feature is not being used, remove the drain hose from the outlet.
- Use needle-nose pliers if the plastic panel is too difficult to remove by hand.
- Burrs may hurt hands while connecting the drain hose.
Please use a reamer or a deburring tool to remove all burrs from the cut section of the panel
Care and Maintenance
Care and cleaning of the dehumidifier
Turn the dehumidifier off and remove the plug from the wall outlet before cleaning.
Clean the Grille and Case
- Use water and a mild detergent. Do not use bleach or abrasives.
- Do not splash water directly onto the main unit. Doing so may cause an electrical shock, cause the insulation to deteriorate, or cause the unit to rust.
- The air intake and outlet grilles get soiled easily, so use a vacuum attachment or brush to clean.
Clean the bucket
Every few weeks, clean the bucket to prevent the growth of mold, mildew and bacteria. Partially fill the bucket with clean water and add a little mild detergent. Swish it around in the bucket, empty and rinse.
NOTE: Do not use a dishwasher to clean the bucket. After clean, the bucket must be in place and securely seated for the dehumidifier to operate.
Clean the air filter
The air filter behind the front grille should be checked and cleaned at least every two weeks or more often if necessary.
NOTE: DO NOT RINSE OR PUT THE FILTER IN AN AUTOMATIC DISHWASHER.
To remove:
- Grip the tab on the filter and pull it outward, then pull it up.
- Clean the filter with warm, soapy water. Rinse and let the filter dry before replacing it. Do not clean the filter in a dishwasher.
To attach:
- Insert the air filter into the unit from the underside to the upside.
CAUTION
DO NOT operate the dehumidifier without a filter because dirt and lint will clog it and reduce performance.
Note: The cabinet and front may be dusted with an oil-free cloth or washed with a cloth dampened in a solution of warm water and mild liquid dishwashing detergent. Rinse thoroughly and wipe dry. Never use harsh cleansers, wax or polish on the cabinet front. Be sure to wring excess water from the cloth before wiping around the controls. Excess water in or around the controls may cause damage to the unit.
When not using the unit for long time periods
- After turning off the unit, wait one day before emptying the bucket.
- Clean the main unit, water bucket and air filter.
- Cover the unit with a plastic bag.
- Store the unit upright in a dry, well-ventilated place.
Troubleshooting Tips
Before calling for service, review the chart below first yourself.
| Problem | What to check |
| Unit does not start | · Make sure the dehumidifiers plug is pushed completely into the outlet. · Check the house fuse/circuit breaker box. · Dehumidifier has reached its preset level or bucket is full. · Water bucket is not in the proper position. |
| The dehumidifier does not dry the air as it should | · Do not allow enough time to remove the moisture. · Make sure there are no curtains, blinds or furniture blocking the front or back of the dehumidifier. · The humidity control may not be set low enough. · Check that all doors, windows, and other openings are securely closed. · Room temperature is too low, below 5 C(41 F). · There is a kerosene heater or something giving off water vapor in the room. |
| The unit makes a loud noise when operating | The air filter is clogged. The unit is tilted instead of the upright as it should be. The floor surface is not level. |
| Frost appears on the coils | This is normal. The dehumidifier has an auto defrost feature. |
| Water on floor | Hose to connector or hose connection may be loose. |
| EH60,EH61,EH02,EH03, EH0b,P2 appear in the display | These are error codes and protection codes. See the CONTROL PANEL FEATURES section. |
The design and specifications are subject to change without prior notice for product improvement. Consult with the sales agency or manufacturer for details.
Any updates to the manual will be uploaded to the service website, please check for the latest version.
CD001-DQ
16120100000936
20210611
























