TACTICAL 8596311164958 Flare MagForce USB Ladekabel

Installation
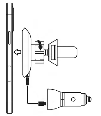
To install the bracket, press the jaw extension clip and slide the bracket into the ventilation grille as far as it will go. Ideally, so that the latch at the end of the arm is behind the very edge of the ventilation grille. Release the clip and make sure that the holder holds securely. Loosen the nut and adjust the position as needed. Then retighten the nut. Plug the power cord into the USB-C port and plug the other end into a 9V / SA car charger for maximum charging power (not included). To install using the glass suction cup, unscrew the nut and insert the ball pinTighten the suction cups and nut again.
Specifications
| Input for power supply | USB-CSV / 9A |
| Output power | 15W / 10W / 7.SW |
| Dimensions | 30x 68mm |
| Weight | 50g |
package contents:
- agnetic MagForce holder
- USB-C power cable
- holder to the ventilation grille
- suction cup for glass and dashboard
- metal self-adhesive adapter
Assembly
installation in the ventilation grille

installation on glass and dashboard
Assembly instructions

- A cover is required for a phone with a cover with magnet for Apple MagSafe.
- Alternatively, a self-adhesive coke ring can be used supplied with holder.

- Remove the protective film.
- Remove the protective film of self-adhesive tape.
- Stick it inside the cover and pay attention location of the charging coil inside the phone.
warning
Do not disassemble or damage the bracket. Do not expose the holder to temperatures outside the range of -10 – 60 ° C. Clean the holder only with a damp cloth and do not use solvents. Manufacturer: Sichuan Unitek Technology Co.,Ltd., 261 East Feiyun Blvd, Mianyang, Sichuan, China. Importer: Bakr s.r.o. Ti’ebohosticka 564/9, 10000, Praha Czech Republic Declaration of conformity – simplified form: The manufacturer Shenzen Hengyehui Technology Co., Ltd proves that the product complies with the declaration of conformity 2014/53/ EU You can also view it at: www. tactical products.eu/download/certificates/tactical_Flare_ MagForce




















