
Carewell Electric Technology 71T-6S Remote Controller

This remote controller is designed to separately control your ceiling fan speed and light brightness. There are seven buttons (1, 2, 3, 4, 5, 6,OFF) to control fan speed and off.
The light dimmer button will control the light brightness dimmer and off. The blue indicator on the transmitter will light when one of the Fifteen buttons is pressed.
SETTING THE CODES
Setting the codes on the transmitter:
- a. Remove the battery cover.
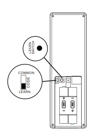
- b. Factory setting is all on the “ON” position.If you want to change the codes setting, please use a small screwdriver or a ballpoint pen to slide firmly to your choice of”ON”or”OFF”position.(Figure 1). The Learn Key must be pressed within 30 seconds, after pressing the Power button.
If not, please press the Power button to restart.
Keep pressing the “LEARN” key in excess of 3 seconds it becomes a LEARN status.The receiver can remember the status of the last code. Then the light on the Fan will flash two times.
OPERATING TRANSMITTER:
A. Install 3 volt battery(not included). (To prevent damage to transmitter, remove the battery if not used for a long time).
B. Store the transmitter away from excessive heat or humidity.
C. This remote control unit is equipped with rolling code combinations. In order to prevent possible interference from or to other remote units such as garage door openers, car alarm or security system. If you find that your fan and light kit go on and off without using your remote control, simply change the code combination in your transmitter and receiver.
D. Operating the buttons on the panel of the transmitter.
- 1-6 key -for fan speed control.
- REV key-for fan REV.
- OFF key-for fan off.
- Natural Wind key-for Auto fan speed control
- TIME key-for timing fan off
- LIGHT key-for down light brightness .
- The light function is controlled by pressing the LIGHT key down to increase or decrease light.
- Tap key quickly to turn light off or on.
- Keep pressing the button in excess of 0.7 second and it becomes a dimmer, the light varies cyclically in 0.8 second.
- The receiver can remember the last status of the light brightness when the light was switched, so that it can resume to adjust the light brightness.
YOUR REMOTE NOW HAS FULL CONTROL OF THE FAN AND LIGHT.
Optional Wall Mounting for Transmitter Holder Place in accessible area of your home, and screw the transmitter holder into wall using the two screws provided, slide hand unit into holder.
TROUBLE SHOOTING GUIDE
- Fails to operate
a. Power to receiver ?
b. Receiver wired correctly ?
c. Fan manual speed control in highest position ?
d. Light kit switch turned on ?
e. Good battery in the transmitter ?
f. Code set at exact same positions in both transmitter ? - Won t operate at distance
If transmitter operates fan/light kit when up close, but not at 20 feet away.
Try placing the brown antenna wire higher, up through ceiling/outside the junction box.
FCC Compliance Notice
This device complies with part 15 of the FCC Rules. Operation is subject to the following two conditions:
- This device may not cause harmful interference, and
- this device must accept any interference received, including interference that may cause undesired operation.
ISEDC RSS warning
This device complies with Innovation, Science and Economic Development Canada Compliance
licence‐exempt RSS standard (s). Operation is subject to the following two conditions: (1) this
device may not cause interference, and (2) this device must accept any interference, including interference that may cause undesired operation of the device.
ISEDC Radiation Exposure Statement:
This equipment complies with ISEDC RF radiation exposure limits set forth for an uncontrolled environment.
This transmitter must not be co‐located or operating in conjunction with any other antenna or transmitter.
Any changes or modifications not expressly approved by the party responsible for compliance could void the user’s authority to operate the equipment.



















