Thrustmaster 4060056 T3PA Add-On
TECHNICAL FEATURES
- lateral arches (left and right)
- 4 M8-type Allen screws
- plastic washers (to attach the lateral arches)
- 4 6 mm Allen key (to attach the lateral arches)

- Removable CONICAL RUBBER BRAKE MOD
- Fastening and adjustment nut (to attach the CONICAL RUBBER BRAKE MOD)

- Backup
- M3-type Allen screws

- Pedal set cable and connector
- Removable foot rest
- Lateral arches when installed
- Removable pedal heads
- Removable SPRING BRAKE MOD
- Included 2 mm Allen key
- Included 2.5 mm Allen key

- Metal head
- Plastic head support
- Metal pedal arm
- Removable metal stop
WARNING
- Before using this product, be sure to read these instructions carefully and save them for future reference.
- Keep the pedal set out of the reach of children.
- During gaming sessions, never place your fingers or thumbs on or near the sides of the pedals.
- During gaming sessions, never place your fingers or thumbs on or near the rear base of the pedals.
- During gaming sessions, never place your fingers or thumbs on or near the front base of the pedals.

AUTOMATIC CALIBRATION OF PEDALS
- Never connect or disconnect the pedal set from the base of the wheel when the wheel is connected to the console or PC, or during gaming sessions, to avoid calibration problems.
- Always connect the pedal set to the wheel before connecting the wheel to the console or PC.
- Once the wheel has self-calibrated and the game has started, the pedals automatically calibrate themselves after being pressed a few times.
- Never press on the pedals when the wheel is self-calibrating or when your game is starting up, to avoid calibration problems.
- If the pedals are not functioning correctly or appear to be improperly calibrated, power off your console, completely disconnect your wheel, then reconnect all of the cables (including the power supply cable and the pedal set cable), power the console back on and restart your game.
ATTACHING THE PEDAL SET TO A COCKPIT
- Attach the pedal set using the small screw threads located on the underside of the pedal set.
- Screw M6 screws (not included) into the cockpit’s pedal support plate and into the small screw threads located on the underside of the pedal set.
INSTALLING THE 2 LATERAL ARCHES (1)
- Positions of the pedal set’s 2 lateral screw threads (1 upper + 1 lower) in order to attach the 2 lateral arches (1):

- Place one of the plastic washers (3) on the screw thread located on the lower part of the pedal set.
- Next, place one of the arches (1) on the screw thread located on the upper part of the pedal set and on the plastic washer (3).

- Attach the arch (1) using 2 of the M8-type Allen screws (2) and the 6 mm Allen key (4) by turning the screws clockwise.

- Repeat this procedure on the other side of the pedal set to attach the second arch.
CONFIGURING THE PEDALS
Each of the 3 pedals features:
- A metal head (17) with several perforations (9 for the accelerator – 6 for the brake – 6 for the clutch)
- A plastic head support (21) (between the head and the arm) with 4 perforations
- A metal pedal arm (22) with 4 perforations

Adjusting the pedal HEIGHT
- Using the included 2.5 mm Allen key (20), loosen and remove the 2 screws holding the metal head (17) and its support (21) in place.
- Once this is done, select the height of your choice and then replace and re-tighten the screws.

Adjusting the pedal SPACING
- Using the included 2.5 mm Allen key (20), loosen and remove the 2 screws holding the metal head (17) and its support (21) in place.
- Once this is done, select the position of your choice (to the left, in the center or to the right) and then replace and re-tighten the screws

Adjusting the pedal TILT
- Using the included 2.5 mm Allen key (20), loosen and remove the 2 screws holding the metal head (17) and its support (21) in place.
- Once this is done, turn the plastic head support (21) 180°, and then replace and re-tighten the screws

Adjusting the range of TRAVEL and resistance FORCE of the brake pedal (with no BRAKE MOD installed)
- Install the metal stop (23) at the rear of the brake pedal arm.
- Select your choice of position (Long, Medium or Short range of travel), and then tighten the 4 M3- type Allen screws (8) using the included 2.5 mm Allen key (20).

Number of possible travel or resistance positions:
- Long travel with resistance of approximately 22 lbs / 10 kg
- Medium travel with resistance of approximately 18.7 lbs / 8.5 kg
- Short travel with resistance of approximately 15.4 lbs / 7 kg
Installing the SPRING BRAKE MOD (18)
- Install the SPRING BRAKE MOD (18) fully and tightly into the bottom of the cavity in the metal stop (23).
- For strong resistance: position the mod against the upper wall.
- For even stronger resistance: position the mod against the lower wall.

- Once this is done, attach the metal stop (23) behind the pedal’s arm with the 4 M3-type Allen screws (8), using the included 2.5 mm Allen key (20)..

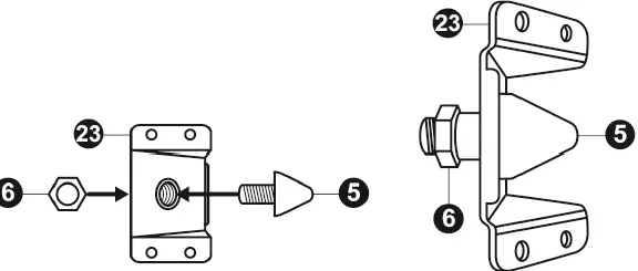
Installing the CONICAL RUBBER BRAKE MOD (5)
This mod provides you with an authentic feel when braking, and ultra-progressive resistance at the end of the pedal’s range of travel. Users must decide whether or not to install it according to their own preferences.
- Screw the CONICAL RUBBER BRAKE MOD (5) into the screw thread in the metal stop (23), then tighten the fastening and adjustment nut (6) on the back, onto the protruding screw of the CONICAL RUBBER BRAKE MOD.

- Next, attach the metal stop (23) behind the pedal’s arm using only 2 M3-type Allen screws (8) (i.e. not using 4 screws), in the position shown in the diagrams below
- = in the Very long range of travel position

Adjusting the range of TRAVEL and resistance FORCE of the brake pedal with the CONICAL RUBBER BRAKE MOD (5) installed
- Using a 14 mm open-end wrench (not included), slightly loosen the fastening and adjustment nut (6).
- Depending on your preference, move the CONICAL RUBBER BRAKE MOD (5) a bit closer to or farther away from the back of the brake pedal.
- Once you have selected the position, simply re-tighten the fastening and adjustment nut (6) using the 14 mm open-end wrench.

Depending on the position you have selected, the resistance of the CONICAL RUBBER BRAKE MOD will be between 44 lbs / 20 kg (when the mod is farther away from the pedal) and 66 lbs / 30 kg (when the mod is closer to the pedal).Please note: If the CONICAL RUBBER BRAKE MOD is too close to the back of the brake pedal’s arm, it may happen that the pedal’s values do not completely return to zero when you release the pedal very lightly.
If that is the case:
- In the options of the game you are playing, add a small dead zone at the start of the brake pedal’s range of travel; or
- Move the CONICAL RUBBER BRAKE MOD a bit farther away from the back of the brake pedal’s arm.
INVERTING THE PEDAL SET’S POSITION
By default, the pedal set comes in the floor-mounted position (F1-style).
PHYSICALLY INVERTING the pedal set
- Using the included 2 mm Allen key (19), unscrew the 4 screws holding the removable foot rest (15) in place.

- Turn the pedal set 180°, then replace and retighten the screws in the 4 screw threads located on the arch (16).

- Using the included 2.5 mm Allen key (20), unscrew the 3 metal heads (17) to turn them over 180°, and swap the positions of the accelerator head and the clutch head.

ELECTRONICALLY SWAPPING the accelerator and clutch pedals
When you physically invert the pedal set’s position, simply press the MODE button (located on the base of your wheel) to swap the accelerator and clutch pedals electronically (the LED color indicates the position you have selected).
WARRANTY
CONSUMER WARRANTY INFORMATION
Worldwide, Guillemot Corporation S.A., whose registered office is located at Place du Granier, B.P. 97143, 35571 Chantepie, France (hereinafter “Guillemot”) warrants to the consumer that this Thrustmaster product shall be free from defects in materials and workmanship, for a warranty period which corresponds to the time limit to bring an action for conformity with respect to this product. In the countries of the European Union, this corresponds to a period of two (2) years from delivery of the Thrustmaster product. In other countries, the warranty period corresponds to the time limit to bring an action for conformity with respect to the Thrustmaster product according to applicable laws of the country in which the consumer was domiciled on the date of purchase of the Thrustmaster product (if no such action exists in the corresponding country, then the warranty period shall be one (1) year from the original date of purchase of the Thrustmaster product). Notwithstanding the above, rechargeable batteries are covered by a warranty period of six (6) months from the date of original purchase. Should the product appear to be defective during the warranty period, immediately contact Technical Support, who will indicate the procedure to follow. If the defect is confirmed, the product must be returned to its place of purchase (or any other location indicated by Technical Support). Within the context of this warranty, the consumer’s defective product shall, at Technical Support’s option, be either replaced or returned to working order. If, during the warranty period, the Thrustmaster product is subject to such reconditioning, any period of at least seven (7) days during which the product is out of use shall be added to the remaining warranty period (this period runs from the date of the consumer’s request for intervention or from the date on which the product in question is made available for reconditioning, if the date on which the product is made available for reconditioning is subsequent to the date of the request for intervention). If permitted under applicable law, the full liability of Guillemot and its subsidiaries (including for consequential damages) is limited to the return to working order or the replacement of the Thrustmaster product. If permitted under applicable law, Guillemot disclaims all warranties of merchantability or fitness for a particular purpose. This warranty shall not apply: (1) if the product has been modified, opened, altered, or has suffered damage as a result of inappropriate or abusive use, negligence, an accident, normal wear, or any other cause unrelated to a material or manufacturing defect (including, but not limited to, combining the Thrustmaster product with any unsuitable element, including in particular power supplies, rechargeable batteries, chargers, or any other elements not supplied by Guillemot for this product); (2) if the product has been used for any use other than home use, including for professional or commercial purposes (game rooms, training, competitions, for example); (3) in the event of failure to comply with the instructions provided by Technical Support; (4) to software, said software being subject to a specific warranty; (5) to consumables (elements to be replaced over the product’s lifespan: disposable batteries, audio headset or headphone ear pads, for example); (6) to accessories (cables, cases, pouches, bags, wrist-straps, for example); (7) if the product was sold at public auction. This warranty is nontransferable. The consumer’s legal rights with respect to laws applicable to the sale of consumer goods in his or her country are not affected by this warranty.
Additional warranty provisions
During the warranty period, Guillemot shall not provide, in principle, any spare parts, as Technical Support is the only party authorized to open and/or recondition any Thrustmaster product (with the exception of any reconditioning procedures which Technical Support may request that the consumer carry out, by way of written instructions – for example, due to the simplicity and the lack of confidentiality of the reconditioning process – and by providing the consumer with the required spare part(s), where applicable). Given its innovation cycles and in order to protect its know-how and trade secrets, Guillemot shall not provide, in principle, any reconditioning notification or spare parts for any Thrustmaster product whose warranty period has expired. In the United States of America and in Canada, this warranty is limited to the product’s internal mechanism and external housing. In no event shall Guillemot or its affiliates be held liable to any third party for any consequential or incidental damages resulting from the breach of any express or implied warranties. Some States/Provinces do not allow limitation on how long an implied warranty lasts or exclusion or limitation of liability for consequential or incidental damages, so the above limitations or exclusions may not apply to you. This warranty gives you specific legal rights, and you may also have other rights which vary from State to State or Province to Province.
Liability
If permitted under applicable law, Guillemot Corporation S.A. (hereinafter “Guillemot”) and its subsidiaries disclaim all liability for any damages caused by one or more of the following: (1) the product has been modified, opened or altered; (2) failure to comply with assembly instructions; (3) inappropriate or abusive use, negligence, an accident (an impact, for example); (4) normal wear; (5) the use of the product for any use other than home use, including for professional or commercial purposes (game rooms, training, competitions, for example). If permitted under applicable law, Guillemot and its subsidiaries disclaim all liability for any damages unrelated to a material or manufacturing defect with respect to the product (including, but not limited to, any damages caused directly or indirectly by any software, or by combining the Thrustmaster product with any unsuitable element, including in particular power supplies, rechargeable batteries, chargers, or any other elements not supplied by Guillemot for this product).
FCC STATEMENT
This device complies with Part 15 of the FCC Rules. Operation is subject to the following two conditions:
- This device may not cause harmful interference, and
- This device must accept any interference received, including interference that may cause undesired operation.
- Changes or modifications not expressly approved by the party responsible for compliance could void the user’s authority to operate the equipment.
ENVIRONMENTAL PROTECTION RECOMMENDATION.
In the European Union: At the end of its working life, this product should not be disposed of with standard household waste, but rather dropped off at a collection point for the disposal of Waste Electrical and Electronic Equipment (WEEE) for recycling. This is confirmed by the symbol found on the product, user manual or packaging. Depending on their characteristics, the materials may be recycled. Through recycling and other forms of processing Waste Electrical and Electronic Equipment, you can make a significant contribution towards helping to protect the
FAQS
We would highly recommend picking up a set of these pedals if you are configuring a Thrustmaster setup. They are vastly better than the two pedal kit that comes with some wheels. Not only do these pedals include that illusive clutch pedal. But the brake mod is possibly the most impactful part of these pedals
The T150 (PS4/PC) and TMX (Xbox One/PC) are compatible with the TH8A – a 100% metal shifter –, and the T3PA – the popular Thrustmaster 3-pedal pedal set (both sold separately).
Compatible on PS4 and PS5 with T-GT, T300, T248 & T150 steering wheels.
Thrustmaster TMX Force Feedback Racing Wheel for Xbox One, Xbox Series X|S and PCs
Excellent brake mod. Provides a nice, firm pressure the entire travel of the pedal and is easy to install.
The T3PA pedals include a factory-supplied “conical brake mod” designed to feel like a load cell.
Here are all of the ways the Thrustmaster T150 and TMX are superior to the Logitech G29 and G920: Single-handedly, the biggest advantage of the Thrustmaster T150 and TMX is that they offer stronger, and more precise force feedback
T300 is just the base, no wheel or pedals. T300RS comes with a basic two-pedal set and a generic wheel.
Having both, I prefer and mostly use the T300. Yes, the T500 is stronger, but the T300 is much smoother. Ich would buy the T300 bundle with the alcantara Ferrari wheel and the t3pa pedals.
The T300RS is an officially-licensed PlayStation product, and is compatible with PS4 and PC.
Thrustmaster makes some of the leading sim racing wheels for PC and console. In many cases, the wheel can be used across a combination of PC, PS4, and Xbox One, but while consoles are usually a simple plug and play, there’s a little work to do to get going on the PC.
No, you cannot use this with the Xbox One S.
This brand-new racing wheel is officially licensed for Xbox Series X|S, Xbox One, and is compatible with PC.
Now, the question is, can you play GTA V on a PC steering wheel? Well, the answer is yes, you can. The Thrustmaster T300 RS GT Edition Racing Wheel is the best racing wheel for Pc and is compatible with all GTA V, Forza Motorsport 7, F1 2020, Truck Driver, GT Sport, Bus Simulator 18, Drift 4, etc.
What Steering Wheels work with GTA 5? Wheels such as the Logitech G29/G920 have been used successfully before in GTA 5. As for other steering wheel brands like Thrustmaster, several users online have reportedly been able to use Thrustmaster’s T80 wheel for GTA 5.








































