Power Dynamics 952.126 BD Series In/Outdoor IP65 Speaker 100V Instruction Manual

Congratulations to the purchase of this Power Dynamics product. Please read this manual thoroughly prior to using the unit in order to benefit fully from all features.
Read the manual prior to using the unit. Follow the instructions in order not to invalidate the warranty. Take all precautions to avoid fire and/or electrical shock. Repairs must only be carried out by a qualified technician in order to avoid electrical shock.
Keep the manual for future reference.
– Prior to using the unit, please ask advice from a specialist. When the unit is switched on for the first time, some smell may occur. This is normal and will disappear after a while.
– The unit contains voltage carrying parts. Therefore do NOT open the housing.
– Do not place metal objects or pour liquids into the unit
This may cause electrical shock and malfunction.
– Do not place the unit near heat sources such as radiators, etc. Do not place the unit on a vibrating surface. Do not cover the ventilation holes.
– The unit is not suitable for continuous use.
– Be careful with the mains lead and do not damage it. A faulty or damaged mains lead can cause electrical shock and malfunction.
– When unplugging the unit from a mains outlet, always pull the plug, never the lead.
– Do not plug or unplug the unit with wet hands.
– If the plug and/or the mains lead are damaged, they need to be replaced by a qualified technician.
– If the unit is damaged to such an extent that internal parts are visible, do NOT plug the unit into a mains outlet and DO NOT switch the unit on. Contact your dealer.
– All repairs should be carried out by a qualified technician only.
– Connect the unit to an earthed mains outlet (220- 240Vac/50Hz) protected by a 10-16A fuse.
– During a thunderstorm or if the unit will not be used for a longer period of time, unplug it from the mains. The rule is: Unplug it from the mains when not in use.
– If the unit has not been used for a longer period of time, condensation may occur. Let the unit reach room temperature before you switch it on.
– To prevent accidents in companies, you must follow the applicable guide lines and follow the instructions.
– Do not repeatedly switch the fixture on and off. This shortens the life time.
– Keep the unit out of the reach of children. Do not leave the unit unattended.
– Do not use cleaning sprays to clean switches. The residues of these sprays cause deposits of dust and grease. In case of malfunction, always seek advice from a specialist.
– Do not force the controls.
– This unit is with speaker inside which can cause magnetic field. Keep this unit at least 60cm away from computer or TV.
– If this product have a built-in lead-acid rechargeable battery. Please recharge the battery every 3 months if you are not going to use the product for a long period of time. Otherwise the battery may be permanently damaged.
– If the battery is damaged please replace with same specifications battery. And dispose the damaged battery environment friendly.
– If the unit has fallen, always have it checked by a qualified technician before you switch the unit on again.
– Do not use chemicals to clean the unit. They damage the varnish. Only clean the unit with a dry cloth.
– Keep away from electronic equipment that may cause interference.
– Only use original spares for repairs, otherwise serious damage and/or dangerous radiation may occur.
– Switch the unit off prior to unplugging it from the mains and/or other equipment. Unplug all leads and cables prior to moving the unit.
– Make sure that the mains lead cannot be damaged when people walk on it. Check the mains lead before every use for damages and faults!
– The mains voltage is 220-240Vac/50Hz. Check if power outlet match. If you travel, make sure that the mains voltage of the country is suitable for this unit.
– Keep the original packing material so that you can transport the unit in safe conditions.
This mark attracts the attention of the user to high voltages that are present inside the housing and that are of sufficient magnitude to cause a shock hazard.
This mark attracts the attention of the user to important instructions that are contained in the manual and that he should read and adhere to.
The unit has been certified CE. It is prohibited to make any changes to the unit. They would invalidate the CE certificate and their guarantee!
NOTE: To make sure that the unit will function normally, it must be used in rooms with a temperature between 5°C/41°F and 35°C/95°F.
Electric products must not be put into household waste. Please bring them to a recycling centre. Ask your local authorities or your dealer about the way to proceed. The specifications are typical. The actual values can slightly change from one unit to the other. Specifications can be changed without prior notice.
Do not attempt to make any repairs yourself. This would invalid your warranty. Do not make any changes to the unit. This would also invalid your warranty. The warranty is not applicable in case of accidents or damages caused by inappropriate use or disrespect of the warnings contained in this manual. Power Dynamics cannot be held responsible for personal injuries caused by a disrespect of the safety recommendations and warnings. This is also applicable to all damages in whatever form.
UNPACKING INSTRUCTION
CAUTION! Immediately upon receiving the product, carefully unpack the carton, check the contents to ensure that all parts are present, and have been received in good condition. Notify the shipper immediately and retain packing material for inspection if any parts appear damage from shipping or the package itself shows signs of mishandling. Save the package and all packing materials. In the event that the product must be returned to the factory, it is important that the product be returned in the original factory box and packing.
If the device has been exposed to drastic temperature fluctuation (e.g. after transportation), do not switch it on immediately. The arising condensation water might damage your device. Leave the device switched off until it has reached room temperature.
MOUNTING THE SPEAKER
See back of the manual for detailed illustrations.
Step 1: Unscrew both bolts that secure the bracket to the speaker.
Step 2: Attach the bracket to a suitable surface.
Step 3: Screw both undone bolts back in, securing the speaker to the bracket.
Step 4: Pull off the left side rear cover to expose the connector terminal. Connect the speaker to the output of the amplifier (Black = negative pole / Red = positive pole).
Make sure the audio system is turned off (and select N/C on rotary switch; Step 5) before making any connection.
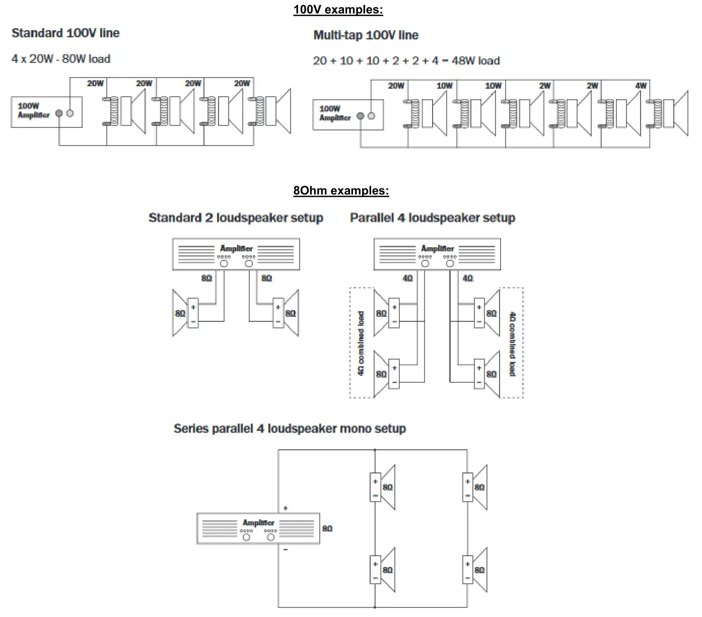
Step 5: Pull of the right side rear cover to expose the rotary selection switch. Adjust the rotary switch to 70V/100V or 8Ω position (for directly operating the speaker at a low-impedance amplifier output). When connecting several speakers, make sure that all speakers have the same polarity and that the amplifier is not overloaded.
Connection examples


TECHNICAL SPECIFICATION

The specifications are typical. The actual values can slightly change from one unit to the other. Specifications can be changed without prior notice.
The products referred to in this manual conform to the European Community Directives to which they are subject:
- Electromagnetic Compatibility (EMC) 2014/30/EU
- Restriction of Hazardous Substances (RoHS) 2011/65/EU
![]()
Specifications and design are subject to change without prior notice.
www.tronios.com
Copyright © 2021 by Tronios The Netherlands



















