elica EPT430S3 Comfort Series Potenza Chimney Hood Installation Guide
Important Safety Notice
CAUTION
FOR GENERAL VENTILATING USE ONLY. DO NOT USE TO EXHAUST HAZARDOUS OR EXPLOSIVE MATERIALS OR VAPOURS.
WARNING
TO REDUCE THE RISK OF FIRE, ELECTRIC SHOCK, OR INJURY TO PERSONS, OBSERVE THE FOLLOWING:
A. Use this unit only in the manner intended by the manufacturer. If you have questions, contact the manufacturer.
B. Before servicing or cleaning the unit, switch power off at service panel and lock service panel disconnecting means to prevent power from being switched on accidentally. When the service cannot be locked, securely fasten a prominent warning device, such as a tag, to the service panel.
C. Installation work and electrical wiring must be done by qualified person(s) in accordance with all applicable codes & standards, including fire-rated construction.
D. Sufficient air is needed for proper combustion and exhausting of gases through the flue (Chimney) of fuel burning equipment to prevent back- drafting. Follow the heating equipment manufacturers guideline and safety standards such as those published by the national fire protection association (NFPA), the american society for heating, refrigeration and air conditioning engineers (ASHRAE), and the local code authorities.
E. When cutting or drilling into wall or ceiling, do not damage electrical wiring and other hidden utilities.
F. Ducted fans must always be vented to the outdoor
CAUTION
To reduce risk of fire and to properly exhaust air, be sure to duct air outside – do not vent exhaust air into spaces within walls, ceilings, attics, crawl spaces, or garages.
WARNING
TO REDUCE THE RISK OF FIRE, USE ONLY METAL DUCT WORK.
Install this hood in accordance with all requirements specified.
WARNING
To reduce the risk of fire or electric shock, do not use this hood with any external solid state speed control device.
WARNING
TO REDUCE THE RISK OF A RANGE TOP GREASE FIRE.
a) Never leave surface units unattended at high settings. Boilovers cause smoking and greasy spillovers that may ignite. Heat oils slowly on low or medium settings.
b) Always turn hood ON when cooking at high heat or when flambeing food (I.e. Crepes Suzette, Cherries Jubilee, Peppercorn Beef Flambe’).
c) Clean ventilating fans frequently. Grease should not be allowed to accumulate on fan or filter.
d) Use proper pan size. Always use cookware appropriate for the size of the surface element.
e) Suitable for use in household cooking area.
WARNING
TO REDUCE THE RISK OF INJURY TO PERSONS, IN THE EVENT OF A RANGE TOP GREASE FIRE, OBSERVE THE FOLLOWING:a
a) SMOTHER FLAMES with a close-fitting lid, cookie sheet, or other metal tray, then turn off the gas burner or the electric element. BE CAREFUL TO PREVENT BURNS. If the flames do not go out immediately, EVACUATE AND CALL THE FIRE DEPARTMENT.
b) NEVER PICK UP A FLAMING PAN – you may be burned.
c) DO NOT USE WATER, including wet dishcloths or towels – a violent steam explosion will result.
d) Use an extinguisher ONLY if:
- You know you have a class ABC extinguisher, and you already know how to operate it.
- The fire is small and contained in the area where it started.
- The fire department is being called.
- You can fight the fire with your back to an exit.
a Based on “Kitchen Fire Safety Tips” published by NFPA
OPERATION
Always leave safety grills and filters in place. Without these components, operating blowers could catch onto hair, fingers and loose clothing. The manufacturer declines all responsibility in the event of failure to observe the instructions given here for installation, maintenance and suitable use of the product. The manufacturer further declines all responsibility for injury due to negligence and the warranty of the unit automatically expires due to improper maintenance.
CAUTION
Automatically Operated Device – To Reduce The Risk Of Injury Disconnect From Power Supply Before Servicing
Electrical & Installation Requirements
IMPORTANT
Observe all governing codes and ordinances. It is the customer’s responsibility:
- To contact a qualified electrical installer.
- To assure that the electrical installation is adequate and in conformance with National Electrical Code, ANSI/NFPA 70 — latest edition*, or CSA Standards C22.1-94, Canadian Electrical Code, Part 1 and C22.2 No.0-M91-latest edition** and all local codes and ordinances.
- If codes permit and a separate ground wire is used, it is recommended that a qualified electrician determine that the ground path is adequate.
- Do not ground to a gas pipe.
- Check with a qualified electrician if you are not sure range hood is properly grounded.
- Do not have a fuse in the neutral or ground circuit.
IMPORTANT
- Save Installation Instructions for electrical inspector’s use.
- The range hood must be connected with copper wire only.
- The range hood should be connected directly to the fused disconnect (Or circuit breaker) box through metal electrical conduit.
- Wire sizes must conform to the requirements of the National Electrical Code ANSI/NFPA 70 — latest edition*,or CSA Standards C22.1-94, Canadian Electrical Code Part 1 and C22.2 No. 0-M91 – latest edition** and all local codes and ordinances.
- A U.L.- or C.S.A.-listed conduit connector must be provide at each end of the power supply conduit (at the range hood and at the junction box). Copies of the standards listed may be obtained from:
* National Fire Protection Association Batterymarch Park Quincy, Massachusetts 02269
** CSA International 8501 East Pleasant Valley Road Cleveland, Ohio 44131 5575
Product Dimention

| EPT430S3 | EPT436S3 | |
| A | 30” (76.2 cm) | 36” (91.4 cm) |
| B | 1911⁄16” (50 cm) | |
| C* | Max: 365⁄8” (93 cm) Min: 24” (61 cm) | |
| D** | Max: 3213⁄16” (83.3 cm) Min: 203⁄8” (51.7 cm) | |
| E | 6” (15.24 cm) | |
| F | 103⁄4” (27.3 cm) | |
| G | 131⁄32” (33.2 cm) | |
List of Materials
Removing the packaging.
CAUTION Remove carton carefully, Wear gloves to protect against sharp edges.
WARNING
Remove the protective film covering the product before putting into operation.
![]() Duct covers | 2 |
![]() 6” round air transition | 1 |
| 2 | |
10×60 mm | 4 |
Duct cover bracket | 1 |
5 x 45 mm | 6 |
Partos not supplied
Tools/Materials required
- Level
- Drill
- 1¹⁄₄” (3.2 cm), ¹⁄₈” (3.2 mm), and ¹⁄₁₆” (4.8 mm) drill bits
- Pencil
- Wire stripper or utility knife
- Tape measure or ruler
- Pliers
- Caulking gun and weatherproof caulking compound
- Jigsaw or keyhole saw
- Metal snips
- Screwdrivers:
- Flat-blade
- Phillips
Parts needed
- Home power supply cable
- 1 – ½” (12.7 mm) UL listed or CSA approved strain relief
- 3 UL listed wire connectors
- 1 wall or roof cap
- Metal vent system
Optional accessories
| KIT | # Part | |
| 30” (76.2 cm) | 36” (91.4 cm) | |
| Recirculating Kit | KIT0168380 | |
| Long Chimney Extension | KIT0100315 | |
| Charcoal Filter Replacement | KIT0168383 | |
| Grease Filter Replacement | GRI00009219B | |
| Make Up Air Kit | KIT0148906 | |
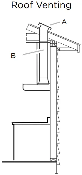
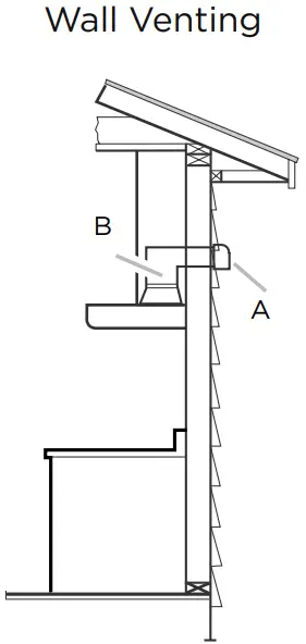
Ducting Options
Closely follow the instructions set out in this manual. All responsability, for any eventual inconveniences, damages or fires caused by not complying with the instructions in this manual, is declined.
Ducting version
The hood is equipped with a 6” (15.2 cm) round transition for discharge of fumes to the outside.


Preparation
Do not cut a joist or stud unless absolutely necessary. If a joist or stud must be cut, then a supporting frame must be constructed. Fittings material is provided to secure the hood to most types of walls/ceilings. However, a qualified technician must verify suitability of the materials in accordance with the type of wall/ceiling. Before making cutouts, make sure there is proper clearance within the ceiling or wall for exhaust vent.
Recommended installation height:
Hood installation height above cooktop is the users preference. The lower the hood is above the cooktop, the more efficient the capturing of cooking odors, grease and smoke.
Ductless (Recirculating)

In cases where it should not be possible to discharge cooking fumes and vapour to the outside. Attach a charcoal filter and the deflector on the duct cover support bracket. Fumes and vapours are recycled through the top grille by means of a duct connected to the transition and the transition mounted on the deflector. For this version only: purchase the Ductless Recirculating Kit. Minimum Duct Size: 6” Round Pipe.
CAUTION
For gas cooktop & range installations: Mount the hood so the bottom is at least 30” (76.2 cm) above the cooking surface. For electric/induction cooktop & range installations: Mount the hood so the bottom is at least 24” (61 cm) above the cooking surface. There is no maximum mounting height, however, we recommend mounting the hood no greater than 36” (91.4 cm) above the cooking surface. For every inch (2.54 cm) above 36” (91.4 cm), fume and moisture capture efficiency diminishes at an increasing rate and may not deliver an acceptable level of ventilating performance.
This hood is intended for household use.
PLEASE READ THE INSTALLATION MANUAL FOR SPECIFIC APPLICATION. Check your ceiling height and hood height before selecting your hood.
Installation
Prepare location
- It is recommended that the vent system be installed before hood is installed.
- Before making cutouts, make sure there is proper clearance within the ceiling or wall for exhaust vent.
- Check your ceiling height and the hood height maximum before you select your hood.
- Disconnect power.
- Determine which venting method to use: roof, wall, or nonvented.
- Select a flat surface for assembling the range hood. Place covering over that surface.
WARNING
TO REDUCE THE RISK OF FIRE, ELECTRIC SHOCK, OR INJURY TO PERSONS, OBSERVE THE FOLLOWING. - Using 2 or more people, lift range hood onto covered surface.
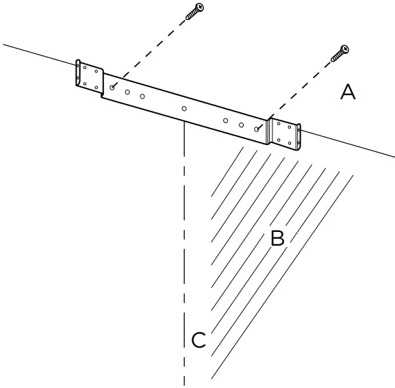
Mounting the duct cover bracket
- Determine and mark the centerline on the wall where the canopy hood will be installed. Disconnect power.
- Select a mounting height between a minimum of 24” (61 cm) for an electric cooking surface, a minimum of 30” (76.2 cm) for a gas cooking surface, and a suggested maximum of 36” (91.4 cm) above the range to the bottom of the hood. Mark a reference line on the wall.
- Tape template in place, aligning the template centerline and bottom of template with hood bottom line and with the centerline marked on the wall.

A. Centerline
B. Fastener locations
C. Mounting height reference (hood bottom line) - Mark centers of the fastener locations through the template to the wall.
IMPORTANT: All screws must be installed into wood. If there is no wood to screw into, additional wall framing supports may be required. - Remove the template.
- Drill 3⁄16” (4.8 mm) pilot holes at all locations where screws are being installed into wood.
- Install the 2 – 5 x 45 mm mounting screws. Leave a 1 ⁄4” (6.4 mm) gap between the wall and the back of the screw head to slide range hood into place.

Vent cover bracket installation
- Attach vent cover bracket to wall flush to the ceiling using 2 – 5 x 45 mm screws.

Complete preparation
- Determine and make all necessary cuts in the wall for the vent system. Install the vent system before installing the hood. See “Venting Requirements” section.
- Determine the required height for the home power supply cable and drill a 1¼” (3.2 cm) hole at this location.
- Run the home power supply cable according to the National Electrical Code or CSA Standards and local codes and ordinances. There must be enough ½” conduit and wires from the fused disconnect (or circuit breaker) box to make the connection in the hood’s electrical terminal box.
NOTE: Do not reconnect power until installation is complete. - Use caulk to seal all openings.
Install Range Hood
Connect Vent System
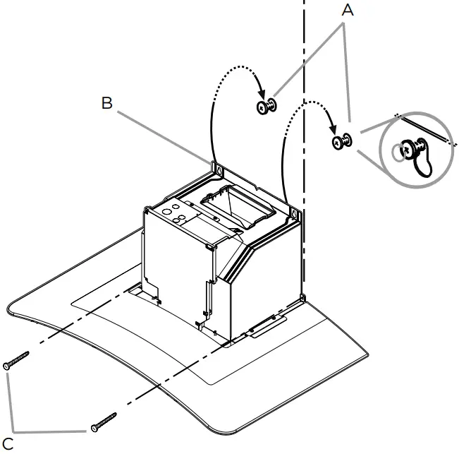
- Install transition on top of hood (if removed for shipping) with 2 – 3.5 x 9.5 mm sheet metal screws.

- Remove protective film from hood and duct covers
Install Range Hood
- Using 2 or more people, hang range hood on 2 mounting screws through the mounting slots on back of hood.

- Mark with a pencil the lower mounting holes location.
- Uninstall the hood assembly, and drill 3⁄16” (4.8 mm) pilot holes at marked locations.
- Hang the range hood again on 2 upper mounting screws.
- Level the range hood and tighten upper mounting screws.
- Install 2 – 5 x 45 mm lower mounting screws and tighten. Use the optional wall anchors if needed.
- Remove styrofoam protection from inside the hood.
For vented installations only:
- Fit vent system over the exhaust outlet.
- Measure from the bottom of the air deflector to the bottom of the hood outlet. Cut the ductwork at the measured dimension.

- Seal connection with clamps.
- Check that back draft dampers work properly.
Electrical Connection
WARNING
ELECTRICAL SHOCK HAZARD.
WARNING
DISCONNECT POWER BEFORE SERVICING. REPLACE ALL PARTS AND PANELS BEFORE OPERATING. FAILURE TO DO SO CAN RESULT IN DEATH OR ELECTRICAL SHOCK.
- Disconnect power.
- Remove terminal box cover.
- Remove the knockout in the terminal box cover and install a UL listed or CSA approved 1⁄2” strain relief.

- Run home power supply cable through strain relief, into terminal box.

- Use UL listed wire connectors and connect black wires (C) together.
- Use UL listed wire connectors and connect white wires (E) together.
- Connect green (or bare) ground wire from home power supply to yellow-green ground wire (F) in terminal box using UL listed wire connectors.
- Tighten strain relief screw.
- Install terminal box cover.
- Check that all light bulbs are secure in their sockets.
- Reconnect power.
Install duct covers
- When using both upper and lower vent covers, push lower cover down onto hood and lift upper cover to ceiling and install with two mounting screws.
NOTE: For vented installations, the upper vent cover may be reversed to hide slots.
- Secure the bottom of the duct with 2 – 4 x 8 mm screws.

Complete Installation
- For non-vented (recirculating) installations only, install charcoal filters over metal grease filter. See the “Mainteinance” section.
- Install metal filters. See the “Mainteinance” section. To get the most efficient use from your new range hood, read the “maintenance” section. Keep your Use, Care, and installation Guide close to range hood for easy reference.
Description of the Hood

A.Blower and light controls
B.LED lamps
C.Grease filter handle
D.Grease filter
E.Canopy
F.Duct covers
Control
A. Light button
B. Blower button
Operating the light
The Light On/Off button (A) controls both lights.
Press once for turning On soft light and the button sun icon lightens with the bottom half of the edge slightly.
Press again for regular light and the button will be completely illuminated.
Press a third time to turn Off the light, the whole button light turns off
Operating the blower
Press the button (B) to turn On the hood on low speed, the icon and right low corner of the edge on button will be illuminated.
Press a second time for medium speed, the icon and the lower half of the edge on the button enlightens.
Press again to high speed and ¾ of the edge on the button will illuminate.
Press the button a fourth time to activate Boost speed for five minutes (the full icon and edge will be illuminated) and then, automatically switch to high speed.
Press the button a fifth time to turn Off the blower and button lights.
Change light color
With lights and motor turned Off, press and hold light button for 3 sec, both buttons will fully illuminate on the current light color. The buttons can be used to select desired color (Light << button backwards, Blower button forward >>) Available light colors are white (default color), blue, green or red. To set color, choose one and press both buttons at the same time
Sound
To enter sound mode, with lights and motor turned Off press both buttons at the same time and the upper left corner of the light button will illuminate with white light. The buttons can be used to select desired sound (Light <
CFM Reduction System
Before operating your hood:
Some States and Provinces of the US & Canada restrict the maximum exhausting airflow of range hoods. Airflow is measured as cubic feet per minute (CFM). These maximum levels allowed are detailed in the local code of your area. Please check local codes to find out if you need to restrict the maximum airflow of your hood. If your local code mandates a maximum airflow level below the maximum airflow of this hood (i.e. 400 CFM), please execute the procedure below to reduce the maximum airflow.
With blower and light turned Off
- Press and hold both buttons at the same time for 3 sec you will hear a beep and the icon lights (no edge) will illuminat for 3 seconds.
- This action will disable speed 4 and effectively lower the maximum airflow to > 300 CFM.
- Locate the CFM certification sticker in the hardware pack.
- Peel and Affix this sticker to a visible area in the blower.This sticker provides official certification to your local inspector that this hoods maximum airflow has been reduced to > 300 CFM.
Indicators of filter saturation:
At regular time intervals, the hood indicates the need of performing filter maintenance.
Blower button icon blink (no edge):
Perform grease filter maintenance.
Light button blink (no edge):
Perform activated charcoal filter maintenance.
Reset of filter saturation indicators:
With blower Off press and hold the blower button for 3 sec.
Activation of saturation indicator activated charcoal filter:
NOTE: This operation must be performed with the hood off. This indicator is normally deactivated; press and hold the blower button for 3 sec. to activate the function: the button blinks for 1 sec. To deactivate the function, press and hold the blower button for 3 sec., the button blinks for half a sec.
Maintenance
Cleaning
Do not spray cleaners directly to the control while cleaning the Hood. The cooker hood should be cleaned regularly (at least with the same frequency with which you carry out maintenance of the fat filters) internally and externally. Clean using the cloth dampened with neutral liquid detergent. Do not use abrasive products.
DO NOT USE ALCOHOL!
WARNING:
Failure to carry out the basic cleaning recommendations of the cooker hood and replacement of the filters may cause fire risks. Therefore, we recommend oserving these instructions.
The manufacturer declines all responsibility for any damage to the motor or any fire damage linked to inappropriate maintenance or failure to observe the above safety recommendations.
Grease Filter
Traps cooking grease particles. This must be cleaned once a month using non aggressive detergents, either by hand or in the dishwasher, which must be set to a low temperature and a short cycle. When washed in a dishwasher, the grease filter may discolour slightly, but this does not affect its filtering capacity.
To remove the grease filter, pull the spring release handle.
Replacing a LED Lamp
The LED lights are replaceable by a service technician only. See “Who to contact” section in the warranty for service contact information.
Charcoal Filter
If the model is not vented to the outside, the air will be recirculated through disposable charcoal filters that help remove smoke and odors.
The charcoal filters cannot be cleaned.
They must be replaced.
The charcoal filters are clipped inside of each metal grease filter (mounting instructions included with charcoal filters kit). The charcoal filters should be replaced every 4-6 months (depending on hood usage).
NOTE: DO NOT rinse, or put charcoal filters in an automatic dishwasher.
NOTE: Charcoal filters are not included with the hood. They must be ordered from your supplier. Order the needed kit specifying your hood model and width size.
Charcoal filter placement (Recirculating accessories)
Fit the charcoal filter mattress on the upper side of each grease filter. Use provided springs to fix it in place.
NOTE: When removing for replacing for a new one do not remove Fixing Springs, simply pull out one and rotate outwards.



TWO-YEAR LIMITED WARRANTY
TO OBTAIN SERVICE UNDER WARRANTY
Owner must present proof of original purchase date. Please keep a copy of your dated proof of purchase (sales slip) in order to obtain service under warranty.
PARTS AND SERVICE WARRANTY
For the period of two (2) years from the date of the original purchase, Elica will provide free of charge, non consumable parts or components that failed due to manufacturing defects. During these two (2) years limited warranty, Elica will also provide free of charge, all labor and in-home service to replace any defective parts
WHAT IS NOT COVERED
- Damage or failure to the product caused by accident or act of God, such as, flood, fire or earthquake.
- Damage or failure caused by modification of the product or use of non genuine parts.
- Damage or failure to the product caused during delivery, handling or installation.
- Damage or failure to the product caused by operator abuse.
- Damage or failure to the product caused by dwelling fuse replacement or resetting of circuit breakers.
- Damage or failure caused by use of product in a commercial application.
- Service trips to dwelling to provide use or installation guidance.
- Light bulbs, metal or carbon filters and any other consumable part.
- Normal wear of finish.
- Wear to finish due to operator abuse, improper maintenance, use of corrosive or abrasive cleaning products/pads and
- When the product has not been operated in accordance with the accompanying instructions for use.
WHO IS COVERED
This warranty is extended to the original purchaser for products purchased for ordinary residential use in North America (Including the United States, Guam, Puerto Rico, US Virgin Islands & Canada).
This warranty is non-transferable and applies only to the original purchaser and does not extend to subsequent owners of the product. This warranty is made expressly in lieu of all other warranties, expressed or implied, including, but not limited to any implied warranty of merchantability or fitness for a particular purpose and all other obligations on the part of Elica North America, provided, however, that if the disclaimer of implied warranties is ine’ective under applicable law, the duration of any implied warranty arising by operation of law shall be limited to two (2) years from the date of original purchaseat retail or such longer period as may be required by applicable law.
This warranty does not cover any special, incidental and/or consequential damages, nor loss of profits, su’ered by the original purchaser, its customers and/or the users of the Products
WHO TO CONTACT
To obtain service under warranty or for any service related question:
USA & CANADA – Western Provinces
SERVICE POWER
888 732 8018
[email protected]
CANADA – Ontario Province
AGI Services
888 651 2534
[email protected]
CANADA – Quebec & Atlantic Provinces
Ateliers G. Paquette
800 463 0119
[email protected]
To ensure prompt after-sales service, when you call we will kindly ask you to provide the following information indicated on the nameplate inside the hood: hood model, 12 NC and date of purchase on original invoice.To access the nameplate, all you have to do is remove the grease filters
12NC:……………………………..
Hood model:…………………………………………..
Serial No:………………………………………….
Date of purchase on original invoice:………………………………




















