LUTEC 5193811118 Cuba Modern & Versatile Outdoor Wall Light

WHAT IS IN BOX
TOOLS REQUIRED
INSTALLATION
STEP1
STEP2
STEP3
STEP4
STEP5
STEP6
STEP7
STEP8
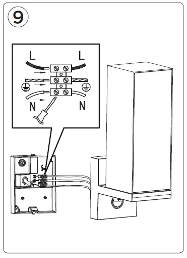
STEP9
STEP10
STEP11
INSTRUCTION
LUTEC Europe NV
Herentalsebaan 425
B-2160 Wommelgem – Belgium
+32 3 284 51 62
[email protected]
www.lutec.com
www.lutec.com/services/global-network


















