Furinno 19031 2-Tier End Table

HARDWARE & PARTS LIST
| NO | PARTS LIST | QTY |
| A | TOP PANEL | 1 PC |
| B | BOTTOM PANEL | 1 PC |
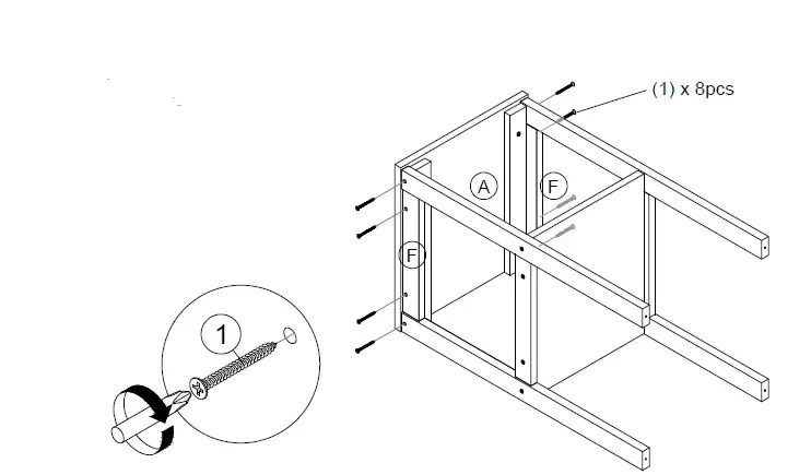
| C | LEG PANEL | 4 PCS |
| D | SHELF PANEL | 1 PC |
| E | TOP SUPPORT BAR | 2 PCS |
| F | TOP SIDE SUPPORT BAR | 2 PCS |
| G | CENTER SIDE BAR | 2 PCS |
| H | BOTTOM SIDE BAR | 2 PCS |
| NO | HARDWARE LIST | QTY |
| 1 | LONG SCREW![]() | 24 PCS |
| 2 | P/H TAPPING SCREW![]() | 4 PCS |
| 3 | ROUND LEG![]() | 4 PCS |

USEFUL HINTS BEFORE YOU START:
- Read each step carefully before starting.
- It is important that each step is performed in correct order to avoid difficulties.
- Identify, sort and count the parts before assembly.
- Assemble your furniture on packaging cardboard to prevent scratch or damage.
- Clean the product with mild cleanser using soft damped cloth. Do not use harsh or abrasive cleanser.
- Using incompatible hardware might cause damage to product.
ASSEMBLY INSTRUCTIONS
BEFORE YOU BEGIN, PLEASE READ ASSEMBLY INSTRUCTIONS CAREFULLY, FOLLOW THEM STEP BY STEP.
STEP 1

STEP 2
STEP 3
STEP 4

Recommended Maximum Weight



WARNING:
- This unit has been designed to support the maximum loads shown. Exceeding these load limits could cause sagging, instability, product collapse, and/or serious injury.
- DO NOT allow children to climb on unit.
- Put heavier items on lower shelves.
*Unit in Pound(lbs)






















