proctor silex 59739 2 Speed Hand Blender

IMPORTANT SAFEGUARDS
When using electrical appliances, basic safety precautions should always be followed to reduce the risk of fire, electric shock, and/or injury to persons, including the following:
- Read all instructions.
- This appliance is not intended for use by persons with reduced physical, sensory, or mental capabilities, or lack of experience and knowledge.
- This appliance shall not be used by children. Keep the appliance and its cord out of reach of children.
- Close supervision is necessary when any appliance is used near children. Children should be supervised to ensure that they do not play with the appliance.
- To protect against risk of electrical shock, do not put cord, plug, base, or motor in water or other liquid.
- Turn the appliance off, then unplug from outlet when not in use, before putting on or taking off parts, and before cleaning. To unplug, grasp the plug and pull from the outlet. Never pull from the power cord.
- Avoid contact with moving parts.
- Keep hands, hair, clothing, and utensils away from blades and out of container during operation to prevent the possibility of severe injury to persons and/or damage to the appliance. A spatula or scraper may be used but must be used only when the unit is not running.
- Do not operate any appliance with a damaged supply cord or plug, or after the appliance malfunctions or has been dropped or damaged in any manner. Supply cord replacement and repairs must be conducted by the manufacturer, its service agent, or similarly qualified persons in order to avoid a hazard. Contact Customer Service for information on examination, repair, or adjustment as set forth in the Limited Warranty.
- The use of attachments not recommended or sold by the appliance manufacturer may cause fire, electric shock, or personal injury.
- When mixing liquids, especially hot liquids, use a tall container or make small quantities at a time to reduce spillage.
- Do not use outdoors.
- Do not let cord hang over edge of table or counter or touch hot surfaces, including stove.
- Do not place on or near a hot gas or electric burner, or in a heated oven.
- Never add to container while appliance is operating.
- Blades are sharp; handle carefully—especially when assembling, disassembling, emptying or cleaning.
- Do not use broken, cracked, or loose blending attachment with blade.
- Do not use appliance for other than intended purpose.
- CAUTION! In order to avoid a hazard due to inadvertent resetting of the thermal cut-out, this appliance must not be supplied through an external switching device, such as a timer, or connected to a circuit that is regularly switched on and off by the utility.
SAVE THESE INSTRUCTIONS
Other Consumer Safety Information
This appliance is intended for household use only.
Electrical Shock Hazard: This product is provided with a polarized plug (one wide blade) to reduce the risk of electric shock. The plug fits only one way into a polarized outlet. Do not defeat the safety purpose of the plug by modifying the plug in any way or by using an adapter. If the plug does not fit fully into the outlet, reverse the plug. If it still does not fit, have an electrician replace the outlet
The length of the cord used on this appliance was selected to reduce the hazards of becoming tangled in or tripping over a longer cord. If a longer cord is necessary, an approved extension cord may be used. The electrical rating of the extension cord must be equal to or greater than the rating of the appliance.
Care must be taken to arrange the extension cord so that it will not drape over the countertop or tabletop where it can be pulled on by children or accidentally tripped over.
To avoid an electrical circuit overload, do not use another high-wattage appliance on the same circuit with this appliance.
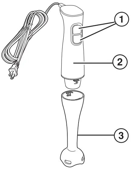
Parts and Features
To order parts, visit:
proctorsilex.com/parts

- 2-Speed Control Buttons
- Motor Housing
- Blending Attachment with Blade and Blade Cover
- Pulse-Low Speed
- Turbo Pulse-High Speed
Tip: Unplug and remove Blending Attachment. To reduce staining, rinse Attachment after every use.
How to Use
Before first use: Wash Blending Attachment according to instructions.
- To attach Blending Attachment, hold Hand Blender upright slide Blending Attachment onto Motor Housing and turn clockwise to tighten.
- Place food in a tall, deep container for blending. For best results, solid foods should be no larger than 1-inch (2.5 cm) chunks.
- Plug into outlet.
- Grasp unit in hand. Push selected Speed Control Button. Slowly move Hand Blender through food—up, down, and sideways.
- Do not operate motor continuously for more than 1 minute at a time.
- Unplug.
- To dissemble Blending Attachment, hold Hand Blender upright and turn Motor Housing counterclockwise to remove, clean, and for easy storage.
NOTE: Do not use nonfood items with this Hand Blender. This product is not meant for soap making.
Helpful Hints
- For thorough blending, move Hand Blender up and down in mixture until smooth.
- For best mixing results, use tall, deep containers.
- To use Hand Blender in a saucepan, be sure to remove pan from stove, since Hand Blender is not designed for use over a heat source.
- To puree foods, a certain amount of liquid is needed. Add cooking liquid, broth, juice, milk, or cream until desired consistency is reached.
- This appliance is not intended to chop ice. Add ice to beverage after blending.
- This appliance is not intended to beat egg whites.
Care and Cleaning
Electric Shock Hazard. Never hold motor housing portion of hand blender under running water. Simply wipe clean with a damp cloth.
- Unplug.
- Remove Blending Attachment from Motor Housing. Blending Attachment is dishwasher-safe in top rack only, or wash in hot, soapy water. Rinse; then dry.
Limited Warranty
This warranty applies to products purchased and used in the U.S. and Canada.
This is the only express warranty for this product and is in lieu of any other warranty or condition.
This product is warranted to be free from defects in material and workmanship for a period of three (3) years from the date of original purchase. During this period, your exclusive remedy is repair or replacement of this product or any component found to be defective, at our option; however, you are responsible for all costs associated with returning the product to us and our returning a product or component under this warranty to you. If the product or component is no longer available, we will replace with a similar one of equal or greater value.
This warranty does not cover glass, filters, wear from normal use, use not in conformity with the printed directions, or damage to the product resulting from accident, alteration, abuse, or misuse. This warranty extends only to the original consumer purchaser or gift recipient. Keep the original sales receipt, as proof of purchase is required to make a warranty claim. This warranty is void if the product is used for other than single-family household use or subjected to any voltage and waveform other than as specified on the rating label (e.g., 120 V ~ 60 Hz).
We exclude all claims for special, incidental, and consequential damages caused by breach of express or implied warranty. All liability is limited to the amount of the purchase price. Every implied warranty, including any statutory warranty or condition of merchantability or fitness for a particular purpose, is disclaimed except to the extent prohibited by law, in which case such warranty or condition is limited to the duration of this written warranty. This warranty gives you specific legal rights. You may have other legal rights that vary depending on where you live. Some states or provinces do not allow limitations on implied warranties or special, incidental, or consequential damages, so the foregoing limitations may not apply to you.
To make warranty claim, do not return this appliance to the store. Please write Hamilton Beach Brands, Inc., Customer Service Department, 4421 Waterfront Dr., Glen Allen, VA 23060, or visit proctorsilex.com/customer-service in the U.S. or proctorsilex.ca/customer-service in Canada. For faster service, locate the model, type, and series numbers on your appliance.
CENTROS DE SERVICIO AUTORIZADOS
Jalisco
SERVICIOS DE MANTENIMIENTO CASTILLO
Garibaldi No. 1450,
Ladrón de Guevara
Guadalajara,
Jalisco, C.P. 44660
Tel: 33 3825 3480

References
Home | Proctor Silex Canada
Customer Service | Proctor Silex Canada
Home | ProctorSilex.com
Inicio | Proctor Silex Mexico
Customer Service | ProctorSilex.com
Parts & Accessories | ProctorSilex.com
Amazon.com: Hamilton Beach Spiralizer, 2 Speed Motorized Vegetable Slicer (59998): Home & Kitchen
Wholescale - Proctor Silex


















