MEEC TOOLS 022532 Router Table

Instruction











SAFETY INSTRUCTIONS
Carefully read all the instructions, safety instructions and warnings supplied with the product and the router to be installed on it before use. Failure to follow all the instructions and safety instructions can result in the risk of electric shock, fire and/or serious personal injury. These instructions should be enclosed with the product if it is sold or passed on. Save these instructions for future reference.
- Size of workpiece
- Always use a feeder for workpieces shorter than 200 mm.
- Support workpieces longer than 1000 mm with roller supports or the equivalent.
- Do not attempt to work on workpieces wider than 100 mm.
- Only use the product to work on workpieces with square or rectangular cross-section. Do not attempt to work on workpieces with circular cross-sections, such as broomsticks or branches etc.
- The product can be used to make shaped edges (profiles), bevelling, joints, mortices and dovetails. Do not use the product for peg routing or working on end grain. Do not attempt plunge routing, routing of curved slots or routing with synchronised feeding. Do not interrupt and then resume a cut.
- Always check that all the safety devices are correctly fitted and in working order before use.
- The product is intended to be used by one person. The user is responsible for any accidents or risks to other persons or property.
- Do not use the product if it is damaged, or not working properly. Any damage must be repaired before the product is used again.
- In addition to these instructions, you should always comply with local regulations and laws concerning health, safety and the environment.
- The product must only be used and maintained in accordance with these instructions and by qualified personnel.
- Only use accessories and parts recommended by the manufacturer.
The use of other accessories and parts can result in a risk of personal injury. - Always maintain a firm footing and good balance. Do not overreach. Avoid unbalanced and awkward positions when working.
- Stay alert. Be careful at all times, and use your common sense when working with the product. Never use the product if you are tired or under the influence of drugs, alcohol or medication.
- If the power switch does not work, it must be replaced by an authorised service centre or other qualified personnel.
Do not use the product if it cannot be switched on and off with the power switch. - Check that the mains voltage corresponds to the rated voltage on the type plate.
- Always use a feeder to hold down the workpiece and prevent kickback.
- Router bits are very sharp – risk of cut injuries. Handle them with care.
- Always check before use that bits are not cracked or otherwise damaged. Replace cracked or damaged bits immediately.
- Check the workpiece first, and remove any nails, screws and other metal objects.
- Start the product and allow it to reach maximum speed before the bit is applied to the workpiece.
- Run the product without load for a few minutes to check for abnormal noise or vibration, which can be an indication that the router or bit is not correctly installed.
- Check the direction of rotation of the bit and make sure to feed the workpiece in the right direction.
- Never leave the product unattended when switched on.
- Do not touch the bit just after use – it can be hot and cause burn injuries. Allow the bit to cool.
- Remove cords, cloths and other foreign objects from the table before use.
- Switch off the product and wait until all moving parts have completely stopped before removing the workpiece.
- Keep children and onlookers at a safe distance when using the product. Do not allow children to use or maintain the product.
- Only use the product with routers described in these instructions. Using it with other power tools can result in serious personal injury and/or material damage.
- Use table inserts of a size that fits the bit to be used.
- Use personal safety equipment. Wear ear protection. Wear a dust filter mask. Wear safety gloves when handling bits and workpieces with sharp edges. Wear safety glasses or a visor.
- Always connect the product to dust extraction equipment according to the instructions. Toxic and/or harmful dust can be produced when working with wood.
- Only use bits and other spare accessories intended to be used with the product and/or recommended by the manufacturer for use with the product. Losing control of the product can result in a risk of serious personal injury. Only use bits that are marked for manual feeding (MAN) in compliance with EN 847-1.
- If your hands/fingers come into contact with the rotating bit there is a risk of serious personal injury. Always check before use that the spindle guard is correctly installed and in working order. The guard reduces the risk of contact with the rotating bit. Pull out the plug and wait until all moving parts have completely stopped before adjusting and/or maintenance.
- Always use the supplied spring fences, especially when working with small workpieces, to reduce the risk of kickback if you loose control of the workpiece.
- Use the supplied side tables when working with long workpieces. When necessary use roller supports to prevent the workpiece moving out of control and resulting in a risk of personal injury.
- Incorrect use and handling of fences and other devices to feed workpieces can result in the risk of personal injury and/or material damage. Follow all the instructions and safety instructions.
GENERAL SAFETY INSTRUCTIONS FOR ROUTER TABLES
- Pull out the plug before installation or adjustment, or replacing accessories. Unintentional starting can result in personal injury.
- Assemble the product according to the instructions before installing the router, otherwise there is a risk the product will collapse.
- Mount the router correctly on the product before use. If the router moves on the product when working you can loose control of it.
- Fix the product on a level and stable surface according to the instructions. If the product can move or wobble it will not be possible to work properly and safely.
- Incorrect positioning, installation and attachment of bits can result in a risk of personal injury. Check that the bit rotates in the right direction and make sure to feed the workpiece towards the spindle in the opposite direction to the direction of rotation.
- Use a suitable bit for the work to be done. Follow the instructions for the router in use.
- Move the workpiece towards the bit with a feeder to avoid bringing your hands too close to the workpiece. Secure the workpiece with the supplied spring fences to reduce the risk of personal injury.
- Keep the work area clean and remove shavings and dust at regular intervals. Keep the ventilation openings on the tool clean.
APPLICATIONS
The product is only intended for household and hobby use, for working on wood and other similar materials with a power router. The product must only be used as it is intended to be used and in accordance with these instructions.
Remaining risks
Even if the product is used in accordance with the instructions it is impossible to rule out all risk factors. The following risks remain.
- Risk of personal injury from contact with rotating bit if the workpiece is handled incorrectly.
- Risk of personal injury as a result of the workpiece being ejected and/or lifted out of control if the workpiece is handled incorrectly, for example working without fences.
- Risk of health impairment as a result of wood dust or sawdust. Wear safety glasses and a dust filter mask. Use dust extraction.
- Risk of personal injury if loose-fitting clothing, jewellery or long hair get caught in moving parts. Wear tight clothing and use a hair net if you have long hair.
- Risk of injury to hands and fingers when changing bits. Wear safety gloves.
- Risk of cut injury from rotating bit when the product starts.
- Risk of electric shock from faulty connection.
SYMBOLS
Read the instructions.
Wear ear protection.
Wear safety glasses.
Wear a dust filter mask.
Wear safety gloves.
Safety class I
Approved in accordance with the relevant directives.
Recycle discarded product in accordance with local regulations.
TECHNICAL DATA
- Voltage 230 V 50 Hz
- Protection rating IP20
- Max weight for installed router 3.5 kg
- Max output for installed router 1800 W
- Max size of workpiece Width 100 mm
- Length 2000 mm
- Height 55 mm
- Weight 7.5 kg
- Size Approx. 460 x 334 mm (Approx. 870 x 334 mm with side table)
DESCRIPTION
Suitable for routers with up to Ø 155 mm guide plate and “lock-on” holder. The table has two steel side tables and a power switch and socket for the router. The router is installed from underneath and is sold separately.
PARTS
- Fence
- Safety switch unit
- Table inserts, 5x
- Mitre fence
- Side table, 2x
- Leg, 4x
- Worktop
- Dust extraction adapter
FIG. 1
Bag 1: - Spring fence, 3x
FIG. 2
Bag 2: - Carriage bolt, 4x
- Washer, 6x
- Wing nut, 4x
- Thumb screw, 2x
FIG. 3
Bag 3: - Screw, 18x
- Washer, 18x
- Nut, 18
FIG. 4
Bag 4: - Thumb screw, 2x
- Washer, 2x
- Nut, 2x
FIG. 5
Bag 5: - Clamp, 4x
- Carriage bolt, 4x
- Washer, 4x
- Nut, 4x
FIG. 6
Bag 6: - C-clamp
FIG. 7
ASSEMBLY
UNPACKING AND INSPECTION
- Unpack the product.
- Check that no parts are missing (see list of supplied parts).
- Check that none of the parts are damaged.
- Do not use the product if any parts are missing or damaged. Contact the retailer.
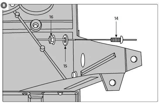
Fitting the legs and side tables Parts
Worktop (7), 4 legs (6), 2 side tables (5), bag 2 with 16 screws (14), 16 washers (15), 16 nuts (16).
Tools
Spanner 8 mm, Phillips screwdriver #2
- Place the worktop (7) upside down on a stable surfaces and arrange the side tables (5) and legs (6) as shown in the figure below.
FIG. 8 - Screw the leg and side table onto the worktop with the spanner and screwdriver, with the supplied screws (14), washers (15) and nuts (16).
- Repeat for the other legs and side table. Check that the legs and side tables are firmly fitted before the next step.
FIG. 9
It is easier to install the required bit, adjust the bit depth and lock the router power switch in switched on mode before the router is installed on the product.
IMPORTANT:
Always feed the workpiece to the bit in the opposite direction to the direction of rotation of the bit. Check that the arrow for the direction of rotation on the router points in the same direction as the arrow on the product (see figure).
Arrow for direction of rotation on table.
FIG. 10
Arrow for direction of rotation on router.
FIG. 11
Direction of feed
Move the router in the opposite direction of rotation of the bit, as shown in the figure.
FIG. 12
Do not move the router in the same direction of rotation as the bit – this can result in you losing control of the router.
FIG. 13
Fitting the clamps Parts
Bag 4 with 4 clamps (20), 4 carriage bolts (21), 4 washers (22), 4 nuts (23).
Tools
8 mm spanner
The product has 4 clamps that hold the router firmly on the underside of the product.
Fitting the clamps
Parts
Bag 4 with 4 clamps (20), 4 carriage bolts (21),
4 washers (22), 4 nuts (23).
Tools
8 mm spanner
The product has 4 clamps that hold the router
firmly on the underside of the product.
- Put the carriage bolts (21) through the holes in the worktop.
FIG. 14 - Put the clamps (20) on the carriage bolts on the underside of the worktop with the hooks on the sides of the clamps turned to the underside of the worktop.
- Fix the clamps in place with the supplied washers (22) and nuts (23).
FIG. 15
If so required the router can now be installed on the worktop, before the rest of the installation.
Installation of router on the product
WARNING!
Pull out the plugs on the router and the product before installation.
Read all the instructions and safety instructions for the router. Familiarise yourself with the controls on the router and how to use them, including the following.
- Fitting and adjustment of bit.
- Adjusting the bit depth.
- Starting and switching off the router and using the power switch lock.
- Where appropriate remove dust extraction adapter, template guides and other accessories from the router before it is installed on the product.
Product can be used with routers of well known brands with a 155 mm base plate. The use of unsuitable routers can damage the product and/or the router. The product is mainly intended to be used with routers that have a power switch lock.
- Turn the product upside down.
- Put the router in the recess on the underside of the worktop and fit the clamps (20) round it as shown in the figure.
- Lock the router in place by tightening the nuts (22) with the 8 mm spanner.
- Check that the router is firmly in place. FIG. 16
Fitting and removing bits
- Place the product on its side.
- Fit or remove a bit on the router according to the instructions for the router.
- Stand the product upright again. Fitting dust extraction adapter
IMPORTANT:
Toxic and/or harmful dust can be produced when working with wood. Always wear a dust filter mask and connect the product to a dust extraction device.
Fitting the safety switch
IMPORTANT:
The product has a magnetic safety switch, which is used to control the power supply to the router. If the safety switch is not used this will increase the risk of personal injury.
The safety switch has 3 main safety functions.
- It prevents unintentional starting in that the red emergency switch must be lifted for the green power switch to become accessible.
- In an emergency the router can quickly be switched off with the emergency stop button.
- In the event of a power failure the magnetic mechanism in the safety switch ensures that the router does not start again when the power returns.
Parts
Safety switch (2), bag 2 with 2 screws (14), 2 washers (15), 2 nuts (16).
- Place the safety switch (2) on the front of the worktop as shown in the figure.
FIG. 17 - Fit in place with the supplied screws (14), washers (15) and nuts (16).
FIG. 18
Fitting the fence
Parts
Fence (1), bag 3 with 2 thumb screws (17), 2 washers (18), 2 nuts (19).
- Place the fence (1) on the worktop (7) and insert the thumb screws (17) through the slots in the fence and holes in the worktop as shown in the figure.
- Fix the fence in place with the supplied washers (18) and nuts (19).
- Always check that the safety devices are working properly after fitting the fence.
FIG. 19
Fitting the spring fences
Parts
Bag 1 with 3 spring fences (9), 4 carriage bolts (19), 4 washers (11), 4 wing nuts (12), 2 thumb screws (13).
WARNING!
If the spring fences are fitted incorrectly there is a risk of the workpiece being thrown out and causing serious personal injury.
- Place the middle spring fence with the springs turned to the fence. FIG. 20
- Place the left and right spring fences with the springs turned to the worktop. FIG. 21
Always fit the middle spring fence on the worktop first, before the rest.
Fitting the middle spring fence - Place the middle spring fence (9) on the worktop.
- Align the slots in the spring fence to the holes in the worktop as shown in the figure.
- Put the thumb screws (13) through the slots in the spring fence and into the threaded holes in the worktop.
FIG. 22
Fitting the left and right spring fence - Place the left and right spring fence (9) beside the holes for fitting the fence (1).
- Put the carriage bolts (10) through the slots in the spring fence and into the holes in the fence.
- Fix the spring fence firmly in place with the supplied washers (11) and wing nuts (12).
FIG. 23
Where appropriate remove dust extraction adapter from the router before it is installed on the product.
The product has a dust extraction port and dust extraction adapter. Follow the instructions below to fit the dust extraction adapter. - Put the dust extraction adapter (8) in the dust extraction port (A) behind the fence (1).
- Connect the product to the dust extraction device by connecting a hose to the dust extraction adapter.
FIG. 24
Mounting on workbench
The product must be mounted on a suitable workbench before use. There are 8 holes in the product legs for attachment to a level surface. The product should be positioned so that the worktop (7) is at about elbow height.
- Anchor the product to the surface with suitable retaining parts.
Mains connection
The safety switch unit for the product should be connected to an earthed power point, one-phase 230–240 VAC, 50 Hz.
- Check that the mains voltage corresponds to the rated voltage on the type plate.
- An extension cord must have a minimum cross-sectional wire area of 1.5 mm2.
Do not use a longer than necessary extension cord.
Fitting of table inserts
WARNING!
Never use damaged table inserts, they can come loose and cause serious personal injury.
5 table inserts with different inner diameters are included: 1/2”, 3/4”, 1”, 1 1/4” and 1 1/2”.
- Select a suitable table insert for the bit to be used and press it in place in the hole in the worktop (7).
FIG. 25
USE
IMPORTANT:
Switch off the product and pull out the plug before adjusting and/or maintenance.
ADJUSTING THE BIT DEPTH
- Set the required bit depth on the router. Follow the instructions for the router in use. FIG. 26
ADJUSTMENT OF BIT WIDTH WHEN USING PROFILE BIT
When using bits with a large diameter it can be necessary to make several passes to avoid overloading the router. In which case, adjust the fence so that a smaller part of the radius of the bit comes in contact with the workpiece and make the necessary number of passes before the bit width for the final pass is adjusted as shown below.
- Fit the required bit and adjust the bit depth according to the instructions for the router.
- Check that the outer edge of the ball bearing is in line with the edge of the fence (1). FIG. 27
- Undo the two thumb screws (17) behind the fence and place a ruler against the outer edge of the ball bearing.
- Move forward the fence so that it rests against the edge of the ruler and tighten the thumb screws to lock the fence in place. FIG. 28
ADJUSTMENT OF BIT DEPTH WHEN USING STRAIGHT BITS (EDGE TRIMMING)
The sliding trimmer fence is used for trimming wooden edges with a straight bit, otherwise the workpiece would not rest against the fence after it had passed the rotating bit.
- Fit the required bit on the router.
- Undo the lock screws on the fence (1) and move the fence to the required bit width as shown in the figure.
FIG. 29 - Tighten the fence screws to lock the fence in place.
- Undo the lock knob (B) for the trimmer fence.
FIG. 30 - Turn the bit by hand so that the cutting edge is at an angle of 90° to the fence, as shown in the figure.
- Place a ruler on the worktop and align the trimmer fence in line with outer edge of the bit.
- Tighten the lock knob (B) for the trimmer fence.
FIG. 31
When using bits with a large diameter it can be necessary to make several passes to avoid overloading the router. In which case, adjust the fence so that a smaller part of the radius of the bit comes in contact with the workpiece and make the necessary number of passes before the bit width for the final pass is adjusted as shown below.
ADJUSTMENT OF SPRING FENCE
The product has spring fences. The spring fences are intended to hold the workpiece firmly in place when working, so that the hands of the user do not come too close to the rotating bit.
Middle spring fence
The middle spring fence presses the workpiece against the rotating bit and the fence while the workpiece moves past the bit.
- When the bit width has been adjusted according to the instructions above, place the workpiece on the table near the bit.
- Adjust the middle spring fence (9) by undoing the two thumb screws (13) and moving the middle spring fence against the workpiece.
FIG. 32 - Check that the springs rest against the workpiece when the workpiece moves past the bit.
- Lock the middle spring fence in place by tightening the two thumb screws.
FIG. 33
Left and right spring fence
The left and right spring fence press the workpiece down against the worktop while the workpiece moves past the bit. - Place the workpiece on the worktop (7), to the right of the bit. FIG. 34
- Adjust the right spring fence (9) by undoing the two wing nuts (12) behind the fence and moving the spring fence down against the workpiece.
- Check that the springs rest against the workpiece when the workpiece moves past the bit.
- Lock the right spring fence in place by tightening the two wing nuts.
- Repeat this procedure for the left spring fence.
FIG. 35
ADJUSTING THE MITRE FENCE
- Fit the required bit on the router.
- Set the required bit width by adjusting the fence according to the above instructions. Set the required bit depth according to the instructions for the router.
- Undo the knob on the mitre fence (4) and align the triangular marking on the mitre fence to the required angle on the mitre angle scale. Hold the mitre fence in place and firmly tighten the knob.
- Put the mitre fence in the slot in the worktop.
FIG. 36 - Plug in the plug, start the router and feed the workpiece slowly and smoothly past the bit along the mitre fence.
CONNECTION OF ROUTER TO PRODUCT
For the router to be controlled with the safety switch for the product the power switch lock on the router must be pressed in, or its switch locked in switched on mode.
- Plug the router plug in the socket on the safety switch (2).
- Plug the safety switch into a suitable power point.
FIG. 37
SWITCHING ON AND OFF
WARNING!
Dust is produced when working, which can be highly flammable or explosive.
- Do not smoke.
- Keep naked flames and other sources of heat away from the workplace.
- Wear a dust filter mask.
Switching on
- Lift up the emergency stop button (C).
- Press the green button (D).
FIG. 38
Switching off - Press the emergency stop button (C) or press the red button (E) on the main power switch.
FIG. 39
ROUTING
WARNING!
Contact with a rotating bit can result in serious personal injury.
- Always keep your hands and other parts of the body at a safe distance from rotating parts.
- Check that the router is connected to the power supply via the safety switch.
- Always feed the workpiece to the bit in the opposite direction to the direction of rotation of the bit.
- Fit the required bit on the router.
- Set the bit depth, bit width, spring fence (9) and fence (1) according to the instructions.
- Start the router with the safety switch (2) and wait until it reaches maximum speed.
- Feed the workpiece slowly and smoothly past the rotating bit with a feeder.
- Switch off the product and wait until all moving parts have completely stopped before removing the workpiece from the product.
MAINTENANCE
IMPORTANT:
Switch off the product and pull out the plug before adjusting and/or maintenance.
CLEANING
The product requires very little maintenance. Clean the product at regular intervals. Do not use abrasive detergents, they can damage the plastic parts on the product. Clean the product with compressed air after use, if possible. Store the product in a dry place.
MAINTENANCE
Check the power cord and plug for damage at regular intervals. A damaged cord or plug must be replaced by an authorised service centre or other qualified personnel to ensure safe use.
STORAGE
Store the product protected from dust, preferably in the packaging. Store the product out of the reach of children. A suitable storage temperature is 10 to 30°C.
- Switch off the product.
- Clean the product in accordance with the instructions.
- Store the product and all the accessories in a dark, dry and frost-free, well ventilated place.

Read the instructions.
Wear ear protection.
Wear safety glasses.
Wear a dust filter mask.
Wear safety gloves.
Recycle discarded product in accordance with local regulations.


















