ATH-5537 Electric Iron
Instruction Manual
ATH-5537
Electric iron
Instruction Manual
ELECTRIC IRON

DEAR CUSTOMER!
WE CONGRATULATE YOU WITH THE RIGHT CHOICE! YOU HAVE BECOME AN OWNER OF ‘ATLANTA’ TRADE MARK PRODUCTION, FAMOUS FOR PROGRESSIVE DESIGN AND GOOD PERFORMANCE QUALITY. WE HOPE THAT OUR PRODUCTION WILL BECOME YOUR COMPANION FOR YEARS.
BEFORE USE
Please, read this instruction manual carefully before operating the appliance. Peel the protective film or label off the iron soleplate. Wipe the soleplate surface with a soft damp cloth. When first in use, test all of the iron functions on a spare piece of cloth, to make sure all tool lubricants were removed.
SAFETY MEASURES
- The iron is adjusted to function with the power supply specified on the label.
- Never operate the iron on uneven surface that is not heat-resistant.
- THIS APPLIANCE IS NOT INTENDED FOR USE BY CHILDREN OR PERSONS WITH REDUCED PHYSICAL, SENSORY OR MENTAL CAPABILITIES, OR WANTING IN KNOWLEDGE OR EXPERIENCE, UNLESS THEY ARE GIVEN SUPERVISION BY A PERSON RESPONSIBLE FOR THEIR SAFETY.
- If the power supply cord is damaged, it should be replaced by the manufacturer or its agent, or the responsible qualified person.
- Close supervision is necessary when the appliance is used around children. Never leave the appliance unattended when in use. Do not let the power supply cord hang from the table, because children can bring the iron down by it and suffer serious burns.
- Be careful: do not touch the iron soleplate when in use. Do not operate the appliance close to objects that can be easily deformed by high temperature.
- Put the iron in a vertical position only.
- In order to reduce the risk of fire and electric shock:
– do not use this appliance in damp rooms;
– do not plug the appliance if there is water on its surface;
– do not plug or unplug the appliance with wet hands;
– do not allow the plug to overheat; make sure the appliance is properly plugged;
– do not use the iron if the supply cord is damaged or wet;
– switch off and unplug the appliance before cleaning;
– never pull the power supply cord to unplug the appliance; instead, grasp the plug and pull to disconnect;
– store the appliance in a cool dry place. - This iron is for personal use only.
- This iron is equipped with a European plug. Use a grounded outlet.
- If the appliance is damaged during use, disconnect it from the power supply immediately. Never attempt to repair the appliance yourself; take it to the nearest Authorized Service Centre and show your warranty ticket.
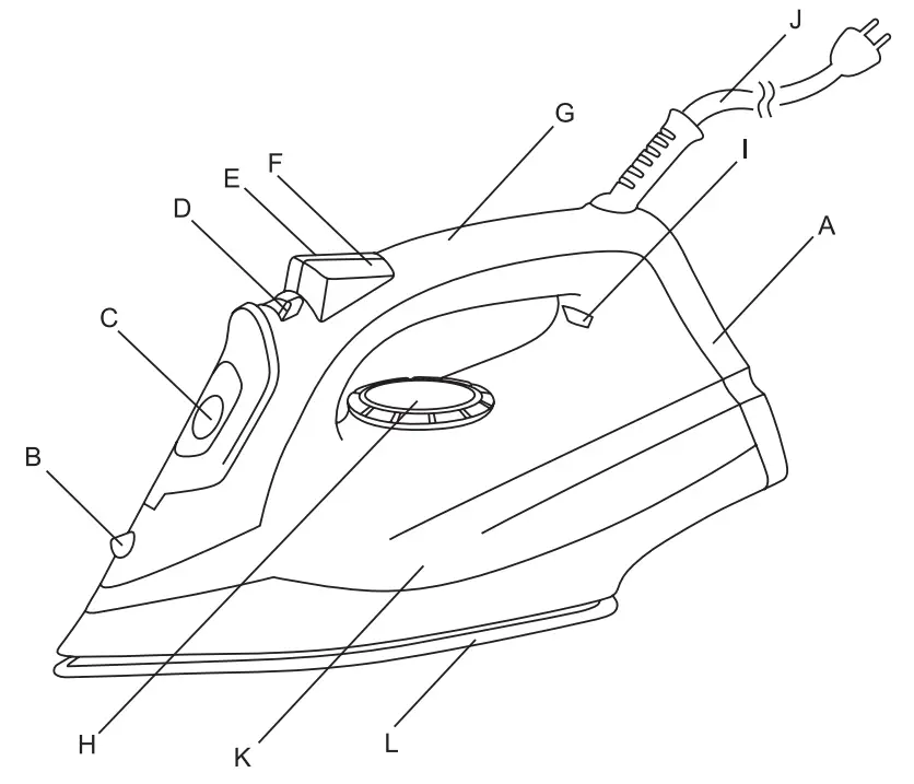
ELECTRIC IRON PARTS IDENTIFICATION
A – housing
B – sprayer
C – water inlet under the lid
D – steam control regulator
E – turbo steam button
F – spray button
G – handle
H – heat regulator
I – heat indicator
J – power supply cord
K – water tank
L – iron soleplate
TECHNICAL SPECIFICATIONS
Voltage:……………………………. 230 V~ 50 Hz
Rated power:……………………. 2000 W
Water tank:………………………….. 300 ml
Service life:………………………… 3 years
With delicate handling service life can significantly exceed the period set by the manufacturer.
Production date can be found in the product’s serial number: the 3d and 4th numbers stand for the month of production, the 5th and 6th numbers stands for the year of production. Example: хх0219хххххх – month 02, year 2019.
OPERATING THE IRON
- Place the iron in a vertical position on an even dry heat-resistant anti-slip surface, as close to the outlet as possible.
- Turn the steam regulator (D) to position «0».
- If you intend to use the steam or spray, pour in the water inlet (C) to 300 ml of soft or distilled water (but no more than the mark «max»). The iron must be disconnected
from the power when you fill it.
- Set the desirable heat level with the heat regulator (D) in accordance with the tag of the piece of clothe you are going to iron. First iron clothes that require minimum heat level, and then proceed to clothes that require maximum heat level.
- Plug the iron. The heat indicator (I) will light up.
- As soon as the heat indicator (I) goes off, the iron is heated to the required temperature and you can start ironing.
- Do not let the soleplate come in contact with hard objects (buttons, fasteners and so on).
- Press the spray button (F) to moisten the thing you going ironing.
- Set the temperature regulator (H) to position
to use the steam function. Then you should use permanent team regulator (D) or let off steam in batches by turbo steam button (I) at intervals of not less than 4 seconds between bursts. At the same time tag of things must allow the use of this feature. - After you have finished ironing, unplug the iron and place it in the vertical position to cool down.
- After the iron has cooled down, get rest water out of tank by turning it down filling openings and store it away. Do not wind or twist the power supply cord.

NOTES
- Do not heat the iron on a gas or electric cooker.
- When first in use you may notice a characteristic odour of burnt tool lubricant.
- The iron may drip water in case you set the temperature controller (H) to less than the position
and try to use any steam function. - The thermostat position «MAX» is designed for active use of the steam function. You should not use this option if steam control is set to less than half.
- We do not recommend using distilled water is very high chemical purity in mind the theoretical possibility of overheating. The such kind of water can reach level above the boiling point. If you doubt the degree of chemical purity of water, just add a 20% of ordinary tap water.
- During operation, the iron pressing the button a couple extra(E) lead to the release of portions of steam, not water only when prescribed by the regulator temperature (H) in position
. - If you use a hard water through a time of iron instead of the steam will go with a mixture of water insoluble salts: it can spoil your things and became reason of overheating iron.
- If you’ve been ironing with the heat regulator (D) set for
, and then decided to set it for
, the iron temperature will go down to the adequate level after some time, but not at once! If you want to make sure the iron temperature corresponds to the selected level, unplug the iron and let it cool down, then plug it again. - The manufacturer has the right to make alterations in the iron.
CLEANING AND CARE
- The iron needs regular cleaning. Keep the soleplate smooth, do not allow the surface come in contact with metallic or other hard objects.
- Unplug the iron and leave it to cool down, then use a soft damp cloth to clean it. Do not clean the iron with chemically active liquids or abrasive washing agents, as they can damage the surface.
- Wipe the iron soleplate with a damp cloth.
- Do not clean the iron with the help of other tools.
- Never immerse the appliance in water or other liquids.
ENVIRONMENTAL PROTECTION
The old devices are the package of the technical materials; therefore they can not be recovered with the domestic waste! On that reason, please, support us in the resources saving and environmental protection and return the unit to the recycling center (if applicable).





















