Thermacare PRO 2200 Hairdryer
D5710
remington-europe.com


Thank you for buying your new Remington® product. Please read these instructions carefully and keep them safe. Remove all packaging before use.
IMPORTANT SAFEGUARDS
- This appliance can be used by children aged 8 years and above and persons with reduced physical, sensory or mental capabilities or lack of experience and knowledge if they have been supervised/instructed and understand the hazards involved. Children shall not play with the appliance.
Cleaning and user maintenance shall not be done by children unless they are older than 8 and supervised. Keep the appliance and cable out of reach of children under 8 years.
Do not use this appliance near bathtubs, showers, basins, or other vessels containing water. - When the appliance is used in a bathroom, unplug it after use since the proximity of water presents a hazard even when the appliance is switched off.
- For additional protection, the installation of a residual current device (RCD) having a rated residual operating current not exceeding 30 mA is advisable in the electrical circuit supplying the bathroom*.
* Currently, the fitting in a bathroom of an electrical socket suitable or capable of operating the appliance is not permitted in the UK (see BS7671). - If the supply cord of this unit becomes damaged, discontinue use immediately and return the appliance to your nearest authorized Remington® service dealer for repair or replacement in order to avoid a hazard.
- Always ensure the voltage to be used corresponds to the voltage stated on the unit before plugging the appliance into the mains socket.
- Keep direct airflow away from eyes or other sensitive areas.
- Do not allow any part of the appliance to touch the face, neck, or scalp.
- During use, always ensure the inlet and outlet grilles are not blocked in any way as this will cause the unit to automatically stop. If this should occur, switch off and allow the unit to cool.
- Keep the power plug and cord away from heated surfaces.
- Do not leave the appliance unattended while plugged in.
- Do not place the appliance on any soft furnishings.
- Do not use attachments other than those we supply.
- Do not set the appliance down while still on.
- Do not twist or kink the cable, or wrap it around the appliance.
- Do not use the appliance if it is damaged or malfunctions.
- Check the cord regularly for any signs of damage.
- This appliance is not intended for commercial or salon use.
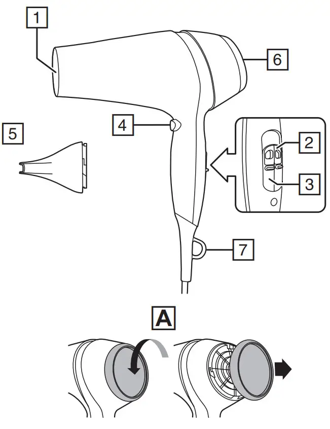
PARTS
- Grille
- Heat selector switch (
,
,
) - Speed selector switch (0,
,
) - Cool shot
- Concentrator
- Inlet grille
- Hang up loop
INSTRUCTIONS FOR USE
- Wash and condition your hair as normal.
- Squeeze out excess moisture with a towel and comb through.
Hairsprays contain flammable material – do not use while using this product. - Attach the concentrators or diffuser by fitting it to the front of the hairdryer and twisting clockwise to lock it.
- Plug the product into the main power supply.
- Switch your hair dryer on and select the desired speed setting (low
or high
) using the speed selector switch. - Select the desired heat setting (low
, medium
, or high
) using the heat selector switch. - After use, turn the appliance off and unplug it.
- Let the appliance cool down before cleaning or storing away.
TIPS
- For fast drying use the high heat / high-speed function.
- To create smooth styles use the concentrator and a round hairbrush (not included) whilst drying.
- To set your style, press the cool shot button whilst styling.
CLEANING AND MAINTENANCE
- Unplug the appliance and allow it to cool.
- To maintain peak product performance and to prolong motor life, it is important to regularly remove any dust and dirt from the inlet grille.
- Remove the grille as shown (FIG A), clean with a cloth or soft brush, then replace it.
RECYCLING
To avoid environmental and health problems due to hazardous substances, appliances, and rechargeable and non-rechargeable batteries marked with one of these symbols must not be disposed of with unsorted municipal waste. Always dispose of electrical and electronic products and, where applicable, rechargeable and non-rechargeable batteries, at an appropriate official recycling/ collection point.
Ref. No. D5710
Type No. D12A
21/INT/ D5710 T22-7002094 Version 04 /21
Remington® is a Registered Trade Mark of Spectrum Brands, Inc.,
or one of its subsidiaries
© 2021 Spectrum Brands, Inc.
Do not use this appliance near bathtubs, showers, basins, or other vessels containing water.


















