EP24558US Coffee Maker with Grinder

User Manual
THIS INSTRUCTION BOOKLET CONTAINS IMPORTANT SAFETY INFORMATION. PLEASE READ AND KEEP FOR FUTURE REFERENCE.
Please give us a chance to make it right and do better!
Contact our friendly customer service department for help first. Replacements for missing or damaged parts will be shipped ASAP!
Follow Costway
Visit us: www.costway.com
Contact Us!
Do NOT return this item.
Contact our friendly customer service department for help first.
E-mail
US: [email protected]
UK: [email protected]
Before You Start
- Please read all instructions carefully.
- Retain instructions for future reference.
- Separate and count all parts and hardware.
- Read through each step carefully and follow the proper order.
- We recommend that, where possible, all items are assembled near to the area in which they will be placed in use, to avoid moving the product unnecessarily once assembled.
- Always place the product on a flat, steady and stable surface.
- Keep all small parts and packaging materials for this product away from babies and children as they potentially pose a serious choking hazard.
IMPORTANT SAFEGUARDS
Before using the electrical appliance, the following basic precautions should always be followed including the following:
- Read all instructions.
- Before using check that the voltage of wall outlet corresponds to rated voltage marked on the rating plate.
- This appliance has been incorporated with a grounded plug. Please ensure the wall outlet in your house is well earthed.
- To protect against fire, electric shock and injury to persons do not immerse main parts of the product, cord, plug, in water or other liquid.
- The appliance must not be immersed.
- Remove plug from wall outlet before cleaning and when not in use. Allow appliance cool down completely before taking off, attaching components or before cleaning.
- Do not operate any appliance with a damaged cord or plug or after the appliance malfunctions, or is dropped or damaged in any manner. Return appliance to the nearest authorized service facility for examination, repair or electrical or mechanical adjustment.
- The use of accessory attachments not recommended by the appliance manufacturer may result in fire, electric shock or injury to persons.
- Place appliance on flat surface or table, do not hang power cord over the edge of table or counter.
- Ensure the power cord do not touch hot surface of appliance.
- Do not place the coffee maker on hot surface or beside fire in order to avoid to be damaged.
- To disconnect, remove plug from wall outlet. Always hold the plug. But never pull the cord.
- Do not use appliance for other than intended use and place it in a dry environment.
- Be careful not to get burned by the steam.
- Do not touch the hot surface of appliance (such as steam wand, and the steel mesh just boiling). Use handle or knobs.
- Do not let the coffee machine operate without water.
- DO NOT remove the metal filter holder while brewing coffee. Please remove the metal filter holder to make additional coffee after finish brewing for more than 10 seconds. Caution should also be taken while removing the metal filter holder since the metal parts will be hot. Please make sure to hold it by the handle and to use the filter retention clip to dispose the grounds. Caution should be taken when moving unit with hot liquids.
- Connect plug to wall outlet before using and turn any switch off before plug is removed from wall outlet.
- This appliance can be used by children aged from 8 years and above if they have been given supervision or instruction concerning use of the appliance in a safe way and if they understand the hazards involved. Cleaning and user maintenance shall not be made by children unless they are older than 8 and supervised. Keep the appliance and its cord out of reach of children aged less than 8 years.
- Appliances can be used by persons with reduced physical, sensory or mental capabilities or lack of experience and knowledge if they have been given supervision or instruction concerning use of the appliance in a safe way and understand the hazards involved.
- Children shall not play with the appliance.
- This appliance is intended to be used in household and similar applications such as:
– staff kitchen areas in shops, offices and other working environments;
– farm houses;
– by clients in hotels, motels and other residential type environments;
– bed and breakfast type environments. - Do not use outdoors.
- Save these instructions.
Warning: To prevent hot steam and hot water from scalding the body or causing other personal injury, and also to prevent damage to the product, do not remove the water tank or filter holder assembly when you use this coffee machine to brew coffee or froth milk. Before removing filter holder assembly to brew another cup of coffee, make sure the coffee machine is in standby condition. If you want to add more water into the water tank, press the power button and the four indicators extinguish to ensure that the power of the product is in off condition.
Warning: Do not touch the top cover of the machine after the machine has been working for a long time so as to prevent burns.
KNOW YOUR COFFEE MAKER


CONTROL PANEL

Indicators
Each button has a light indicator around, and there is a triangular light indicator on the fixing ring of steam knob.
Preheating: Press the Power button once, the machine enters the preheating state, and the four indicators flash white in the form of a breathing lamp. The machine need around 10S to preheat.
Standby: After the machine is preheated, it enters the standby state. The four indicators are always illuminated white.
Make hot water: In the standby state, press the Hot water button once to enter the hot water function. At this time, the Power button indicator becomes constant white, the hot water indicator flashes white in the form of a breathing lamp, Single cup and Double cup indicators extinguish . Press the Hot water button again, the hot water function stops, and the machine enters the standby state.
Brew single cup coffee: In the standby state, press the Single cup button once to enter the function of brewing a single cup of coffee. At this time, the Power button indicator is always white, and the single cup indicator flashes white in the form of a breathing lamp, hot water indicator and double cup indicator go out. Pressing the Single cup button once again or waiting for the ending of single cup function , the machine enters the standby state.
Brew double cup coffee: In the standby state, press the Double cup button once to enter the function of brewing double cup coffee. At this time, the Power button indicator is always white, the double cup indicator light flashes white in the form of breathing lamp, hot water indicator and single cup indicator go out. Pressing the Double cup button again or waiting for the ending of double cup coffee function , and the machine enters the standby state.
Steam preheating: In the standby state, turn the steam knob to the preheating position . At this time, the Power indicator is always white, the hot water, single cup and double cup indicators are off, and the steam indicator (triangle) flashes white. At this time, the steam function is preheating, and the steam indicator is always white, and the steam function is preheated.
Make steam: When the steam is preheated, turn steam knob to the Max position, at this time, the Power indicator is always white, the hot water, single cup and double cup indicators are off, and the steam indicator flashes white in the form of a breathing lamp, at this time the steam function is in progress, turn the steam knob to the preheating position again, the steam indicator returns to the normal white, the steam function is finished, select the steam knob to the “off” position, the machine enters cooling state, at this time the steam indicator is extinguished. Until the machine is cooled down completely, the machine enters the standby state.
Grinding coffee beans: Press power button, grinding indicator is lighted white, indicating unit enters grinding beans preparation state, at this time attach pressurized filter holder into filter holder bracket and push it forwards to grind coffee beans, during grinding the grinding indicator flashes white; when grinder is not fit in place, grinding indicator flashes red, at this time coffee beans can not be ground until grinder is fit in place.
Sleep mode: When the machine is not operating for 20 minutes in the standby state, it will automatically enter the sleep state. At this time, three indicators except the Power button indicator are off, the Power button indicator flashes red ten times, the buzzer rings two times. Pressing any button in sleep mode activates the machine to re-enter the preheating state.
BEFORE THE FIRST USE
- Check and ensure all accessories no broken.
- Fill appropriate water into water tank.
- Insert pressurized filter holder into filter holder snap position of the machine, turn it anticlockwise to lock tightly.
- Place a container on the drip plate, connect the machine into power source, steam knob shall be in off position, press the Power button, the machine enters the preheating state, after finishing preheating, the machine enters the standby state.
- Press the Hot water button to dispense proper hot water, then press Hot water button to stop hot water function, press Single or Double cup button to clean tubing system of machine.
- Clean all detachable parts by warm water.
Choose appropriate ground coffee
The coffee should be freshly ground and subjected to deep roasting. You may need to use French or Italian roasted coffee powder for espresso. Pre-ground coffee powder can only remain scented for 7 to 8 days unless it is stored in a sealed container and placed in a cool place. Do not store coffee in the refrigerator or freezer. It is recommended to grind all coffee beans into powder before use. The fragrance of the coffee beans stored in the sealed container can be maintained for 4 weeks.
If you are grinding coffee beans for yourself, this step is a key step in the espresso making process and requires more practice. The coffee beans must be finely ground, and the adjustment knob can adjust the coarseness & fineness of ground coffee. The preset intermediate grind setting is optimal when the machine leaves the factory. When coffee ground by cutting blade becomes coarser during use, the adjustment knob can be properly rotated to make the ground coffee finer.
- The ground coffee should look like salt.
- If the powder is too fine, even if it is tamped it may cause the coffee to flow out intermittently. These ground coffee feels like flour
- If the powder is too thick, the water will flow too fast, which will hinder the extraction of its rich aroma.
In order to get a uniform, consistent coffee, be sure to use a high quality coffee grinder.
Operation instruction
1. Fill appropriate water into water tank, water level can’t exceed MAX.
2. Connect the machine into power source, press the Power button (steam knob needs to be turned off), the machine starts to preheat, the indicator flashes until the machine finishes preheating, the power indicator becomes always on, and it enters the standby state.
3. Grinding coffee beans: Press power button, attach grinder to unit, grinding indicator is lighted white, fill bean container with appropriate coffee beans, turn adjustment knob to the proper setting, then attach pressurized filter holder into filter holder bracket and slightly push it forwards to grind coffee beans until desired amount of ground coffee is reached.
Tip:
- It is recommended to make delicious coffee at grind settings 7-10 and the continuous working time of grinder should not be more than 1min each time.
- If pressure gauge indicates too low pressure during brewing, you can turn the grind knob to a finer setting and then try to grind the beans to brew the coffee. (see below figure)
- If pressure gauge indicates too high pressure during brewing so that coffee can’t be brewed or coffee is over-extracted, you can turn the grind knob to a coarser setting, and try to grind beans to brew coffee.(see below figure)

4. Make hot water: Press Hot water button, the Hot water button indicator flashes in the form of a breathing light; hot water flows out from hot water pipe, after dispensing 200ml hot water, the machine automatically stops and returns to standby mode. To stop the hot water function anytime, press the Hot water button again.
5. Brew single cup of coffee: Attach 1- cup filter to the filter holder, load 13-15 grams of coffee powder into filter using a tamper and press the coffee powder with a force of 10-15Kg, then align the filter holder assembly with the filter holder bracket buckle position and turn it counterclockwise into the filter holder bracket, put a coffee cup on the drip plate under the filter holder. Press the Single cup button in the standby state, the Single cup button indicator flashes in the form of a breathing light; the machine starts to brew coffee, and the pressure gauge will display pressure parameters in brewing process, when the coffee is finished, the pressure gauge is reset, all indicators on the panel are solid on, and machine restores to the standby mode.
6. Brew double cup of coffee: Attach 2- cup filter to the filter holder, load 20-22 grams of coffee powder into filter using a tamper and press the coffee powder with a force of 10-15Kg, then align the filter holder assembly with the filter holder bracket buckle position and turn it counterclockwise into the filter holder bracket, put a coffee cup on the drip plate under the filter holder. Press the Double cup button in the standby state, the Double cup button indicator flashes in the form of a breathing light; the machine starts to brew coffee, and the pressure gauge will display pressure parameters in brewing process, when the coffee is finished, the pressure gauge is reset, all indicators on the panel are solid on, and machine restores to the standby mode. Recommendation: To make a delicious hot espresso, we recommend that you preheat the appliance before making the coffee, including the filter holder, filter and cup, so that the coffee will not be affected by the cold appliance
7. Produce steam to froth milk: Turn steam knob from off to preheat position, at this time the machine starts steam preheating, steam indicator flashes, when reaching steam preheating temperature, indicator keeps constant on, turn steam knob from preheat to Max position, the machine starts to produce steam, steam indicator flashes in the form of a breathing light during producing steam; To stop steam function, turn steam knob from MAX to preheat position to stop producing steam. Turn steam knob from preheat to off position, the steam indicator light is extinguished, the machine will cool down, when all indicators on the panel become constant on, the machine enters the standby mode.
Recommendation: The machine shall need 1 minute rest after performing steam function for continuous 10 minutes, so as to prevent the machine from overheating. Warning: When the machine is cooling down, the relief port in the drip plate will release some steam, please don’t approach.
8. Cup volume adjustment: Press and hold Single cup button and Double cup button at the same time for 5S, the machine enters customized cup volume status (single indicator and double indicator flash at the same time), press single button at this time (single indicator flashes, double indicator illuminates) to memorize single cup volume while start to dispense hot water, press Single cup button again (single indicator illuminates) to stop dispensing water and finish memorizing. After the memorization is completed, the machine resumes customized cup volume status; Set double cup volume in same method as above. For single cup amount of water is 20-60ml, double cup is 60-100ml)
Note:
- Steam knob shall be in off position during preheating when brewing coffee or Making hot water.
- Single cup or double cup coffee can be brewed only after finishing preheating.
- You can press single button or double button to stop during coffee brewing.
- When water tank lacks of water( less than MIN level), the unit will alarm, indicator flashes, after refilling water, it will turn to normal condition.
- If you want to return cup volume to the defaulted factory setting, just press and hold the corresponding cup button for 5s while button indicator flashes twice.
- After finish frothing milk, the steam pipe should be wiped with a moist cloth in time, and steam shall be produced for a length of time to prevent the milk from clogging the steam nozzle. In case of steam pipe blockage, clean needle can be used to dredge steam pipe hole.
- After finish making steam, hot water and brewing coffee functions cannot be performed during machine cooling stage until machine enters standby mode.
- When the red float of the drip tray rises above the drip plate, it means that the drip tray is near full water, please pour water in time.
CLEANING AND MAINTENANCE
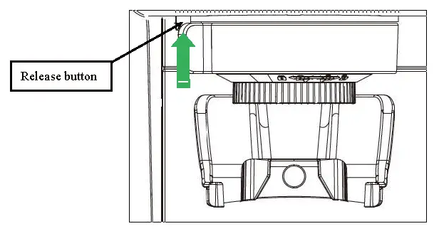
Tip: The grinder of this coffee machine is detachable. The detailed detaching method is shown below:
Detaching method: Press release button as shown, turn the adjustment knob to the maximum setting, and then turn it in the detaching direction shown in the figure to remove the grinder vertically.
Attaching method: Align the bump position of grinder with the slot position of unit, attach grinder into unit vertically. Turn the adjustment knob to the finest setting and turn the grinder in the attaching direction until a click sound is heard.
Each time the grinder is used, the remaining coffee beans can be removed and the residual coffee powder in the grinder can be cleaned with the brush.


- Cut off power source and let the coffee maker cool down completely before cleaning.
- Clean housing of coffee maker with moisture-proof sponge often and clean water tank, drip tray and removable shelf regularly then dry them.
Note: Do not clean with alcohol or solvent cleanser. Never immerse the housing in water for cleaning. - Detach the metal filter holder by turning it clockwise, get rid of coffee residue inside, then you can clean it with cleanser, but at last you must rinse with clear water. Do not wash the metal filter holder in a dishwasher.
- Clean all the attachments in the water and dry thoroughly.
Note: Removable water tanks, bean box, grinder, and filter holder bracket cannot be washed in the dishwasher.
CLEANING MINERAL DEPOSITS
To keep your coffee maker operating efficiently, you should clean away the mineral deposits left by the water regularly according to the water quality in your area and the frequency of use of the appliance, the detail is as follows:
- Fill the water tank with water and descaler to the MAX level in the gauge of coffee maker (the scale of water and descaler is 4:1, the detail refers to the instruction of descaler. Please use “household descaler”, you can use the citric acid instead of the descaler (the one hundred parts of water and three parts of citric acid).
- Press the power button, the unit enters preheating, after finish preheating, the indicator becomes solid on
- Make sure the filter holder locks in place.
- Place a large enough container (approx. 2L) to receive water under the filter holder outlet, hot water pipe nozzle and steam nozzle
- Press and hold the Hot water button for 5s, the machine will enter the automatic cleaning function, then turn the steam knob to the Max position. During the automatic cleaning process, the descaler solution will flow out from the filter holder, hot water pipe and steam pipe respectively, after 10-15 minutes, the cleaning function is completed, the machine enters the power-off state.
- After removing scale, fill clear water into water tank, repeat step 4 until descaler solution is cleaned up.
- After cleaning, clean water tank and drip tray.
Note:
- During automatic cleaning process, a suitable container (about 2L) shall be placed at the filter holder outlet and hot water outlet to receive water.
- During cleaning , the pump will start and stop intermittently. This is a normal phenomenon.
- During cleaning, the steam knob must be turned on. If the automatic cleaning function is switched to clean steam tube, the machine will alarm once the steam knob is turned off. At this time, the steam knob shall be turned on and the water will flow out of the steam tube.
- It is recommended that the user shall perform descaling operation after 1000 working cycles . If the total working cycle of the machine reaches 1000 cycles, there will be a reminder signal once the machine is turned on ( four indicators on the panel will flash red twice), which reminds user to perform descaling.
TROUBLE SHOOTING


ENVIRONMENT FRIENDLY DISPOSAL
You can help protect the environment!
Please remember to respect the local regulations: hand in the non-working electrical equipment’s to an appropriate waste disposal center.
Welcome to visit our website and purchase our quality products!
With your inspiring rating, COSTWAY will be more consistent to offer you
EASY SHOPPING EXPERIENCE, GOOD PRODUCTS and EFFICIENT SERVICE!
US office: Fontana, California
UK office: Ipswich

We would like to extend our heartfelt thanks to all of our customers for taking me to assemble this product and giving us valuable feedbacks.



















