
Nothing but HEAVY DUTY™.

M12 CCS44
User Manual
M12 CCS44 Portable Circular Saw
![]() | ![]() |
![]() | ![]() |
![]() | ![]() |

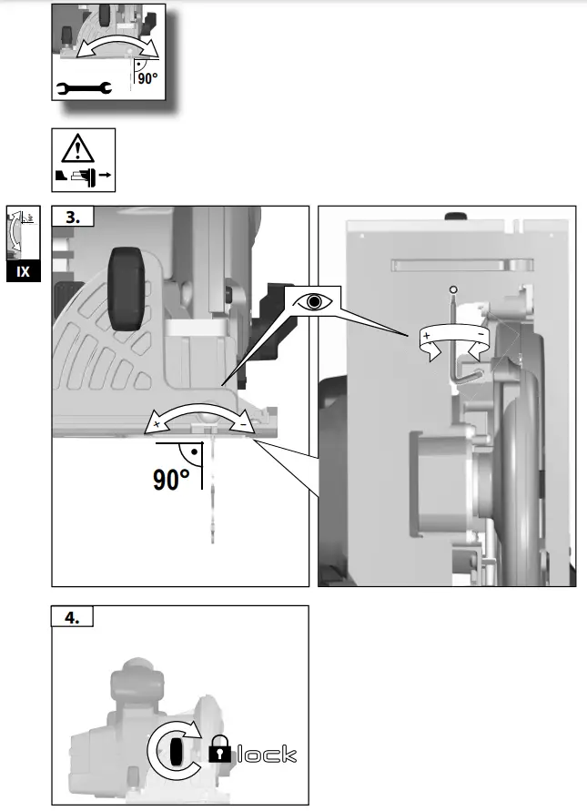
For safety reasons this power tool is fi tted with a switch lock and the On-/Off switch cannot be locked in the “On” position

Adjust the cutting depth to the thickness of the workpiece. Less than a full tooth of the blade teeth should be visible below the workpiece.
Carry out a test cut .
![]() | ![]() |
![]() | ![]() |
![]() | ![]() |

If a correction of the 90° angle of the guide plate to the saw blade is necessary, use the correct screw.

![]() | ![]() |
TECHNICAL DATA
| Circular saw | M12 CCS44 |
| No-load speed | 3600 min-1 |
| Saw blade diameter x hole diameter Saw blade thickness Max. cutting depth at 0°/45°/50 Battery voltage Weight according to EPTA-Procedure 01/2003 (2,0 Ah) | 140 x 20 mm 1,00 mm 44 / 33 / 27 mm 12 V 2,7 kg |
| Noise information Measured values determined according to EN 60745. Typically, the A-weighted noise levels of the tool are: Sound pressure level (Uncertainty K=3dB(A)) Sound power level (Uncertainty K=3dB(A)) Wear ear protectors! | 82,0 dB (A) 93,0 dB (A) |
| Vibration information Vibration total values (triaxial vector sum) determined according to EN 60745 | |
| Sawing of wood: Vibration emission value ah, W Uncertainty K= | 1,46 m/S2 1,5 m/s2 |
WARNING!
The vibration emission level given in this information sheet has been measured in accordance with a standardized test given in EN 60745 and may be used to compare one tool with another. It may be used for a preliminary assessment of exposure. The declared vibration emission level represents the main applications of the product. However, if the product is used for different applications, with different accessories, or is poorly maintained, the vibration emission may differ. This may significantly increase the exposure level over the total working period.
An estimation of the level of exposure to vibration should also take into account the times when the product is switched off or when it is running but not actually doing the job. This may significantly reduce the exposure level over the total working period.
Identify additional safety measures, such as maintaining the product and the accessories, keeping the hands warm, and organizing work patterns, to protect the operator from the effects of vibration.
WARNING!
Read all safety warnings and all instructions. Failure to follow the warnings and instructions may result in electric shock, fire, and/or serious injury.
Save all warnings and instructions for future reference.
SAFETY INSTRUCTIONS FOR MANUAL CIRCULAR SAWS
Cutting procedures
a) DANGER: Keep hands away from the cutting area and the blade. Keep your second hand on the auxiliary handle, or motor housing. If both hands are holding the saw, they cannot be cut by the blade.
b) Do not reach underneath the workpiece. The guard cannot protect you from the blade below the workpiece.
c) Adjust the cutting depth to the thickness of the workpiece. Less than a full tooth of the blade teeth should be visible below the workpiece.
d) Never hold pieces being cut in your hands or across your leg. Secure the workpiece to a stable platform. It is important to support the work properly to minimize body exposure, blade binding, or loss of control.
e) Hold the power tool by insulated gripping surfaces only, when performing an operation where the cutting tool may contact hidden wiring. Contact with a “live” wire will also make exposed metal parts of the power tool “live” and could give the operator an electric shock.
f) When ripping, always use a rip fence or straight-edge guide. This improves the accuracy of the cut and reduces the chance of blade binding.
g) Always use blades with the correct size and shape (diamond versus round) of arbor holes. Blades that do not match the mounting hardware of the saw will run eccentrically, causing a loss of control.
h) Never use damaged or incorrect blade washers or bolts. The blade washers and bolts were specially designed for your saw, for optimum performance and safety of operation.
Kickback causes and related warnings:
– kickback is a sudden reaction to a pinched, bound, or misaligned saw blade, causing an uncontrolled saw to lift up and out of the workpiece toward the operator;
– when the blade is pinched or bound tightly by the kerf closing down, the blade stalls, and the motor reaction drives the unit rapidly back toward the operator;
– if the blade becomes twisted or misaligned in the cut, the teeth at the back edge of the blade can dig into the top surface of the wood causing the blade to climb out of the kerf and jump back toward the operator.
Kickback is the result of saw misuse and/or incorrect operating procedures or conditions and can be avoided by taking proper precautions as given below.
a) Maintain a firm grip with both hands on the saw and position your arms to resist kickback forces. Position your body to either side of the blade, but not in line with the blade. Kickback could cause the saw to jump backward, but kickback forces can be controlled by the operator, if proper precautions are taken.
b) When the blade is binding, or when interrupting a cut for any reason, release the trigger and hold the saw motionless in the material until the blade comes to a complete stop. Never attempt to remove the saw from the work or pull the saw backward while the blade is in motion or kickback may occur. Investigate and take corrective actions to eliminate the cause of blade binding.
c) When restarting a saw in the workpiece, center the saw blade in the kerf and check those saw teeth are not engaged in the material. If the saw blade is binding, it may walk up or kick back from the workpiece as the saw is restarted.
d) Support large panels to minimize the risk of blade pinching and kickback. Large panels tend to sag under their own weight. Supports must be placed under the panel on both sides, near the line of cut, and near the edge of the panel.
e) Do not use dull or damaged blades. Unsharpened or improperly set blades produce narrow kerfs causing excessive friction, blade binding, and kickback.
f) Blade depth and bevel adjusting locking levers must be tight and secure before making a cut. If blade adjustment shifts while cutting, it may cause binding and kickback.
g) Use extra caution when sawing into existing walls or other blind areas. The protruding blade may cut objects that can cause kickback.
Lower guard function
a) Check the lower guard for proper closing before each use. Do not operate the saw if the lower guard does not move freely and close instantly. Never clamp or tie the lower guard into the open position. If the saw is accidentally dropped, the lower guard may be bent. Raise the lower guard with the retracting handle and make sure it moves freely and does not touch the blade or any other part, in all angles and depths of the cut.
b) Check the operation of the lower guard spring. If the guard and the spring are not operating properly, they must be serviced before use. The lower guard may operate sluggishly due to damaged parts, gummy deposits, or a build-up of debris.
c) Lower guard may be retracted manually only for special cuts such as “plunge cuts” and “compound cuts”. Raise the lower guard by retracting the handle and as soon as the blade enters the material, the lower guard must be released. For all other sawing, the lower guard should operate automatically.
d) Always observe that the lower guard is covering the blade before placing the saw down on a bench or floor. An unprotected, coasting blade will cause the saw to walk backward, cutting whatever is in its path. Be aware of the time it takes for the blade to stop after the switch is released.
Additional Safety and Working Instructions:
Wear ear protectors. Exposure to noise can cause hearing loss.
Use protective equipment. Always wear safety glasses when working with the machine.
The use of protective clothing is recommended, such as a dust mask, protective gloves, sturdy non-slip footwear, helmet, and ear defenders. The dust produced when using this tool may be harmful to health. Do not inhale the dust. Use a dust absorption system and wear a suitable dust protection mask. Remove deposited dust thoroughly, e.g. with a vacuum cleaner.
Do not use saw blades not corresponding to the key data given in these instructions for use.
Do not fix the on/off switch in the „on“ position when using the saw hand-held.
Please do not use abrasion disks in this machine! Adapt the feed speed to avoid overheating the blade tips and to avoid melting plastic materials during cutting.
Remove the battery pack before starting any work on the product.
SPECIFIED CONDITIONS OF USE
This electronic circular saw can cut lengthways and miter accurately in wood.
Do not use this product in any way other than those stated in the intended use.
ELECTRIC BRAKE
The electric brake engages when the trigger is released, causing the blade to stop and allowing you to proceed with your work. Generally, the saw blade stops within two seconds. However, there may be a delay between the time you release the trigger and when the brake engages.
Occasionally the brake may miss completely. If the brake miss frequently, the saw needs servicing by an authorized Milwaukee service facility. You must always wait for the blade to stop completely before removing the saw from the workpiece.
BATTERIES
Battery packs that have not been used for some time should be recharged before use.
Temperatures in excess of 50°C (122°F) reduce the performance of the battery pack. Avoid extended exposure to heat or sunshine (risk of overheating).
The contacts of chargers and battery packs must be kept clean.
For an optimum lifetime, the battery packs have to be fully charged, after use.
To obtain the longest possible battery life remove the battery pack from the charger once it is fully charged.
For battery pack storage longer than 30 days:
Store the battery pack where the temperature is below 27°C and away from moisture. Store the battery packs in a 30% – 50% charged condition. Every six months of storage, charge the pack as normal. Do not dispose of used battery packs in the household refuse or by burning them. Milwaukee Distributors off er to retrieve old batteries to protect our environment. Do not store the battery pack together with metal objects (short circuit risk). Use only System C12 chargers for charging System C12 battery packs. Do not use battery packs from other systems.
Never break open battery packs and chargers and store only in dry rooms. Keep dry at all times.
Battery acid may leak from damaged batteries under extreme load or extreme temperatures. In case of contact with the battery, acid washes it off immediately with soap and water. In case of eye contact rinse thoroughly for at least 10 minutes and immediately seek medical attention.
No metal parts must be allowed to enter the battery section of the charger (short circuit risk).
BATTERY PACK PROTECTION
In extremely high torque, binding, stalling, and short circuit situations that cause a high current draw, the tool will stop for about 2 seconds, and then the tool will turn OFF. To
reset, release the trigger. Under extreme circumstances, the internal temperature of the battery could become too high. If this happens, the battery will shut down. Place the battery on the charger to charge and reset it.
MAINTENANCE
Be sure to disconnect the tool from the power supply before attaching or removing the saw blade.
Clean the tool and guarding system with a dry cloth. Certain cleaning agents and solvents are harmful to plastics and other insulated parts.
Keep the apparatus handle clean, dry, and free of spilled oil or grease.
Check the function of guards.
Regular maintenance and cleaning provide for long service life and safe handling. The ventilation slots of the machine must be kept clear at all times.
Use only Milwaukee accessories and Milwaukee spare parts. Should components need to be replaced which have not been described, please contact one of our Milwaukee service agents with machine type printed as well as the six-digit No. on the label and order the drawing from your local service agents.
SYMBOLS
| CAUTION! WARNING! DANGER! | |
| Please read the instructions carefully before starting the machine. | |
| Always wear goggles when using the machine. | |
![]() | Remove the battery pack before starting any work on the machine. |
| Accessory – Not included in standard equipment, available as an accessory. | |
![]() | Do not dispose of electric tools together with household waste material. Electric tools and electronic equipment that have reached the end of their life must be collected separately and returned to an environmentally compatible recycling facility. Check with your local authority or retailer for recycling advice and collection point. |

































