PHILIPS TAN1207 1000 Series Headphones

Important safety instructions
Hearing Safety

![]() | Danger
|
Be sure to observe the following guidelines when using your headphone.
- Listen at reasonable volumes for reasonable periods of time.
- Be careful not to adjust the volume continuously upwards as your hearing adapts.
- Do not turn up the volume so high that you can’t hear what’s around you.
- You should use caution or temporarily discontinue use in potentially hazardous situations.
- Excessive sound pressure from earphones and headphones can cause hearing loss.
- Using headphones with both ears covered while driving is not recommended and may be illegal in some areas while driving.
- For your safety, avoid distractions from music or phone calls while in traffic or other potentially dangerous environments.
General information
To avoid damage or malfunction:
![]() | Caution
|
About operating and storage temperatures and humidity
- Store in a place where temperature is between -20°C (4°F) and 50°C (122 °F) (up to 90% relative humidity.
- Operate in a place where temperture is between 0°C (32°F) and 45°C (113 °F) (up to 90% relative humidity.
- Battery life may be shorter in high or low temperature conditions.
Your Bluetooth in-ear headphones
Congratulations on your purchase, and welcome to Philips! To fully benefit from the support that Philips offers, register your product at www.philips.com/welcome.
With this Philips in-ear headphones, you can:
- enjoy convenient wireless handsfree calls;
- enjoy and control wireless music;
- switch between calls and music.
What’s in the box
|
|
|
|
|
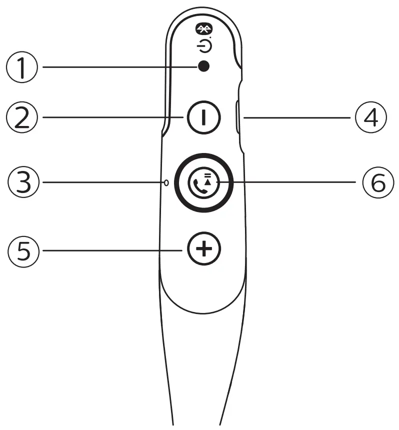
Overview of your Bluetooth wireless headphone

①
(Power On/ Off/ Pairing)
② Previous/Volume down
③ LED indicator
④ Charging slot
⑤ Next/ Volume up
⑥ Music/call control
Get started
Charge the battery
![]() | Note
|
Connect the supplied USB charging cable to the charging slot on the headphones and the charger/USB portof a computer.
LED turns white during charging and turns off when the headphones is fullycharged.
![]() | Tip
|
Pair the headphones with your mobile phone
Before you use the headphones with your mobile phone for the first time, pair it with a mobile phone. A successful pairing establishes a unique encrypted link between the headphones and mobile phone. The headphones store the last 4 devices in the memory . If you try to pair more than 4 devices , the earliest paired device is replaced by the new one.
- Make sure that the headphones are fully charged and turned off.
- Press and hold the on/off button (>6s), blue and white LED flashes alternately which means the headphones enter Bluetooth pairing mode. The headphones remain in pairing mode for 5 minutes.
- Make sure that the mobile phone is turned on and its Bluetooth feature is activated.
- Pair the headphones with the mobile phone. For detailed information, refer to the user manual of your mobile phone.
![]() | Tip
|
Use your headphone
Connect the headphone to your Bluetooth device
- Turn on your mobile phone/ Bluetooth device.
- Press and hold the on/off button (>2s) to turn the headphones on.
The headphones are reconnected to the last connected device automatically. If the last one is not available, the headphones try to reconnect to the second last connected device.
![]() | Tip
|
Manage your calls and music
On/off
| Task | Button | Operation |
| Power on | Press and hold (>2s) | |
| Power off | Press and hold (>4s) |
Music control
| Task | Button | Operation |
| Play or pause music. | Press once | |
| Adjust volume | +/- | Press once |
| Next track | + | Press and hold (>1s) |
| Previous track | – | Press and hold (>1s) |
Call control
| Task | Button | Operation |
| Pick up/hang up a call. | Press once | |
| Reject a call | Press and hold (>2s) |
Trigger voice assistant (Android/iOS)
| Task | Button | Operation |
| Trigger voice assistant | Press and hold (>2s) |
Factory Reset
| Task | Button | Operation |
| Factory reset | play and pause | Inpairing state, quickly click the play pause button 6 times |
Summary of LED indicator
| Headphones status | Indicator |
| The headphones are connected to a mobile phone. | The blue LED flashes for every 5 seconds. |
| The headphones are disconnected to a mobile phone | The blue LED flashes two times every 4 seconds. |
| The headphones are ready for pairing. | The LED flashes blue and white alternatively for 5 minutes. |
| Low battery level. | The white LED flashes three times every 10 seconds. |
| Charging | The white LED turns on until battery is fully charged. |
Technical data
- Music time: 15 hours
Talk time: 5 hours - Standby time: 60 hours
Normal time for a full charge: 2 hours - Battery: Rechargeable lithium polymer battery (150 mAh)
- Bluetooth version: 5.0 or above
- Compatible Bluetooth profiles:
- Bluetooth profile: HFP, A2DP,AVRCP
- Operating range: Up to 10 meters (33 feet)
- Speaker driver: 12.2 mm
- Transmitter power:< 10 dBm
- Frequency response: 20 – 20kHz
- Impedance: 32 ohm
- Sensitivity: 108 db/lmW/1000Hz
- Distortion: <3%@lkHz THD
- Maximum power input: 10 mW
- USB-C port for charging
- Low battery warning: available
![]() | Note
|
Notice
Declaration of conformity
Hereby, MMD Hong Kong Holding Limited declares that this product is in compliance with the essential requirements and other relevant provisions of Directive 2014/53/EU. You can find the Declaration of Conformity on www.p4c.philips.com.
Disposal of your old product and battery
![]() | Your product is designed and manufactured with high quality materials and components, which can be recycled and reused. |
![]() | This -symbol on a product means that the product is covered by European Directive 2012/19/EU. |
![]() | This symbol means that the product contains a built-in rechargeable battery covered by European Directive 2013/56/EU which cannot be disposed of with normal household waste. We strongly advise you to take your product to an official collection point or a Philips service centre to have a professional remove the rechargeable battery. Inform yourself about the local separate collection system for electrical and electronic products and rechargeable batteries. Follow local rules and never dispose of the product and rechargeable batteries with normal household waste. Correct disposal of old products and rechargeable batteries helps prevent negative consequences for the environment and human health. |
Remove the integrated battery
If there is no collection/recycling system for electronic products in your country, you can protect the environment by removing and recycling the battery before disposing the headphones.
- Make sure the headphone is disconnected from the charging case before removing the battery.

Compliance with EMF
This product complies with all applicable standards and regulations regarding exposure to electromagnetic fields.
Environmental information
All unnecessary packaging has been omitted. We have tried to make the packaging easy to separate into three materials: cardboard (box), polystyrene foam (buffer) and polyethylene (bags, protective foam sheet.) Your system consists of materials which can be recycled and reused if disassembled by a specialized company. Please observe the local regulations regarding the disposal of packaging materials, exhausted batteries and old equipment.
Notice of compliance
The device complies with the FCC rules, Part 15. Operation is subject to the following two conditions:
- This device may not cause harmful interference, and
- This device must accept any interference received, including interference that may cause undesired operation.
FCC rules
This equipment has been tested and found to comply with the limits for a Class B digital device, pursuant to part 15 of the FCC Rules. These limits are designed to provide reasonable protection against harmful interference in a residential installation. This equipment generates, uses and can radiate radio frequency energy and, if not installed and used in accordance with the instruction manual, may cause harmful interference to radio communications.
However, there is no guarantee that interference will not occur in a particular installation. If this equipment does cause harmful interference to radio or television reception, which can be determined by turning the equipment off and on, the user is encouraged to try to correct the interference by one or more of the following measures:
- Reorient or relocate the receiving antenna.
- Increase the separation between equipment and receiver
- Connect the equipment into an outlet on a circuit different from that to which the receiver is connected.
- Consult the dealer or an experienced radio/TV technician for help.
FCC Radiation Exposure Statement:
This equipment complies with FCC radiation exposure limits set forth for an uncontrolled environment.
This transmitter must not be co-located or operating in conjunction with any other antenna or transmitter.
Caution: The user is cautioned that changes or modifications not expressly approved by the party responsible for compliance could void the user’s authority to operate the equipment.
Canada:
This device contains licence-exempt transmitter(s)/receiver(s) that comply with Innovation, Science and Economic Development Canada’s license exempt RSS(s). Operation is subject to the following two conditions: (1) this device may not cause harmful interference, and (2) This device must accept any interference received, including interference
that may cause undesired operation of the device.
CAN ICES-003(8)/NMB-003(8)
IC Radiation Exposure Statement:
This equipment complies with Canada radiation exposure limits set forth for uncontrolled environments.
This transmitter must not be co-located or operating in conjunction with any other antenna or transmitter.
Trademarks
Bluetooth
The Bluetooth® word mark and logos are registered trademarks owned by Bluetooth SIG, Inc. and any use of such marks by MMD Hong Kong Holding Limited is under license. Other trademarks and trade names are those of their respective owners.
Siri
Siri is a trademark of Apple Inc., registered in the U.S. and other countries.
Frequently asked questions
The battery level is low. Charge the headphone.
The Bluetooth is disabled. Enable the Bluetooth feature on your Bluetooth device and turn on the Bluetooth device before you turn on the headphone.
The Bluetooth device is out of range.
Reduce the distance between your headset and Bluetooth device, or remove obstacles between them.
Charge your headset.
Power off the headset.
Press and hold “Power on/off” button (>4s) to enter Bluetooth pairing mode
Power on the headset.
Press and hold vol+ and vol- button together for more than 4 second.
For further support, visit www.philips.com/support

2022©MMD Hong Kong Holding Limited. All rights reserved.
Specifications are subject to change without notice.
Philips and the Philips Shield Emblem are registered trademarks of Koninklijke Philips N.V. and are used under license. This product has been manufactured by and is sold under the responsibility of MMD Hong Kong Holding Limited or one of its affiliates, and MMD Hong Kong Holding Limited is the warrantor in relation to this product. All other company and product names may be trademarks of their respective companies with which they are associated.


Philips Bluetooth in-ear headphones Philips TAN1207
Replaceable
USB-C charging cable (for charging only)
Quick start guide
Global Warranty























