100 ICW5 Fire-Rated Back Can for Built-In Speakers
User Manual
ELECTRA IC 1002, 300 ICW 4, 300 ICW 6, 300 IW 6, 100 ICW 5, 100 ICW 6, 100 IC 6ST, 100 ICW 8, 100 IW 6
Kit contents:

A – 1 x Fire-rated backcan
B – 2 x cable glands
INSTALLATION IN A WALL OR CEILING:
- Decide on the speaker location.
- Route the cables to the chosen location.
- Fit the cable gland into the opening provided.
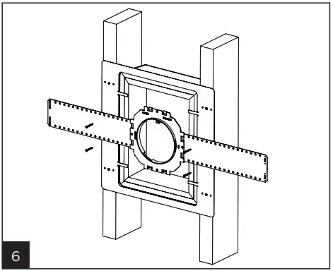
NOTE: A second cable gland is provided, to route the amplified audio signal to other speakers. A second removable knockout is provided opposite the first one. Knock the removable part out to make an opening. - Fix the fire-rated back on the studs or joists, using the pre-drilled holes on the side flanges, using at least 4 screws, 4mm diameter and 3cm long. Use one screw on each corner.

- Pass the cable through the gland and the fire-rated backcan. Leave a sufficient length to connect the cable to the speaker.
- Ensure that you have the pre-fitting kit to match the model of the Focal speaker to be fitted. Affix the pre-fitting kit to the fire-rated backcan, positioning it at the exact future location of the speaker (refer to the speaker manual). Insert 4 plasterboard screws into the side flanges of the fire-rated back, assembling the tabs on the pre-fitting kit and the fire-rated backcan to the studs or joists

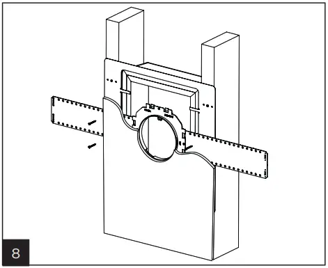
- Cut out an opening on the plasterboard to correspond to the internal dimensions of the pre-fitting kit frame.
- Then fix the plasterboard so that the opening is aligned with the pre-fitting frame.

- Refer to the speaker user instructions to finish the installation.
Focal-JMlab®
– 108, avenue de l’Avenir
– ZI Molina la Chazotte
– 42350 La Talaudière – France
www.focal.com
Tel. (+33) 04 77 43 57 00
SCAA-180122/1 – CODO1563





















