EGLO 39953A Arenales Pendant Light

SAFETY PRECAUTIONS
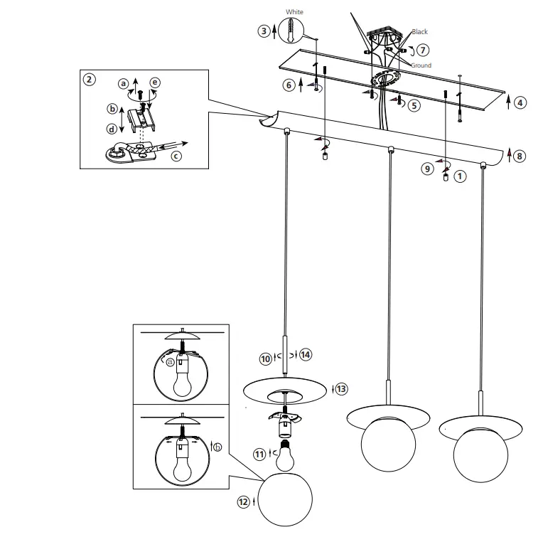
- Turn off electrical power at breaker panel before starting installation of light fixture (see fig. A)
- This product must be installed in accordance with the applicable installation code by a person familiar with the construction and operation of the product and the hazards involved.
NOTE: product may not look exactly as shown in figures.
ON/OFF


INSTRUCTIONS

HEIGHT ADJUSTMENT:
Always keep the fiberglass sleeving between the strain relief and the cord to protect the cord from damage.
CAUTION:
Minimum cord length between the canopy and luminaire frame 100mm (4”).
Imported by
- Eglo Canada Inc.
- Eglo USA Inc




















