polk Floor-Standing Loudspeaker Center
Expect Great Sound — The Legend Legacy
Thank you for choosing the Polk Legend Series loudspeakers. With sound that virtually transports the listener to the scene of the recorded performance, the Legend Series offers great Polk sound housed in bold, American design. Listen to music with crisp, life-like detail, smooth and natural midrange, and authoritative, dynamic bass — even during extended listening at performance levels. Dive into your music collection and bring the live show home, and enjoy spectacular home theater entertainment. With its American modern styling, each speaker in the Legend Series features gorgeous curves and aggressive accents that elevate the décor of your room. Pure and simple, the Polk Legend Series is engineered and designed with your
entertainment in mind.
Having built a reputation as the makers of great sound for more than 45 years, Polk Audio takes pride in superior sound and build quality, which features many patented and awardwinning audio innovations. For Polk, building audio products isn’t just a job — it’s a passion to deliver great sound that’s accessible for everyone!
Technical Assistance or Service
If anything is missing or damaged, or if your speaker fails to operate, notify Polk Audio Customer Service immediately at 800-377-7655. If you experience difficulty after following the directions to connect your speakers outlined in this manual, please double-check all wire connections. Should you isolate the problem to the speaker, contact the authorized Polk Audio dealer where you made your purchase, or contact Polk Audio Customer Service at 800-377-7655 or via email at polkcs@ polkaudio.com. Outside the US & Canada, call +1 410-358-3600.
WARNING: Listen Carefully
Polk Audio loudspeakers are capable of playing at extremely high volume levels, which could cause serious or permanent hearing damage. Polk Audio, Inc. accepts no liability for hearing loss, bodily injury or property damage resulting from the misuse of its products. Keep these guidelines in mind and always use good judgment when controlling volume:
Limit prolonged exposure to volume levels that exceed 85 decibels (dB). For more information about safe volume levels, take a look at the Occupational Health and Safety Administration (OSHA) guidelines at http://www.osha.gov/
Product Disposal
Certain international, national and/or local laws and/or regulations may apply regarding the disposal of this product. For more information, please contact the retailer where you purchased this product or the Polk importer/distributor in your country. More information is also available at www.polkaudio. com or by contacting Polk Audio at 1 Viper Way, Vista, California, 92081, USA. Phone: 1-800-377-7655.
This symbol on our electrical products or their packaging indicates that it is prohibited in Europe to discard this product(s) as domestic waste. In order to ensure that you dispose of the product(s) correctly, please dispose of the product(s) according to local laws and regulations on the disposal of electrical and electronic equipment. In doing so you are contributing to the retention of natural resources and to the promotion of environmental protection by the treatment and disposal of electronic waste.
CAUTION
TO REDUCE THE RISK OF ELECTRIC SHOCK, DO NOT REMOVE COVER (OR BACK). NO USER-SERVICEABLE PARTS INSIDE. REFER SERVICING TO QUALIFIED SERVICE PERSONNEL.
The lightning flash with arrowhead symbol, within an equilateral triangle, is intended to alert the user to the presence of uninsulated “dangerous voltage” within the product’s enclosure that may be of sufficient magnitude to constitute a risk of electric shock to persons.
The exclamation point within an equilateral triangle is intended to alert the user to the presence of important operating and maintenance (servicing) instructions in the literature accompanying the appliance.
IMPORTANT SAFETY INSTRUCTIONS
- Read these instructions.
- Keep these instructions.
- Heed all warnings.
- Follow all instructions.
- Do not use this apparatus near water.
- Clean only with dry cloth.
- Do not block any ventilation openings. Install in accordance with the manufacturer’s instructions.
- Do not install near any heat sources such as radiators, heat registers, stoves, or other apparatus (including amplifiers) that produce heat.
- Only use attachments/accessories specified by the manufacturer.
- Use only with the cart, stand, tripod, bracket, or table specified by the manufacturer, or sold with the apparatus. When a cart is used, use caution when moving the cart/apparatus combination to avoid injury from tip-over.
- Refer all servicing to qualified service personnel. Servicing is required when the apparatus has been damaged in any way, such as power supply cord or plug is damaged, liquid has been spilled or objects have fallen into the apparatus, the apparatus has been exposed to rain or moisture, does not operate normally, or has been dropped.
NOTES ON USE
WARNINGS
- Avoid high temperatures.
- Allow for sufficient heat dispersion when installed in a rack.
- Keep the unit free from moisture, water, and dust.
- Do not obstruct the ventilation holes.
- Do not let foreign objects into the unit.
- Do not let insecticides, benzene, and thinner come in contact with the unit.
- Never disassemble or modify the unit in any way.
- Ventilation should not be impeded by covering the ventilation openings with items, such as newspapers, tablecloths or curtains.
- Naked flame sources such as lighted candles should not be placed on the unit.
- Do not expose the unit to dripping or splashing fluids.
- Do not place objects filled with liquids, such as vases, on the unit.
A NOTE ABOUT RECYCLING:
This product’s packaging materials are recyclable and can be reused. Please dispose of any materials in accordance with the local recycling regulations. When discarding the unit, comply with local rules or regulations.
EU Declaration of Conformity
Hereby, [Sound United, LLC] declares that our product is in compliance with following EU/EC Directives. The full text of the EU declaration of conformity is available at the following
internet address:
<EU/EC Directives>
RoHS: 2011/65/EU, and amendment directive (EU) 2015/863
“EU declaration of conformity URL: https://www.polkaudio.com/declarations-of-conformity”
Sound United, LLC
1 Viper Way Vista, CA 92081 USA
EU contact : Sound United Europe, A division of D&M Europe
B.V. Beemdstraat 11, 5653 MA Eindhoven, The Netherlands
What’s in the Box
Each box contains:
1. Loudspeaker(s)
2. Owner’s Manual
3. Registration Card
4. Magnetic grilles
5. Dust cloth
(Speaker cable not included)
How to Connect Your System
To get the best sound quality, it’s important to wire your speakers correctly.
Wire Preparation
Follow the hookup directions included with your receiver/ amplifier. Strip 0.5” (12.7mm) of insulation from each of the two conductors of the wire to expose the bare metal and twist each of the individual conductors into single un-frayed strands. Note that one of the terminals on the rear of each speaker is marked red (+) and the other is black (–). Make sure that you connect the wire from the positive (+) terminal of your amplifier or receiver to the red (+) terminal on your speaker and the wire from the negative (–) terminal of your amplifier or receiver to the black (–) terminal on your speaker. Most wire has some indicator (such as color-coding, ribbing or writing) on one of the two conductors to help you maintain consistency. These recommendations are for all connections from the amplifier/receiver to each speaker:
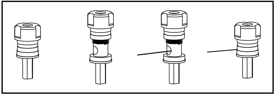
Binding Posts
To connect wire to the binding post, unscrew the binding post cap and insert the bare wire into the hole near the base of the binding post. Do not insert the insulated part of the wire into the hole as this will not give you a good connection. Tighten
the binding post cap until it seats firmly with the wire, but do not over tighten.
Connectors
You have several options when choosing connectors for your speaker wires, and it’s really a matter of personal preference. Three of the more commonly used are banana plugs, spade lugs and bare wire. If you know where you want to locate your speakers and plan to set up your system and leave them there, then bare wire will work fine. Just make sure there are not stray strands of wire that could come into contact. If you like to experiment with different speaker locations, spade lugs or banana plugs offer more convenient options when it comes to disconnecting and reconnecting wires.
Basic Floor-Standing, Center and Bookshelf Speaker Hookup
(L600, L400, L200 and L100) Make sure that the red (+) and black (-) connectors on your amplifier or receiver connect to the red (+) and black (-) connectors on your speakers. If your speakers sound “thin,” with little bass and little or no center image, odds are that one of the speaker wires is connected backwards. Double check all connections.
Bi-Wiring (L600, L400 and L200)
Bi-wiring can provide noticeable improvements in the overall transparency of your loudspeakers. After removing the jumpers, run separate speaker wires to the low and high frequency drivers from a single amplifier (the upper set of binding posts are for the high frequency drivers, the lower set of binding posts are for the low frequency drivers). Connect one set of speaker wires to the upper terminals on each speaker and one set of wires to the lower terminals. Connect the other ends of both wire sets to the same amplifier outputs. See amplifier/AV receiver user manual for configuration instructions. (Figure 1)
Bi-Amping (L600, L400 and L200)
Bi-amping allows you to use separate amplifiers for the high and low frequency sections of your loudspeaker for greater dynamic range and lower distortion. We recommend that your separate amplifiers have identical gain to preserve the speaker’s voicing balance. After removing the jumpers, connect the speaker wires from the high frequency amplifier outputs to the upper set of terminal posts on each speaker. Follow the same procedure for connecting the low frequency amplifier outputs to the lower set of terminals. (Figure 2) Remember to maintain correct wiring polarity (+ to +, – to –) in all connections. See amplifier/AV receiver user manual for configuration instructions.
Bass Management
When using your Legend Series loudspeakers with a receiver or processor employing bass management in a home theater, we recommend the following settings: L600: set to “small” when using a subwoofer and set the crossover frequency between 40-80Hz. If no subwoofer is present in the system, set these to “large”. L400, L200: set to “small” when using a subwoofer and set the crossover frequency between 50-80Hz. L100: set to “small” when using a subwoofer and set the crossover frequency between 60-80Hz.
Legend Series Speaker Positioning
Placement Recommendations for the L400 Center Channel Speaker
The most popular placement for your L400 center channel speaker is below your TV. You may also place your center channel above your TV should you choose. The center channel is very heavy, and we do not recommend wall mounting them.
To maximize the sound quality of your speaker system whether you’ve purchased floor-standing speakers, a center channel speaker, bookshelf speakers or height modules correct placement is important. Take a look at the following examples and give them a try based on the Legend Series speakers you’ve purchased.
Note: Your Legend Series speakers are compatible with basic/ advanced 2.0, 2.1, 3.1, 5.1, 7.1 and 9.1 surround setups (optional subwoofer shown in graphics) and all Atmos setups (ex. 5.1.2, 5.1.4, etc.) .
Listening in 2.1 System
Get the most realistic stereo image by placing speakers as far apart as the listeners are sitting from them. You may choose to angle the speakers toward the middle to support a more solid center image.
Listening in 5.1 Surround
You can use the Legend Series speakers as rear surround speakers in a Polk Audio home theater surround system. Ideal rear channel surround speaker placement is along a side wall, slightly behind and above the listening position.
Note: If you cannot place rear surrounds along the side walls, position them along the rear wall above the listening position
Listening in 7.1 Surround
Enjoy added depth to your surround sound experience with four rear surround speakers instead of two.
Rubber Feet and Adjustable Floor Spikes
Rubber feet and floor spikes are included with your Legend L600 floor-standing loudspeakers to anchor and stabilize the speaker on any type of floor. In order to expose the spike, simply pull the rubber feet off.
Adjusting the Floor Spikes
The floor spikes can be adjusted from below and require two hands.
Note: If the speaker is stable on the floor, no adjustment is necessary. If the speaker is unstable, follow these steps:
- The speaker will be inclined to settle on three of the four spikes leaving one spike slightly off the floor.
- Determine which spike needs to be adjusted.
- Turn the spike clockwise to lower, and counterclockwise to raise it. Lock the washer to tighten and secure the foot.
- As the spike contacts the floor, it will become more difficult to turn. At that point the speaker should be stabilized.
- Tighten lock ring to prevent the spike from loosening over time.

Caring for Your Legend Loudspeakers
Enclosure Finish
Your Legend enclosures are finished in real natural wood veneer. Clean these panels periodically with a soft cloth and furniture polish to remove dust and fingerprints. Never use harsh detergents and cleaning fluids.
Note: Do not use any petroleum-based cleaners or solvents on the loudspeaker cabinets.
- Clean wood panels with furniture polish and a soft dry cloth
- Do not use furniture polish on black gloss lacquer
- Clean black lacquer veneer with a damp cloth
Baffle Smudges
Dust baffles with the included dust cloth or any other dry or damp cloth (a damp cloth is one that has been sprayed with a recommended cleaner, not one soaked with water).
Dusting the Baffle
Use a can of compressed air for the grille and/or baffle to dust. Use a “computer keyboard” vacuum (only on the grille, not the baffle).


















