HSI501
Owner’s manual

Enjoy it.
Steam iron


IMPORTANT NOTES
- To achieve the utmost in enjoyment and performance, and in order to become familiar with its features, please read this manual carefully before attempting to operate this product.
- Before using this device read the instruction manual and follow the instructions inside. The manufacturer is not liable for any damages caused by the misuse of this device due to inappropriate handling. Please keep this manual for future reference.
- This device is for domestic use only. Do not use for any other purposes.
- The device should only be connected to an earthed socket with values corresponding to the values on the rating label.
- It is necessary to check, if total current consumption of all devices plugged into the wall outlet does not exceed the fuse in the circuit.
- If you are using an extension cord, make sure that the total power consumption of the equipment plugged into the extension cord does not exceed the extension cord power rating. Extension cords should be arranged in such a way as to avoid tripping hazards. Make sure the cable is grounded, 3-cores with a socket and an earth cable.
- Do not let cord hang over edge of counter, or touch any hot surface.
- The device is not designed to be controlled via an external timer, separate remote control, or other equipment that can turn the device on automatically.
- Before maintenance work always disconnect the unit from the power supply.
- When unplugging the power cord from electrical outlet, hold it by the plug only and remove the plug carefully. Never pull the cable as it may cause damage to the plug or power cord. Damage to the power cord or plug can lead to an electrocution hazard.
- Never leave the product connected to the power source without supervision.
- Never put the power cable, the plug or the whole device into the water or any other liquids.
- The device should be cleaned regularly complying with the recommendations described in the section on cleaning and maintenance.
- Do not place the device near sources of heat, flame, an electric heating element or a hot oven. Do not place on any other device.
- This equipment can be used by children aged 8 years and over under as long as supervision is provided. People with reduced physical or mental capabilities, as well as people with no previous experience of using this equipment must be supervised and made aware of the risks. The instruction manual should be used as a reference for the safe use of this equipment. Children should not play with the equipment. Children without ensured supervision should not be allowed to perform the cleaning and maintenance of equipment.
- Additional precautions should be taken when using this device in the presence of children or pets. Do not allow children to play with the device.
- Never use the product close to combustibles.
- Never expose the product to atmospheric conditions such as direct sun light or rain, etc… Never use the product in humid conditions (like bathroom or camping house).
- The power cable should be periodically checked for damage. If the power cable is damaged the product should be taken to a professional service location to be fixed or replaced to prevent any hazards from arising.
- Never use the product with a damaged power cable or if it was dropped or damaged in any other way or if it does not work properly. Do not try to repair the defected product by yourself as it can lead to electric shock. Always return the damaged device to a professional service in order to repair it. All the repairs should only be performed by authorized service professionals. Any attempted unauthorised repairs performed can be a hazard to the user.
- Only Original accessories should be used, as well as accessories recommended by the manufacturer. Using accessories which are not recommended by the manufacturer may result in damage of the device and may render the device unsafe for use.
- Never refill the water tank if the device is connected to the current. Do not fill the water tank under a tap, it is recommended that the supplied measuring cup be used. Do not exceed the MAX level.
- The tank must only be filled with water. The iron has a built-in anti-scale filter and is adapted to the use of tap water. However, if the water is hard, it is recommended that demineralised water be used. Do not add any substances such as perfume, starch, vinegar, or descaling agents to the water.
- If the iron will not be used for an extended period of time, empty the water tank.
- The iron should be put away and stored in a vertical position.
- Do not iron fabrics which are not intended for ironing, e.g. synthetic fabrics (elastane, spandex, etc.) or printing on clothing.
- Hot steam comes out of the iron. Take special care when ironing and pressing fabrics, especially when using a powerful burst of steam. Do not iron clothes whilst they are on a person.
- The soleplate of the iron cools very slowly. Until the iron completely cools down, store it in a safe place preventing the risk of accidental touching and out of reach of children.
4
Device is compliant with EU directives:
– Low voltage directive (LVD)
– Electromagnetic compatibility (EMC)
Device marked CE mark on rating label
![]()
When this crossed-out wheeled bin symbol is attached to a product it means that the product is covered by the European Directive 2012/19/EU. Please inform yourself about the local separate collection system for electrical and electronic products. Used appliance should be delivered to the dedicated collecting points due to hazardous components, which may affect the environment. Do not dispose this appliance In the common waste bin.
Environmental information
All unnecessary packaging has been omitted. We have tried to make the packaging easy to separate into three materials: cardboard (box), polystyrene foam (buffer) and poly ethylene (bags, protective foam sheet). Your system consists of material which can be recycled and reused if disassembled by a specialized company. Please observe the local regulations regarding the disposal of packaging materials, exhausted batteries and old equipment.

Your products is designed a manufactured with high quality materials and components, which can be recycled and reused.
TECHNICAL PARAMETERS
Power: 2600W
Power supply: 220-240V~50/60Hz
Tank volume: 380ml
5
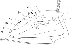
1. Steam intensity switch 8. Soleplate
2. Spray button 9. Spray nozzle
3. Steam burst button 10. Cap of filling opening
4. Temperature control knob 11. Hand grip
5. Swivel power cord 12. Self-cleaning button
6. Pilot light 13. Measuring cup
7. Water tank
BEFORE FIRST USE
Remove all paper, carton and foil protecting the appliance and its parts.
The iron may emit a delicate smoke and smell the first time it is used. It is recommended that the iron be heated before ironing and that the steam burst button be pressed a few times before first use.
FILLING THE WATER TANK
Make sure the appliance is disconnected from the power source. Set the steam intensity to “no steam”. Open the cap on the filling opening.
Pour a measured amount of water using the measuring cup. Check the fill level of the tank by placing the iron in a vertical position. Do not exceed the MAX level.
Close the cap.
IRONING
After filling the water tank, connect the iron to a power source. Set the desired temperature and the steam intensity according to the recommendations.
After ironing, set the steam intensity to 0 and the temperature knob to the minimum position.
SETTING IRONING TEMPERATURE
Set ironing temperature using the temperature control knob, adjusting it to the fabric that is being ironed. First iron fabrics that require the lowest temperature.
· low temperature – synthetic fabrics, silk
·· average temperature – wool
··· high temperature – cotton
MAX the highest temperature – linen
If you wish to decrease the temperature, wait until the pilot light turns on before continuing to iron.
ADJUSTING STEAM INTENSITY
The amount of steam can be adjusted using the steam intensity switch. Steam ironing is not recommended at low-temperature settings. Despite the membrane limiting the possibility of dripping from the iron (the anti-drip function), condensed droplets of water may drip from the soleplate.
LARGER STEAM BURSTS AND SPRAY
To obtain a greater amount of steam, press the steam burst button. It is recommended that the steam burst function not be used numerous times without a break. The iron will cool down too much and water may start to drip.
To moisten the fabric, you can use the spray. Press the spray button to spray water onto the fabric from the nozzle.
Only use the steam burst and spray functions when the water tank is at least ¼ full.
6
CLEANING AND MAINTENANCE
Never immerse the iron in water. Make sure the iron has cooled down. Wipe the body of the iron with a slightly damp cloth, then wipe until it is dry. The soleplate should be wiped with a soft cloth.
Regularly use the self-cleaning function (cleaning is recommended every 2-4 months, depending on the hardness of the water).
To use the self-cleaning function, fill the water tank to the maximum level. Connect the iron to the power supply, set the maximum temperature value and the highest steam intensity. Wait until the iron reaches the set temperature and the pilot light goes off. Unplug the iron from the power source. Hold the iron in a horizontal position over the sink. Press and hold the self-cleaning button. Steam and very hot water will start to come out of the openings of the soleplate. Keep the self-cleaning button pressed until the tank is empty and gently sway the iron back and forth.
7
Enjoy it.
Competence Center
2N-Everpol Sp. z o.o.
ul. Pulawska 403A
02-801 Warsaw, Poland
phone: +48 22 331 99 59
e-mail: [email protected]
www.blaupunkt.com
In case of questions or problems please contact our service.
Tel. 00 48 22 331 99 54
E-mail: [email protected]
All rights reserved. All brand names are registered trademarks of their respective owners. Specifications are subject to change without prior notice.



















