ACTi Z48 Outdoor Zoom Bullet
Precautions
Read these instructions
You should read all the safety and operating instructions before using this product.
Heed all warnings
You must adhere to all the warnings on the product and in the instruction manual. Failure to follow the safety instruction given may directly endanger people, cause damage to the system or to other equipment.
Servicing
Do not attempt to service this video device yourself as opening or removing covers may expose you to dangerous voltage or other hazards. Refer all servicing to qualified service personnel.
Trademarks
All names used in this manual are probably registered trademarks of respective companies.
Liability
Every reasonable care has been taken during the writing of this manual. Please inform your local office if you find any inaccuracies or omissions. We cannot be held responsible for any typographical or technical errors and reserve the right to make changes to the product and manuals without prior notice.
Usage
- Use a power adapter or a PoE device that meets requirements. Otherwise, the device may be damaged.
- Make sure the length of the power cable between the power adapter and the camera is not too long, otherwise the voltage of the camera is lowered, causing the camera to work abnormally. If it is required to lengthen the power cable, lengthen the cable between the power adapter and the mains.
- Do not overbend the cables during the installation, otherwise, poor cable contact may cause malfunction.
- When connecting to an external interface, use an existing connection terminal, and ensure that the cable terminal (latch or clamp) is in good condition and properly fastened. Ensure that the cable is not tense during mounting, with a proper margin reserved to avoid poor port contact or loosening caused by shock or shake.
- During transportation, special attention is required to protect the transparent dome cover from friction, scratch and stain, etc. Do not remove the protective film from the cover until mounting is finished. Remove the protective film before powering on the device.
- Contact professionals for maintenance information. Do not attempt to dismantle the device by yourself. We shall not assume any responsibility for problems caused by unauthorized repair or maintenance.
Maintenance
- If there is dust on the front glass surface, remove the dust gently using an oil-free brush or a rubber dust blowing ball.
- If there is grease or a dust stain on the front glass surface, clean the glass surface gently from the center outward using anti-static gloves or an oil-free cloth. If the grease or the stain still remains, use anti-static gloves or an oil-free cloth dipped with detergent and clean the glass surface gently until it is clean.
- Do not use organic solvents (such as benzene and alcohol) to clean the transparent dome cover
Federal Communications Commission Statement
This device complies with Part 15 of the FCC Rules. Operation is subject to the following two conditions: (1) this device may not cause harmful interference, and (2) this device must accept any interference received, including interference that may cause undesired operation.
Caution: The user is cautioned that changes or modifications not expressly approved by the party responsible for compliance could void the user’s authority to operate the equipment.
NOTE: This equipment has been tested and found to comply with the limits for a Class A digital device, pursuant to part 15 of the FCC Rules. These limits are designed to provide reasonable protection against harmful interference when the equipment is operated in a commercial environment. This equipment generates, uses, and can radiate radio frequency energy and, if not installed and used in accordance with the instruction manual, may cause harmful interference to radio communications. Operation of this equipment in a residential area is likely to cause harmful interference in which case the user will be required to correct the interference at his own expense.
LVD / EMC Directive
This product complies with the European Low Voltage Directive 2014/35/EU and EMC Directive 2014/30/EU.![]()
WEEE Directive–2012/19/EU
The product this manual refers to is covered by the Waste Electrical & Electronic Equipment (WEEE) Directive and must be disposed of in a responsible manner.![]()
Battery Directive-2013/56/EC
Battery in the product complies with the European Battery Directive 2013/56/EC.For proper recycling, return the battery to your supplier or to a designated collection point.
Safety Instructions
Cleaning
Disconnect this video product from the power supply before cleaning.
Attachments
Do not use attachments not recommended by the video product manufacturer as they may cause hazards.
Water and Moisture
Install other devices (such as PoE injector, alarm, etc.) that will be used with the camera in a dry place protected from water.
Servicing
Do not attempt to service this video product yourself as opening or removing covers may expose you to dangerous voltage or other hazards. Refer all servicing to qualified service personnel.
Damage Requiring service
Disconnect this video product from the power supply immediately and refer servicing to qualified service personnel under the following conditions.
- When the power-supply cord or plug is damaged
- If liquid has been spilled, or objects have fallen into the video product.
- If the video product has been directly exposed to rain or water.
- If the video product does not operate normally by following the operating Instructions in this manual. Adjust only those controls that are covered by the instruction manual, as an improper adjustment of other controls may result in damage, and will often require extensive work by a qualified technician to restore the video product to its normal operation.
Safety Check
Upon completion of any service or repairs to this video product, ask the service technician to perform safety checks to determine if the video product is in proper operating condition.
- Never look at the transmit laser while the power is on. Never look directly at the fiber ports and the fiber cable ends when they are powered on.
- Use of controls or adjustments to the performance or procedures other than those specified herein may result in hazardous laser emissions.
Introduction
List of Models
This hardware manual contains the following models:
| Z48 | ![]() | 2MP Zoom Bullet with D/N, Adaptive IR, Superior WDR, SLLS, 4.3x Zoom lens |
| Z49 | ![]() | 4MP Zoom Bullet with D/N, Adaptive IR, Superior WDR, SLLS, 4.3x Zoom lens |
Package Contents
Check if the camera package comes with the following items:
| Camera | Cable Gland with Rubber and Washer | Mounting Screw Kit |
![]() | ![]() | ![]() |
| Drill Template | Quick Guide & Warranty Card | |
![]() | ![]() |
IMPORTANT: When the camera is taken out from the box, the lens cover is covered by a thin film.
DO NOT remove this film. It is used to protect the lens cover from scratches or fingerprint marks which may happen during installation. Remove this film only after the camera is securely installed and all connections are complete.
Physical Description
| Item | Description | |
| 1 | DC 12V Power Input | In case the camera is connected to a non-PoE (Power over Ethernet) switch, use this connector to connect the camera to an external power adapter (not included). See Using a Power Adapter (Optional) on page 17 for more information. CAUTION: If the power cable will not be used, make sure to insert the plug to cover the connector. |
| 2 | Ethernet Port | Connects to a network using an Ethernet cable with RJ-45 connector. |
| 3 | Reset Button | Press and hold the reset button for at least 5 seconds to rese5t the device to factory default settings. |
| 4 | Memory Card Slot | Insert a memory card (not included) into the slot for local recording purposes. |
Mounting Options
Select the most suitable solution for your installation environment. The camera can be mounted by either of the following methods:
| Mount Types | Accessories |
| Surface Mount | Suitable when mounting the camera directly on walls or ceilings without additional mounting accessories. See Installation Procedures on page 11 for more information. An additional junction box can be used with the camera for cable management. Contact sales to purchase. |
| Pole mount | Suitable when installing the camera on a pole. The Pole mount (optional accessory set) is required for this type of installation. |
NOTE:
- For more information about the mounting solutions and accessories, please check the
Mounting Accessory Selector in our website (http://www.acti.com/mountingselector). - The above mounting accessories are not included in the package. Contact your sales agents to purchase.
Installation Procedures
This section describes procedures in mounting the camera on a flat surface.
NOTE: The camera images on this documentation are for reference only and may be different from the actual camera.
Step 1: Prepare for Installation
- Before installing the camera, prepare other accessories required for installation. In case of using a memory card for local recording, open the bottom cover of the camera and insert the memory card.

NOTE: Do not hot plug the memory card after it has been inserted and the power turned on, otherwise, the camera or the card might be damaged. - Determine whether the cable will go through a hole on the surface or be routed along the surface. Note also the direction to which the cable will be routed to attach the bundled drill template on the surface according to the direction of the cable.

- Drill the screw holes. Depending on the material of the surface where the camera will be installed, it may be necessary to drill the three (3) screw holes and use the supplied screw tox.

Step 2: Route the Cables
Determine whether the cable will pass through a hole on the surface or be routed along the surface:
If the cable will pass through a hole on the surface:
- Drill the hole for the cable on the surface.
- Route the cable from the network side and connect it to the Ethernet port of the camera.
NOTE: If the camera will be installed outdoors or in places wherein environmental factors change drastically, make sure to waterproof the cable connection; see Step 4: Connect and Manage the Cable on page 14 for instructions. - Push the cable through the hole on the surface.
- Skip to Step 3: Mount the Camera on page 13.
If the cable will be routed along the surface, route the cable through the gap on the side of the camera bracket.
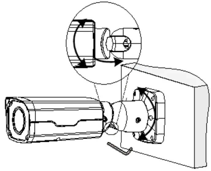
Step 3: Mount the Camera
- Loosen the head screw to tilt the camera, as needed, before mounting the camera to the wall surface.

- Mount the camera to the surface using the three (e) bundled screws.

- Adjust the camera tilt angle, then fasten the head screw to fix the camera angle position.

Step 4: Connect and Manage the Cables
The camera and the pre-installed network cable, “pigtail”, are resistant to salt, water, weak acid, alcohol, oil, grease and other common solvents. If the camera will be installed indoors, simply connect the network side cable to the camera Ethernet port.
However, if the camera will be installed outdoors, ensure that the cable connections are protected from different environmental factors. Use the bundled cable gland to protect the Ethernet connection and use a waterproof tape to protect other cable connections. See Using a Power Adapter (Optional) on page 17 for more information.
DISCLAIMER: ACTi will not be responsible for camera damage caused by water entering the cable connections.
Using the Cable Gland
This section describes how to waterproof the cable-out or “pigtail” of the camera using the bundled cable gland. Before connection, prepare an exterior-grade Ethernet cable with RJ-45 connector.
Perform the following to waterproof the “pigtail” using the cable gland:
- Attach the washer to the Ethernet connector of the camera.

- Detach the clamping nut and sealing insert from the gland body:

- Insert the clamping nut into the Ethernet cable.

- Insert the sealing insert through the Ethernet cable.

- Insert the cable through the gland body.

- Push the sealing insert into the gland body.

- Connect the RJ-45 connector to the camera connector.

- Attach the gland body to the camera connector.

- Attach the clamping nut to the gland body to complete the cable solution.

NOTE: Make sure the clamping nut is tightly attached to the cable gland body and the sealing insert is squeezed tightly.
Using a Power Adapter (Optional)
The camera can be powered by a Power over Ethernet (PoE) switch that is IEEE802.3af compliant. In case of using a non-PoE switch or your PoE switch has limited power supply, you can purchase a power adapter and directly connect the camera to a power outlet.
After connecting the power adapter, wrap the cable connection with waterproof take to ensure it is protected.
NOTE: The power adapter is not bundled in the package.
CAUTION: The cable connector must not be exposed and must be kept away from water. If the cable will not be used, make sure to insert the plug to cover the cable interface. Then put the cable inside a waterproof junction box or completely wrap with waterproof tape.
Step 5: Connect to Network
Connect the other end of the network cable to a switch or injector. Then, connect the switch or injector to a network or PC and a power source. See Power-over-Ethernet (PoE) example connection diagram below.
Step 6: Access the Camera Live View
See Accessing the Camera on page 19 for more information on how to access the Live View of the camera.
Step 7: Adjust the Viewing Angle and Orientation

Accessing the Camera
Configure the IP Addresses
In order to be able to communicate with the camera from your PC, both the camera and the PC have to be within the same network segment. In most cases, it means that they both should have very similar IP addresses, where only the last number of the IP address is different from each other. There are 2 different approaches to IP Address management in Local Area Networks – by DHCP Server or Manually.
Using DHCP Server to Assign IP Addresses
If you have connected the computer and the camera into the network that has a DHCP server
running, then you do not need to configure the IP addresses at all – both the camera and the PC would request a unique IP address from DHCP server automatically. In such case, the camera will immediately be ready for the access from the PC. The user, however, might not know the IP address of the camera yet. It is necessary to know the IP address of the camera in other to be able to access it by using a Web browser.
If you work with our cameras regularly, there is a better way to discover the cameras in the network – by using IP Utility. The IP Utility is a light software tool that can not only discover the cameras, but also list lots of valuable information, such as IP and MAC addresses, serial
numbers, firmware versions, etc, and allows quick configuration of multiple devices at the same time.
The IP Utility can be downloaded for free from http://www.acti.com/IP_Utility
With just one click, you can launch the IP Utility and there will be an instant report as follows:
You can quickly see the camera model in the list. Double-click on the IP address to automatically launch the default browser of the PC with the IP address of the target camera filled in the address bar of the browser already.
Using the Default Camera IP Address
If there is no DHCP server in the given network, the user may have to assign the IP addresses to both PC and camera manually to make sure they are in the same network segment.
When the camera is plugged into network and it does not detect any DHCP services, it will automatically assign itself a default IP: 192.168.0.100
Whereas the default port number would be 80. In order to access that camera, the IP address of the PC has to be configured to match the network segment of the camera.
Manually adjust the IP address of the PC:
In the following example, based on Windows 7, we will configure the IP address to 192.168.0.99 and set Subnet Mask to 255.255.255.0 by using the steps below:

Manually adjust the IP addresses of multiple cameras:
If there are more than 1 camera to be used in the same local area network and there is no DHCP server to assign unique IP addresses to each of them, all of the cameras would then have the initial IP address of 192.168.0.100, which is not a proper situation for network devices – all the IP addresses have to be different from each other. The easiest way to assign cameras the IP addresses is by using IP Utility:
With the procedure shown above, all the cameras will have unique IP addresses, starting from 192.168.0.101. In case there are 20 cameras selected, the last one of the cameras would have the IP 192.168.0.120.
Later, by pressing the “Refresh” button of the IP Utility, you will be able to see the list of cameras with their new IP addresses.
Please note that it is also possible to change the IP addresses manually by using the Web browser. In such case, please plug in only one camera at a time, and change its IP address by using the Web browser before plugging in the next one. This way, the Web browser will not be confused about two devices having the same IP address at the same time.
Access the Camera
Now that the camera and the PC are both having their unique IP addresses and are under the same network segment, it is possible to use the Web browser of the PC to access the camera.
You can use Microsoft Internet Explorer to access the camera
When using Internet Explorer browser, the ActiveX control for video stream management will be downloaded from the camera directly – the user just has to accept the use of such control when prompted so. No other third party utilities are required to be installed in such case.
The following examples in this manual are based on Internet Explorer browser in order to cover all functions of the camera.
Assuming that the camera’s IP address is 192.168.0.100, you can access it by opening the Web browser and typing the following address into Web browser’s address bar:
http://192.168.0.100
Upon successful connection to the camera, the user interface called Web Configurator would appear together with the login page. The HTTP port number was not added behind the IP address since the default HTTP port of the camera is 80, which can be omitted from the address for convenience.
Before logging in, you need to setup the root Account and Password of the camera.
Then use this newly setup Account and Password to login to the Web Configurator.
CUSTOMER SERVICE
Copyright © 2022, ACTi Corporation All Rights Reserved
7F, No. 1, Alley 20, Lane 407, Sec. 2, Ti-Ding Blvd., Neihu District, Taipei, Taiwan 114, R.O.C.
TEL : +886-2-2656-2588
FAX : +886-2-2656-2599
Email: [email protected]










































