H1-F1-BGY FALCON-1 Buggy Attachment
Instruction Manual
H1-F1-BGY FALCON-1 Buggy Attachment
HELMETS SAVE LIVES!
Always wear a properly fitted helmet that complies with CPSC or CE safety standards when you ride.
Correct Fit:
Make sure your helmet covers your forehead.
Incorrect Fit:
Forehead is exposed and vulnerable to serious injury.
INTRODUCTION
This manual is designed to provide you the information you need for the safe operation and maintenance of your new Falcon-1. Please read it thoroughly before riding your Falcon-1.
WARNING
Make sure you read this complete manual before riding your Falcon-1. Even if you are an experienced rider, it is important that you read this manual to ensure your safety. Failure to do read the manual or follow its guidelines could lead to serious injury or death.
Please visit www.hover-1.com/troubleshoot to request replacements for missing or defective parts
FALCON-1 DIAGRAM

- Seat
- Fog Blaster & Mount
- Right Handlebar
- Handlebar Mount
- Hook and Loop Strap
- Left Handlebar
- Seat Frame
- Twist Knob
- Front Frame
- Foot Rests
- Caster Wheel
- Flag
- Flag Tube
SPECIFICATIONS
| Compatibility: | Most 6.5” hoverboards |
| Max Supported Weight: | Refer to your hoverboard’s manual |
| Wheel Size: | 4” swivel caster wheel |
| Seat Material: | Polypropylene |
PARTS LIST
| (1) Seat | 3 Pairs of Hook & Loop Straps with Rubber Protectors (Preassembled) | ||
| (1) Fog Blaster | Tool Set: A. Wrench B. Hex Key & Screwdriver | ||
| (1) Charging Cable | (1) Twist Knob | ||
| (1) Seat Frame | (4) M8 Short Screw | ||
| (1) Fog Blaster Mount | (4) M8 Long Screw | ||
| (1) Front Frame | (4) Short Screw | ||
| (1) Left Handlebar | (4) Anti-Slip M8 Nuts | ||
| (1) Right Handlebar | (4) Rubber Washers | ||
| (1) Flag Set | (2) Large Metal Washers | ||
| (1) Flag Tube | (4) Small Metal Washers |
ASSEMBLING YOUR FALCON-1
Remove all Falcon-1 contents from the box. Ensure all contents from the “PARTS LIST” section are accounted for.
- Locate the 2 M8 long screws, 2 large metal washers, and 4 rubber washers. Slide 1 large metal washer and 1 rubber washer onto 1 M8 long screw. Insert the screw into the side of a handlebar mount and attach another rubber washer to the end of the screw. Align the hole on the side of the seat frame with the screw and insert the screw. Insert the hex key into the head of the screw and turn it clockwise to tighten the screw. Repeat these steps for the other screw and handlebar mount.

- Insert the front frame into the seat frame. Adjust the front frame to the desired length. Secure it in place by inserting the twist knob as shown below. Twist the knob clockwise to tighten it.
Make sure the front frame does not move.
- Attach the fog blaster to the fog blaster mount as shown below. Screw in the 4 black short screws using the screwdriver at the end of the included hex key. Make sure the 2 larger holes of the fog blaster mount are facing forward.

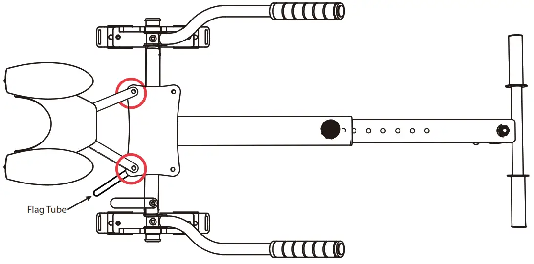
- Insert the 4 small metal washers into the holes of the seat. Align the hole of the flag tube to one of the rear seat frame holes. Align the larger holes of the fog blaster mount with the hole of the flag tube and the rear holes of the seat frame as shown below.

- Align the holes of the seat with the holes of the fog blaster mount, flag tube, and seat frame. Insert the 4 M8 short screws. Attach the lug nuts to the bottom of each screw. To tighten the screws, hold the lug nuts in place with the wrench, then use the hex key to turn the screws clockwise. Make sure all the screws are fully tightened.

- Assemble the flag by inserting one of the included flag rods into the opening in the flag fabric. Combine the remaining rods together by attaching them at the coupling points. Insert the assembled flag set into the flag tube. Your Falcon-1 is now assembled and should look like the image below.

ATTACHING THE FALCON-1 TO YOUR HOVERBOARD
Carefully follow the instructions on the following pages to attach the Falcon-1 to your hoverboard. Read this entire manual before riding your Falcon-1.
Your Falcon-1 must be completely assembled before attaching it to your hoverboard. Please refer to the “ASSEMBLING YOUR FALCON-1” section of the manual for assembly instructions.
- Place the handlebar mounts onto the footpad sensors of your hoverboard. Ensure the handlebar mounts are centered on the footpad sensors of your hoverboard as much as possible.

- Secure your Falcon-1 to your hoverboard using 2 of the included hook and loop straps. With the fastener side facing away from your hoverboard, thread the straps through the outside hole of each handlebar mount.

- Wrap both straps underneath the hoverboard and pull them through to the other side. The rubber protective straps should be centered underneath the hoverboard, with side B facing the ground (see image below). Insert the straps into the rear hole of each handlebar mount. Fasten the front and rear sides of the straps. Make sure they are tightly secured to the hoverboard.

- WARNING: Ensure that the Falcon-1 is securely attached to the hoverboard, but do not over-tighten the hook & loop straps.
- When your Falcon-1 is fully assembled, it should look like the image below.

FOG BLASTER DIAGRAM

- Charging Port
- Water Tank
- Power Button
- LED Lights & Sound EffectsButton
- Fog Vent & LED Lights
USING & MAINTAINING YOUR FOG BLASTER
Before using the fog blaster, connect the included charging cable to the fog blaster’s charging port and a USB outlet (Figure 1). A red light will appear on the fog blaster while charging. When the light turns off, your fog blaster is fully charged. A full change may take up to 3 hours. Unplug the charging cable. Next, press and hold down the water tank buttons while pouring water into the water tank (Figure 2). Release the buttons when the tanks are filled. Do not overfill!

BEFORE RIDING
WARNING
Any hoverboard that does not work properly can cause you to lose control. Inspect the entire device thoroughly before every ride, and do not ride it until any problems have been corrected.
FALCON-1 OPERATION
It is important that you fully understand all the functions of your Falcon-1. If these functions are not used correctly, you will not have full control of your Hover-1 Falcon-1.
Practice using the Falcon-1 at slower speeds in a flat, open area before riding the Falcon-1 in other spaces.
WARNING
Do not ride a Falcon-1 with a part that is damaged. Replace the damaged part before riding.
PRE-RIDE FALCON-1 CHECKLIST
Ensure that your Falcon-1 and hoverboard are in proper working order each time you ride. If a part of the Falcon-1 does not function correctly, please contact our Customer Support Center.
- Ensure the battery of your hoverboard is fully charged before riding your Falcon-1.
- Ensure that the screws and nuts on the Falcon-1 are tightly secured before each ride.
- Check to ensure the tires of your hoverboard are not worn.
- Check to ensure all connections are maintained on your hoverboard.
- Make sure your hoverboard is calibrated and running properly.
SAFETY PRECAUTIONS
The first rule of safe riding is to use common sense. The Falcon-1 cannot protect you in a crash, against impact, or from loss of control the way a car can. The Falcon-1 can tip over sideways or pitch you over the front wheel if you don’t ride it properly. Please read the following safety precautions to operate your Falcon-1 safely.
Different localities and countries have different laws governing riding on public roads, and you should check with local officials to ensure you are complying with these laws.
Hover-1 is not liable for tickets or violations given to riders who do not follow these regulations.
- For your safety, always wear a helmet that meets CPSC or CE safety standards. In the event of an accident, a helmet can protect you from serious injury and in some cases, even death.
- Obey all local laws, stop signs, pedestrian crosswalks, etc.
- If you are riding with other riders, maintain a safe distance between each other to avoid collisions.
- Ride defensively; expect the unexpected.
- Give pedestrians the right-of-way.
- Do not ride too close to pedestrians. Alert them if you intend to pass them from behind.
- Slow down at all street intersections and look to the left and right before crossing.
- Obey all traffic signals.
- Always use proper hand signals for turning and stopping. Give signals 100 ft before stopping or turning and always return both hands to the handlebars before stopping or turning.
- Watch for cars when pulling into traffic and watch for the sudden opening of car doors.
- Avoid potholes, drainage grates, and other hazards.
- Be careful when riding on soft road edges, gravel, sand, and uneven surfaces. Ride slowly and avoid quick turns when riding on these surfaces.
- Never hitch onto other vehicles.
- Do not attempt any stunts or tricks with the Falcon-1. Do not race in traffic.
- Do not weave in and out of traffic or swerve from side to side.
- A crash can put extraordinary stress on Falcon-1’s components, possibly causing them to fatigue prematurely. Components suffering from stress fatigue can fail suddenly, causing loss of control or serious injury.
CAUTION: RIDING IN WET WEATHER
It is recommended that you do not ride your Falcon-1 in wet weather, as the electronic components of the hoverboard may be damaged if exposed to water. Stopping distances will be longer in wet conditions.
- This product is strictly forbidden to be used on roads and highways unless your local laws state otherwise. You must wear a safety helmet, knee and elbow pads, and other necessary protective gear when riding your Falcon-1.
- Due to the nature of this product, the assembly pieces should be checked before every ride to avoid an accident while riding.
- Do not make sharp turns, as you may drift and overturn the Falcon-1, which can result in injury to yourself and/or damage the unit.
- Do not operate near swimming pools or other bodies of water.
WARNING
To reduce the risk of injury, adult supervision is required. Never use in roadways, near motor vehicles, on or near steep inclines or steps, near swimming pools or other bodies of water. Always wear shoes, and never allow more than one rider at a time.
RIDING YOUR FALCON-1
Ensure your Falcon-1 is fully assembled and correctly attached to your hoverboard with all straps, screws, and nuts secured in place. Ensure your hoverboard is properly maintained as well. Failure to do so may result in damage to the unit, serious bodily harm, or death.
After reviewing the pre-ride checklist, follow the steps below to begin riding your Falcon-1.
- Turn on your hoverboard.
- Sit comfortably in the Falcon-1 seat.
- Place your feet on the foot rests.
- Firmly grip both handlebars and slowly push them downward simultaneously to move forward.
- When riding, pull both handlebars upwards simultaneously to brake.
- To ride in reverse, stop the hoverboard, then slowly pull both handlebars upwards simultaneously.
- To turn left, push the right handlebar down and pull the left handlebar up.
- To turn right, push the left handlebar down and pull the right handlebar up.
WARRANTY
For warranty information, please visit us at www.hover-1.com.
Manufacturer: DGL Group, Ltd.
2045 Lincoln Highway, Edison, NJ 08817
TEL: 732-692-5000
@Hover1Rideables
@RideHover1
@RideHover1
www.hover-1.com





























