
HGB75301UM
USER MANUAL
FOR PERFECT RESULTS
Thank you for choosing this AEG product. We have created it to give you impeccable performance for many years, with innovative technologies that help make life simpler – features you might not find on ordinary appliances. Please spend a few minutes reading to get the very best from it.
Visit our website to:
| Get usage advice, brochures, troubleshooter, service, and repair information: www.aeg.com/support | |
| Register your product for better service: www.registeraeg.com | |
| Buy Accessories, Consumables, and Original spare parts for your appliance: www.aeg.com/shop |
CUSTOMER CARE AND SERVICE
Always use original spare parts.
When contacting our Authorised Service Centre, ensure that you have the following data available: Model, PNC, Serial Number.
The information can be found on the rating plate.
Warning / Caution-Safety information
General information and tips
Environmental information
Subject to change without notice.
SAFETY INFORMATION
Before the installation and use of the appliance, carefully read the supplied instructions. The manufacturer is not responsible for any injuries or damage that are the result of incorrect installation or usage. Always keep the instructions in a safe and accessible location for future reference.
1.1 Children and vulnerable people safety
- This appliance can be used by children aged from 8 years and above and persons with reduced physical, sensory or mental capabilities or lack of experience and knowledge if they have been given supervision or instruction concerning the use of the appliance in a safe way and understand the hazards involved. Children of less than 8 years of age and persons with very extensive and complex disabilities shall be kept away from the appliance unless continuously supervised.
- Children should be supervised to ensure that they do not play with the appliance.
- Keep all packaging away from children and dispose of it appropriately.
- WARNING: Keep children and pets away from the appliance when it operates or when it cools down.
Accessible parts become hot during use. - If the appliance has a child safety device, it should be activated.
- Children shall not carry out cleaning and user maintenance of the appliance without supervision.
1.2 General Safety
- WARNING: The appliance and its accessible parts become hot during use. Care should be taken to avoid touching heating elements.
- WARNING: Unattended cooking on a hob with fat or oil can be dangerous and may result in fire.
- NEVER try to extinguish a fire with water, but switch off the appliance and then cover flame e.g. with a lid or a fire blanket.
- WARNING: The appliance must not be supplied through an external switching device, such as a timer, or connected to a circuit that is regularly switched on and off by a utility.
- CAUTION: The cooking process has to be supervised.
A short-term cooking process has to be supervised continuously. - WARNING: Danger of fire: Do not store items on the cooking surfaces.
- Metallic objects such as knives, forks, spoons, and lids should not be placed on the hob surface since they can get hot.
- Do not use the appliance before installing it in the built-in structure.
- Do not use a steam cleaner to clean the appliance.
- If the supply cord is damaged, it must be replaced by the manufacturer, an authorized Service, or similarly qualified persons in order to avoid a hazard.
- Where the appliance is directly connected to the power supply, an all-pole isolating switch with a contact gap is required. Complete disconnection in compliance with the conditions specified in overvoltage category III must be guaranteed. The earth cable is excluded from this.
- When you route the main cable, make sure that the cable doesn’t come into direct contact (for example using insulating sleeving) with parts that can reach temperatures of more than 50°C above room temperature.
- WARNING: Use only hob guards designed by the manufacturer of the cooking appliance or indicated by the manufacturer of the appliance in the instructions for use as suitable or hob guards incorporated in the appliance. The use of inappropriate guards can cause accidents.
SAFETY INSTRUCTIONS
This appliance is suitable for the following markets: ![]()
2.1 Installation
WARNING!
Only a qualified person must install this appliance.
WARNING!
Risk of injury or damage to the appliance.
- Remove all the packaging.
- Do not install or use a damaged appliance.
- Follow the installation instructions supplied with the appliance.
- Keep the minimum distance from other appliances and units.
- Always take care when moving the appliance as it is heavy. Always use safety gloves and enclosed footwear.
- Seal the cut surfaces with a sealant to prevent moisture from causing swelling.
- Protect the bottom of the appliance from steam and moisture.
- Do not install the appliance next to a door or under a window. This prevents hot cookware from falling from the appliance when the door or the window is opened.
- If the appliance is installed above drawers make sure that the space, between the bottom of the appliance and the upper drawer, is sufficient for
air circulation. - The bottom of the appliance can get hot. Install a non-combustible separation panel under the appliance to prevent access to the bottom.
2.2 Electrical Connection
WARNING!
Risk of fire and electric shock.
- All electrical connections should be made by a qualified electrician.
- The appliance must be earthed.
- Before carrying out any operation make sure that the appliance is disconnected from the power supply.
- Make sure that the parameters on the rating plate are compatible with the electrical ratings of the main power supply.
- Make sure the appliance is installed correctly. Loose and incorrect electricity mains cable or plug (if applicable) can make the terminal become too hot.
- Use the correct electricity mains cable.
- Do not let the electricity mains cable tangle.
- Make sure that shock protection is installed.
- Use the strain relief clamp on the cable.
- Make sure the mains cable or plug (if applicable) does not touch the hot appliance or hot cookware when you connect the appliance to a socket.
- Do not use multi-plug adapters and extension cables.
- Make sure not to cause damage to the mains plug (if applicable) or to the mains cable. Contact our Authorised Service Centre or an electrician to
change a damaged mains cable. - The shock protection of live and insulated parts must be fastened in such a way that they cannot be removed without tools.
- Connect the mains plug to the mains socket only at the end of the installation. Make sure that there is access to the mains plug after the installation.
- If the main socket is loose, do not connect the main plug.
- Do not pull the main cable to disconnect the appliance. Always pull the mains plug.
- Use only correct isolation devices: line protecting cut-outs, fuses (screw type fuses removed from the holder), earth leakage trips, and contactors.
- The electrical installation must have an isolation device that lets you disconnect the appliance from the mains at all poles. The isolation device must have a contact opening width of a minimum of 3 mm.
2.3 Gas connection
CAUTION!
When using a gas cylinder, always keep it on a flat horizontal surface (with the gas valve on top).
- All gas connections must be made by a qualified person.
- Before installation, make sure that the local distribution conditions (nature of the gas and gas pressure) and the adjustment of the appliance are
compatible. - Make sure that there is air circulation around the appliance.
- The information about the gas supply is on the rating plate.
- This appliance is not connected to a device, which evacuates the products of combustion. Make sure to connect the appliance according to current
installation regulations. Follow the requirements for adequate ventilation.
2.4 Use
WARNING!
Risk of injury, burns, and electric shock.
- Remove all the packaging, labeling, and protective film (if applicable) before first use.
- This appliance is for household (indoors) use only.
- Do not change the specification of this appliance.
- Make sure that the ventilation openings are not blocked.
- Do not let the appliance stay unattended during operation.
- Set the cooking zone to “off” after each use.
- Do not put cutlery or saucepan lids on the cooking zones. They can become hot.
- Do not operate the appliance with wet hands or when it has contact with water.
- Do not use the appliance as a work surface or as a storage surface.
- When you place food into hot oil, it may splash.
WARNING!
Risk of fire and explosion
- Fats and oil when heated can release flammable vapors. Keep flames or heated objects away from fats and oils when you cook with them.
- The vapors that very hot oil releases can cause spontaneous combustion.
- Used oil, that can contain food remnants, can cause fire at a lower temperature than oil used for the first time.
- Do not put flammable products or items that are wet with flammable products in, near, or on the appliance.
WARNING!
Risk of damage to the appliance.
- Do not keep hot cookware on the control panel.
- Do not let cookware boil dry.
- Be careful not to let objects or cookware fall on the appliance. The surface can be damaged.
- Never leave a burner on with empty cookware or without cookware.
- Do not put aluminum foil on the appliance.
- Use only stable cookware with the correct shape and diameter larger than the dimensions of the burners.
- Make sure cookware is centrally positioned on the burners.
- Do not use large cookware that overlaps the edges of the appliance.
This can cause damage to the worktop surface. - Make sure the flame does not go out when you quickly turn the knob from the maximum to the minimum position.
- Use only the accessories supplied with the appliance.
- Do not install a flame diffuser on the burner.
- The use of a gas cooking appliance results in the production of heat and moisture. Provide good ventilation in the room where the appliance is
installed. - Prolonged intensive use of the appliance may call for additional ventilation, for example, the opening of a window, or more effective ventilation,
for example, increasing the level of mechanical ventilation where present. - This appliance is for cooking purposes only. It must not be used for other purposes, for example, room heating.
- Do not let acid liquids, for example, vinegar, lemon juice, or limescale remover, touch the hob. This can cause matt patches.
- Discoloration of the enamel or stainless steel has no effect on the performance of the appliance.
2.5 Care and cleaning
WARN ING!
Do not remove the buttons, knobs, or gaskets from the control panel. Water may get inside the appliance and cause damage.
- Clean the appliance regularly to prevent the deterioration of the surface material.
- Switch off the appliance and let it cool down before cleaning.
- Do not use water spray and steam to clean the appliance.
INSTALLATION
WARNING!
Refer to Safety chapters.
3.1 Before the installation
Before you install the hob, write down the information below from the rating plate.
The rating plate is on the bottom of the hob.
Model …………………………………
PNC …………………………………..
Serial number ………………………
- Clean the appliance with a moist soft cloth. Use only neutral detergents. Do not use abrasive products, abrasive cleaning pads, solvents or metal
objects. - Do not clean the burners in the dishwasher.
2.6 Service - To repair the appliance contact the Authorised Service Centre. Use original spare parts only.
2.7 Disposal
WARNING!
Risk of injury or suffocation.
- Contact your municipal authority for information on how to dispose of the appliance.
- Disconnect the appliance from the main supply.
- Cut off the mains electrical cable close to the appliance and dispose of it.
- Flat the external gas pipes.
3.2 Gas Connection
WARNING!
The following instructions about installation, maintenance, and ventilation must be carried out by qualified personnel in compliance with the regulation in force (UNI-CIG 7129 – 7131). Make sure that the kitchen is well ventilated: keep natural ventilation holes open (at least 100 cm²) or install a mechanical extractor hood.
Choose fixed connections or use a flexible pipe in stainless steel in compliance with the regulation in force. If you use flexible metallic pipes, be careful
they do not come in touch with mobile parts or they are not squeezed. Also, be careful when the hob is put together with an oven.
Make sure that the gas supply pressure of the appliance obeys the recommended values.
If the supplied pressure has not had the specified value, it is necessary to assemble a proper pressure regulator in compliance with the standard UNI EN 88.
For Liquid Gas (LPG) the use of a pressure regulator is allowed only if they are in compliance with UNI EN 12864. The adjustable connection is fixed to the comprehensive ramp by means of a threaded nut G 1/2″. Screw the parts without force, adjust the connection in the necessary direction and tighten everything.
A. End of the shaft with nut
B. Washer supplied with the appliance
C. Elbow supplied with the appliance
Rigid connection:
Carry out connection by using metal rigid pipes (copper with mechanical end) (UNI-CIG 7129).
Flexible connection:
Use a flexible pipe in stainless steel (UNI-CIG 9891) with a maximum length of 2 m.
WARNING!
When the installation is complete, make sure that the seal of each pipe fitting is correct. Use a soapy solution, not a flame!
3.3 Injectors replacement
- Remove the pan supports.
- Remove the caps and crowns of the burner.
- With a socket spanner 7 remove the injectors and replace them with the ones which are necessary for the type of gas you use (see table in “Technical Data” chapter).
- Assemble the parts, follow the same procedure backward.
- Replace the rating plate (it is near the gas supply pipe) with the one for the new type of gas supply. You can find this plate in the package supplied
with the appliance.
If the supply gas pressure is changeable or different from the necessary pressure, you must fit an applicable pressure adjuster on the gas supply pipe.
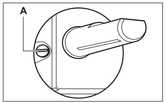
3.4 Adjustment of the minimum level
To adjust the minimum level of the burners:
- Light the burner.
- Turn the knob on the minimum position.
- Remove the knob and the gasket.

WARNING!
Pay attention not to damage the gasket. Do not use a sharp tool to remove it. - With a thin screwdriver, adjust the bypass screw position (A).

- If you change:
• from natural gas G20 20 bar to liquid gas, fully tighten the bypass screw in.
• from liquid gas to natural gas G20 20 bar, undo the bypass screw approximately 1/4 of a turn (1/2 of a turn for Multi Crown burner). - Reassemble the gasket and the knob.

WARNING!
Make sure to place the gasket exactly in the original position.
WARNING!
Make sure the flame does not go out when you quickly turn the knob from the maximum position to the minimum position.
3.5 Electrical connection
- Make sure that the rated voltage and type of power on the rating plate agree with the voltage and the power of the local power supply.
- This appliance is supplied with the main cable. It has to be supplied with a correct plug that can hold the load that the rating plate rates. Make sure that you install the plugin in the correct socket.
- Always use a correctly installed shockproof socket.
- Make sure that there is access to the mains plug after the installation.
- Do not pull the main cable to disconnect the appliance. Always pull the mains plug.
- There is a risk of fire when the appliance is in connection with an extension cable, an adapter, or multiple connections. Make sure that the ground connection agrees with the standards and regulations.
- Do not let the power cable heat up to a temperature higher than 90° C.
To prevent contact between the cable and the appliance below the hob use the clamps which are on the side of the cabinet.

A. Rigid copper pipe or flexible pipe of stainless steel
3.6 Connection cable
To replace the connection cable using only the special cable or its equivalent. The cable type is H03V2V2-F T90.
Make sure that the cable section is applicable to the voltage and the working temperature. The yellow/green earth wire must be approximately 2 cm longer than the brown (or black) phase wire.
- Connect the green and yellow (earth) wire to the terminal which is marked with the letter ‘E’, or the earth symbol
, or colored green and yellow. - Connect the blue (neutral) wire to the terminal which is marked with the letter ‘N’ or colored blue.
- Connect the brown (live) wire to the terminal which is marked with the letter ‘L’. It must always be connected to the network phase.
3.7 Assembly
![]() | ![]() |
![]() | ![]() |
![]() | ![]() |
![]() |
CAUTION!
Install the appliance only on a worktop with a flat surface.
3.8 Installing hob under the hood
If you install the hob under a hood, please see the installation instructions of the hood for the minimum distance between the appliances.
3.9 Possibilities for insertion
The panel installed below the hob must be easy to remove and let easy access in case a technical assistance intervention is necessary.
Kitchen unit with door
A. Removable panel
B. Space for connections
Kitchen unit with oven
The electrical connection of the hob and the oven must be installed separately for safety reasons and to let easily remove the oven from the unit.
PRODUCT DESCRIPTION
4.1 Cooking surface layout
- Semi-rapid burner
- Multi Crown burner
- Auxiliary burner
- Control knobs
4.2 Control knob
| Symbol | Description |
| no gas supply / off position | |
| ignition position / maximum gas supply | |
1 | minimum gas supply |
| 1 – 9 | power levels |
DAILY USE
WARNING!
Refer to Safety chapters.
5.1 Burner overview
![]() | ![]() |
A. Burner cap
B. Burner crown
C. Ignition candle
D. Thermocouple
5.2 Ignition of the burner
Always light the burner before you put on the cookware.
WARNING!
Be very careful when you use open fire in the kitchen environment. The manufacturer declines any responsibility in case of flame misuse.
- Push the control knob down and turn it counterclockwise to the maximum gas supply position (
). - Keep the control knob pushed for equal to or less than 10 seconds. This lets the thermocouple warm up. If not, the gas supply is interrupted.
- Adjust the flame after it is regular.
If after some tries the burner does not light, check if the crown and its cap are incorrect positions.
WARNING!
Do not keep the control knob pushed for more than 15 seconds. If the burner does not light after 15 seconds, release the control knob, turn it into an off position and try to light the burner again after a minimum of 1 minute.
CAUTION!
In the absence of electricity you can ignite the burner without an electrical device; in this case approach the burner with a flame, turn the control knob counterclockwise to maximum gas supply position, and push it down. Keep the control knob pushed for equal or less than 10 seconds to let the
thermocouple warm up.
If the burner accidentally goes out, turn the control knob to the off position and try to light the burner again after a minimum of 1 minute.
The spark generator can start automatically when you switch on the mains, after installation, or a power cut. It is normal.
The hob is supplied with the progressive valves. They make the flame regulation more precise.
5.3 Turning the burner off
To put the flame out, turn the knob to the off position
.
WARNING!
Always turn the flame down or switch it off before you remove the pans from the burner.
HINTS AND TIPS
WARNING!
Refer to Safety chapters.
6.1 Cookware
CAUTION!
Do not use cast iron pans, clay or earthenware pots, grill, or toaster plates. The stainless steel can become tarnished if it is too much heat.
WARNING!
Do not put the same pan on two burners.
WARNING!
Do not put unstable or damaged pots on the burner to prevent spills and injuries.
CAUTION!
Make sure that the bottoms of pots do not stand too close to the control knob, otherwise, the flame heats the control knob up.
CAUTION!
Make sure that pot handles are not above the front edge of the cooktop.
CAUTION!
Make sure that the pots are placed centrally on the burner in order to get maximum stability and lower gas consumption.
6.2 Diameters of cookware
Use cookware with diameters applicable to the size of burners.
| Burner | Diameter of cookware (mm) |
| Multi Crown | 220 – 260 |
| Semi-rapid (rear left) | 120 – 240 |
| Semi-rapid (rear right) | 120 – 240 |
| Semi-rapid (front left) | 120 – 220 |
| Auxiliary | 80 – 180 |
6.3 Suggested recipes
| Food categories | Recipes | Burner type | Power level |
| Sauces – Dressing | Bechamel | Auxiliary | 2-4 |
| Tomato sauce | Semi-rapid | 1-5 | |
| Pasta – Rice – other Ce- reals | Mushrooms rice | Multi Crown | 1-5 |
| Couscous | Rapid | 1-6 | |
| Ravioli | Auxiliary | 6-9 | |
| Soup – Legumes | Vegetable soup | Semi-rapid | 2-7 |
| Mushrooms and potatoes soup | Semi-rapid | 1-5 | |
| Fish soup | Multi Crown | 1-4 | |
| Meat | Beef meatballs | Multi Crown | 1-6 |
| Fillet of pork roast | Multi Crown | 4-9 | |
| Beef burger gratin | Auxiliary | 1-5 | |
| Fish | Sepia with peas | Multi Crown | 1-5 |
| Roasted tuna steak | Rapid | 5-8 | |
| Eggs based meals | Omelet | Multi Crown | 1-5 |
| Vegetables | Mushrooms with seasonings | Semi-rapid | 2-6 |
| Caponata with vegeta- tiles | Multi Crown | 4-8 | |
| Frozen spinach with butter | Rapid | 1-4 | |
| Fried dishes | French fries | Multi Crown | 5-9 |
| Donuts | Multi Crown | 3-7 |
| Snacks cooked with pan roasting
| nuts | Semi-rapid | 2-5 |
| Croutons of bread | Multi Crown | 2-7 | |
| o | |||
| rc:111UclileJ | emi rape | -9 | |
| Desserts | Caramel | Auxiliary | 1-5 |
| Custard | Auxiliary | 1-5 | |
| Panna cotta | Auxiliary | 1-5 |
All recipes for approximately 4 portions.
The settings suggested in the cooking table should only serve as guidelines and be adjusted depending on the rawness of food, its weight, and quantity as well as on the type of gas used and the material of the cookware used to prepare the dish.
For optimal delicate cooking use the auxiliary burner.
CARE AND CLEANING
WARNING!
Refer to Safety chapters.
7.1 General information
- Clean the hob after each use.
- Always use cookware with a clean base.
- Scratches or dark stains on the surface have no effect on how the hob operates.
- Use a special cleaner suitable for the surface of the hob.
Stainless steel
- Wash stainless steel parts with water, and then dry them with a soft cloth.
- To remove burnt food, fat and stubborn stains let them soak in a small amount of mild detergent for a few minutes before cleaning.
- Use cleaning products designed specifically for cleaning stainless steel in order to protect the steel surfaces.
- Do not use cleaning products containing corrosive chemicals such as chlorides, do not clean the surface with disinfectants, stain or rust removers, and immersion cleaners.
7.2 Pan supports
The pan supports are not resistant to washing in a dishwasher. They must be washed by hand.
- Remove the pan supports to easily clean the hob.
Be very careful when you replace the pan supports to prevent the hob top from damage. - The enamel coating occasionally can have rough edges, so be careful when you wash the pan supports by hand and dry them. If necessary, remove stubborn stains with a paste cleaner.
- After you clean the pan supports, make sure that they are incorrect positions.
- For the burner to operate correctly, make sure that the arms of the pan supports are aligned with the center of the burner.

7.3 Removing pan supports
To keep the pan supports in the correct position, they are put on metal pins installed in the rear and lateral sides of the hob. For easier cleaning, pan
supports can be removed from the hob. Lift up the pan supports keeping them in a horizontal position as shown in the graphic.
Do not lift the pan supports at an angle, as this will put a strain on the metal pins. This can cause damage to the pins and cause them to break.
![]() | ![]() | ![]() |
The shape of pan supports and the number of burners can be different in other models of the appliance.
7.4 Cleaning the hob
- Remove immediately: melted plastic, plastic foil, sugar, and food with sugar, otherwise, the dirt can cause damage to the hob. Take care to avoid burns.
- Remove when the hob is sufficiently cool: limescale rings, water rings, fat stains, shiny metallic discoloration. Clean the hob with a moist cloth and a non-abrasive detergent. After cleaning, wipe the hob dry with a soft cloth.
- To clean the enameled parts, caps, and crowns, wash them with warm soapy water and dry them carefully before you put them back on.
Easy Clean Coating
- To clean the hob remove any food remains from the cooking surface.
- Clean the hob with warm water and a non-abrasive detergent.
- To dry the hob after cleaning wipe it with a soft cloth or chamois leather.
- To clean the Easy Clean surface every day use a soft cloth moistened with water or a glass cleaner. We do not recommend the use of paper towels which can leave streaks on the surface.
WARNING!
Harsh detergents and hard water can leave stains on the stainless steel surface.
7.5 Cleaning the spark plug
This feature is obtained through a ceramic ignition candle with a metal electrode. Keep these components well clean to prevent difficult lighting and
check that the burner crown holes are not obstructed.
7.6 Periodic maintenance
Speak to your local Authorised Service Centre periodically to check the conditions of the gas supply pipe and the pressure adjuster, if fitted.
TROUBLESHOOTING
WARNING!
Refer to Safety chapters.
8.1 What to do if…
| Problem | Possible cause | Remedy |
| There is no spark when you try to activate the spark generator. | The hob is not connected to an electrical supply or it is connected incorrectly. | Check if the hob is correctly connected to the electrical supply. |
| The fuse is blown. | Make sure that the fuse is the cause of the malfunction. If the fuse is blown again and again, contact a qualified electrician. | |
| The burner cap and crown are placed incorrectly. | Place the burner cap and crown correctly. | |
| The flame extinguishes im‐ mediately after ignition. | The thermocouple is not heated up sufficiently. | After lightning the flame, keep the knob pushed for equal or less than 10 seconds. |
| The flame ring is uneven. | The burner crown is blocked with food residues. | Make sure that the injector is not blocked and the burner crown is clean. |
8.2 If you cannot find a solution…
If you cannot find a solution to the problem yourself, contact your dealer or an Authorised Service Centre. Give the data from the rating plate. Make sure, you operated the hob correctly. If not the servicing by a service technician or dealer will not be free of charge, also during the warranty period. The instructions about the Service Centre and conditions of the guarantee are in the guarantee booklet.
8.3 Labels supplied with the accessories bag
Stick the adhesive labels as indicated below:
A. Stick it on the Guarantee Card and send this part (if applicable).
B. Stick it on the Guarantee Card and keep this part (if applicable).
C. Stick it on the instruction booklet.
TECHNICAL DATA
9.1 Hob dimensions
| Width | 745 mm |
| Depth | 515 mm |
9.2 Bypass diameters
| BURNER | Ø BYPASS 1/100 mm |
| Multi Crown | 57 |
| Semi-rapid | 35 |
| Auxiliary | 28 |
9.3 Other technical data
| TOTAL POWER: | Gas original: | G20 (2H) 20 bar | 10,55 kW |
| Gas replacement: | G30 (3+) 28-30 bar | 766 g/h | |
| G31 (3+) 37 bar | 754 g/h | ||
| Electric supply: | 220-240 V ~ 50-60 Hz | ||
| Appliance category: | II2H3+ | ||
| Gas connection: | G 1/2″ | ||
| Appliance class: | 3 | ||
9.4 Gas burners for NATURAL GAS G20 20 mbar
| BURNER | NORMAL POWER kW | MINIMUM POWER kW | INJECTOR MARK |
| Multi Crown | 4,0 | 1,4 | 146 |
| Semi-rapid | 1,85 | 0,6 | 92 |
| Auxiliary | 1,0 | 0,33 | 70 |
9.5 Gas burners for LPG G30/G31 28-30/37 member
| BURNER | NORMAL POWER kW | MINIMUM POWER kW | INJECTOR MARK | NOMINAL GAS FLOW g/h | |
| G30 28-30 mbar | G31 37 mbar
| ||||
| Multi Crown | 3,55 | 1,4 | 095 | 258 | 254 |
| Semi-rapid | 2,0 | 0,6 | 71 | 145 | 143 |
| Auxiliary | 1,0 | 0,33 | 50 | 73 | 71 |
ENERGY EFFICIENCY
10.1 Product information according to EU 66/2014
| Model identification | HGB75301UM |
| Type of hob | Built-in hob |
| Number of gas burners | 5 |
| Energy efficiency per gas burner (EE gas burner) | Left rear – Semi-rapid | 57.1% |
| Right rear – Semi-rapid | 57.1% | |
| Centre middle – Multi Crown | 59.8% | |
| Left front – Semi-rapid | 60.5% | |
| Right front – Auxiliary | not applicable | |
| Energy efficiency for the gas hob (EE gas hob) | 58.6% |
EN 30-2-1: Domestic cooking appliances burning gas – Part 2-1: Rational use of energy – General
10.2 Energy saving
- Before use, make sure that the burners and pan supports are assembled correctly.
- Use cookware with diameters applicable to the size of burners.
- Center the pot on the burner.
- When you heat up water, use only the amount you need.
- If it is possible, always put the lids on the cookware.
- When the liquid starts to boil, turn down the flame to barely simmer the liquid.
- If it is possible, use a pressure cooker. Refer to its user manual.
ENVIRONMENTAL CONCERNS
Recycle materials with the symbol
.
Put the packaging in relevant containers to recycle it. Help protect the environment and human health by recycling waste of electrical and electronic appliances. Do not dispose of appliances marked with the symbol
with the household waste. Return the product to your local recycling facility or
contact your municipal office.
Electrolux Appliances AB – Contact Address:

www.aeg.com/shop
867356160-C-252021![]()

































