USER MANUAL

Skullcandy Sesh / Sesh XT
Auto Pair Mode

Auto Power- On

Auto Power- Off

Charge Earbuds

Charge Case

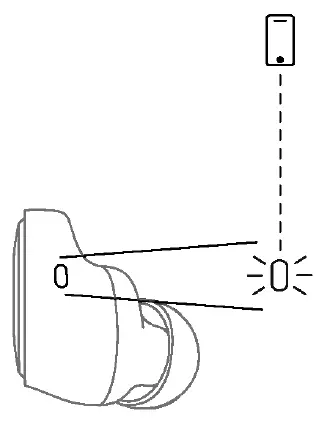
Pairing Mode
*Off Mode

Pair New Device
“Sesh/SeshXT”

Power-On

Power-Off

Play/Pause

Track Forward

Track Back

Volume Up

Volume Down

Answer/End

Activate Voice Assistant

Clear Paired Device

Questions Visit: www.skullcandy.com
- Speaker Driver: 6mm,
- Impedance: 16 Ohms, THD <3%@1 KHz,
- Voltage Regulation:fN, SOOmA., Bluetooth® 5.0,
- Frequency Band: 2402MHz-2480Ml-lz,
- Maximum Power:<4dBm, Weight: 59.5g.
Skullcandy@ and other marks are registered trademarks of Skullcandy. Inc. All rights reserved.
Maximum operating temperature 48C
FCC Compliance Statement
This device complies with Part 15 of the FCC Rules. Operation is subject to the following two conditions:
(1) this device may not cause harmful interference, and
(2) this device must accept any interference received, including interference that may cause undesired operation. Changes or modifications not expressly approved by the party responsible for compliance could void the user’s authority to operate the equipment.
This equipment has been tested and found to comply with the limits for a Class B digital device, pursuant to Part 15 of the FCC Rules. These limits are designed to provide reasonable protection against harmful interference in a residential installation. This equipment generates, uses and can radiate radio frequency energy and, if not installed and used in accordance wtth the instructions, may cause harmful interference to radio communications. However, there is no guarantee that interference will not occur in a particular installation. If this equipment does cause harmful interference to radio or television reception, which can be determined by turning the equipment off and on, the user is encouraged to try to correct the interference by one or more of the following measures:
- Reorient or relocate the receiving antenna.
- Increase the separation between the equipment and receiver.
- Connect the equipment into an outlet on a circuit different from that to which the receiver is connected.
- Consult the dealer or an experienced radionv technician for help.
ISED Compliance Statement
This device contains licence-exempt transmitter(s)/receiver(s) that comply with Innovation, Science and Economic Development Canada’s licence-exempt RSS(s). Operation is subject to the following two conditions:
(1 )This device may not cause interference.
(2)This device must accept any interference, including interference that may cause undesired operation of the device.
This equipment complies with FCC/ IC RSS-102 radiation exposure limits set forth for an uncontrolled environment. This transmitter must not be co-located or operating in conjunction with any other antenna or transmitter.
Skullcandy-Sesh-Sesh-XT-Manual-Optimized
Skullcandy-Sesh-Sesh-XT-Manual-Original
Skullcandy Sesh-Manual-Original
Questions about your Manual? Post in the comments!



















